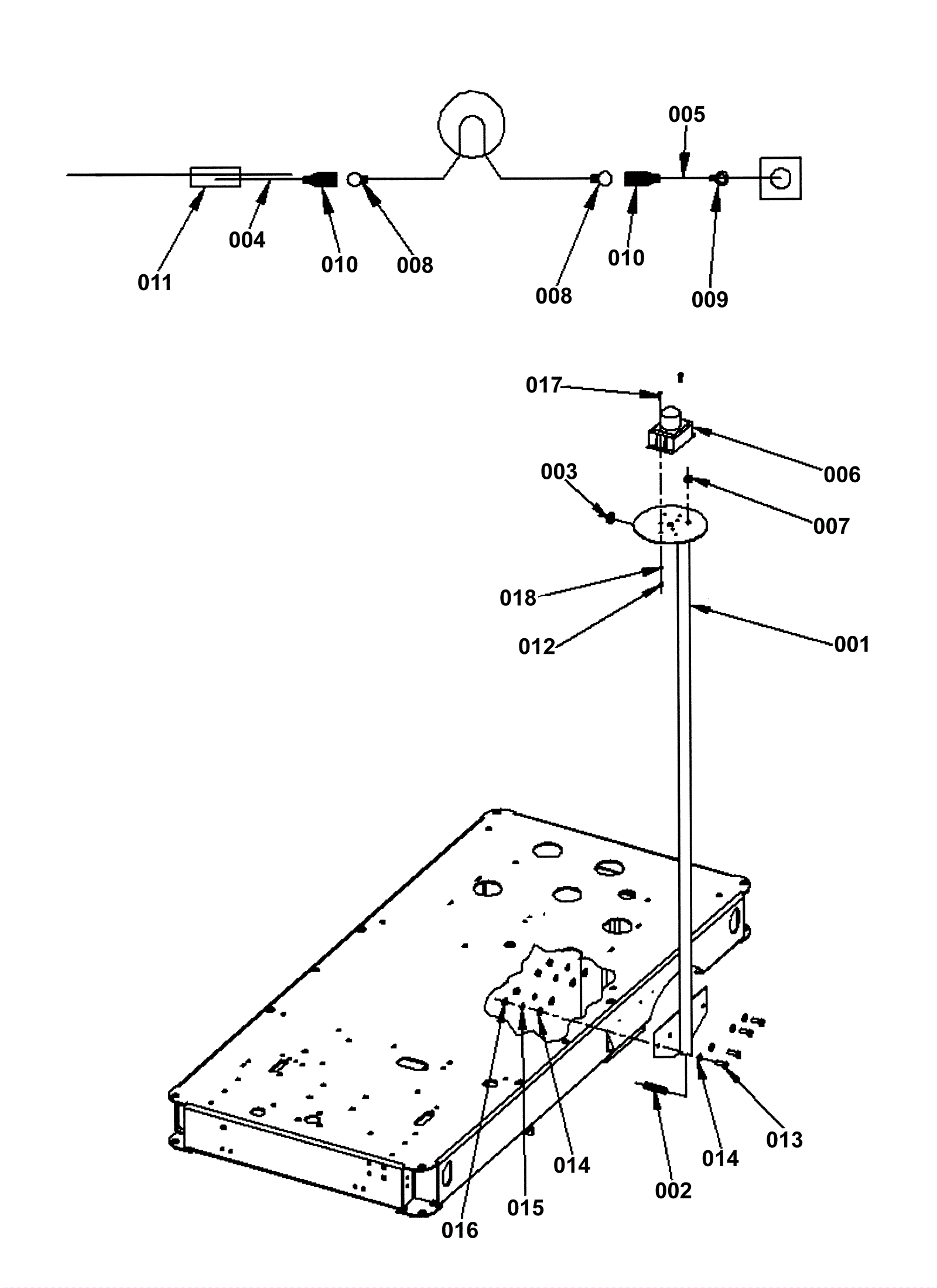
| # | Part | Description | Price | Req | Notes | Availability |
001 |
170-8412
|
Warning light support (OBSOLETE) |
$294.07
|
1 |
|
usually ships 13-18 days |
002 |
170-7617
|
Convoluted tube |
$11.99
|
|
|
usually ships 1-5 days |
003 |
170-8413
|
Grommet |
$13.17
|
1 |
|
usually ships 1-5 days |
004 |
170-6641
|
Wire 16 awg |
$15.07
|
10 ft |
|
usually ships 1-5 days |
005 |
170-6643
|
Wire 16 awg |
$11.99
|
10 ft |
|
usually ships 1-5 days |
006a |
170-7618
|
Red strobe light (OBSOLETE) |
$267.30
|
1 |
|
usually ships 1-5 days |
006b |
170-7619
|
Amber strobe light |
$369.60
|
1 |
|
usually ships 1-5 days |
007 |
170-6807
|
Grommet |
$12.31
|
1 |
|
usually ships 1-5 days |
008 |
170-6637
|
Male bullet terminal |
$13.76
|
2 |
|
usually ships 1-5 days |
009 |
170-6765
|
Terminal |
$13.76
|
1 |
|
usually ships 1-5 days |
010 |
170-6642
|
Female bullet terminal |
$12.31
|
2 |
|
usually ships 1-5 days |
011 |
170-6769
|
Terminal wire |
$12.31
|
1 |
|
usually ships 1-5 days |
012 |
170-6741
|
Nut 10-24 x 3/8 x 1/8 hex machine |
$12.31
|
2 |
|
usually ships 1-5 days |
014 |
170-6782
|
Washer 3/4 x 25/64 x 3/32 flat |
$12.31
|
8 |
|
usually ships 13-18 days |
015 |
170-6752
|
Washer 3/8 lock split plated |
$12.31
|
4 |
|
usually ships 1-5 days |
016 |
999-0635
|
Nut 3/8-16 hex stainless steel |
$0.99
|
4 |
|
ships same day |
017 |
999-0619
|
Screw 10-24 x 3/4 truss head slotted stainless steel |
$0.99
|
2 |
|
ships same day |
018 |
170-6836
|
Washer lock |
$13.76
|
2 |
|
usually ships 1-5 days |