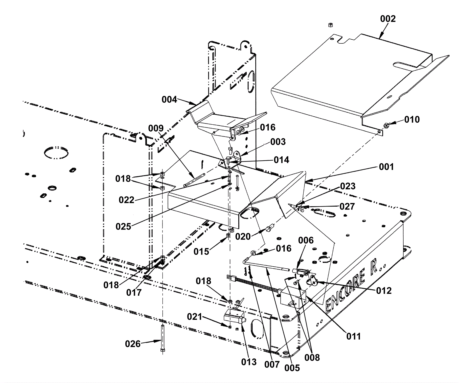
| # | Part | Description | Price | Req | Notes | Availability |
001 |
170-7777
|
Foward and reverse pedal support (OBSOLETE) |
Call for price
|
1 |
|
usually ships 1-5 days |
002 |
170-7778
|
Floor panel (OBSOLETE) |
$83.16
|
1 |
|
usually ships 1-5 days |
003 |
170-7779
|
Foward and Reverse pedal pivot (OBSOLETE) |
$30.29
|
1 |
|
usually ships 1-5 days |
004 |
170-7780
|
Foward and reverse pedal (OBSOLETE) |
$35.05
|
1 |
|
usually ships 13-18 days |
005 |
170-7781
|
Potentiometer link (OBSOLETE) |
$21.03
|
1 |
|
usually ships 13-18 days |
006 |
272-5631
|
Clevis |
$37.27
|
1 |
|
usually ships 1-5 days |
007 |
170-7782
|
Cotter hair pin (OBSOLETE) |
$9.27
|
3 |
|
usually ships 1-5 days |
008 |
170-6784
|
Yoke pin assembly |
$11.35
|
1 |
|
usually ships 1-5 days |
009 |
170-7783
|
Foot pedal pin (OBSOLETE) |
$24.95
|
1 |
|
usually ships 1-5 days |
010 |
999-0188
|
Nut 3/8-16 nylon insert lock zinc plated |
$0.99
|
1 |
|
ships same day |
011 |
170-7784
|
Foward and reverse controller (OBSOLETE) |
$534.93
|
1 |
|
usually ships 13-18 days |
012 |
170-7785
|
Foward and reverse controller arm (OBSOLETE) |
Call for price
|
1 |
|
usually ships 1-5 days |
013 |
170-7699
|
Terminal |
$216.63
|
1 |
|
usually ships 13-18 days |
014 |
999-0020
|
Bolt 1/4-20 x 3/4 hex head grade 5 zinc plated |
$0.99
|
2 |
|
ships same day |
015 |
999-0294
|
Nut 1/4-20 hex nylon lock type NE stainless steel |
$1.18
|
2 |
|
ships same day |
016 |
999-0016
|
Washer 1/4 flat plain finish |
$0.99
|
3 |
|
ships same day |
017 |
170-6686
|
Washer 5/16 lock |
$11.35
|
2 |
|
usually ships 13-18 days |
018 |
999-0069
|
Nut 5/16-18 hex |
$0.99
|
6 |
|
ships same day |
021 |
170-7701
|
Nut 38-32 fiber insert, steel |
$12.89
|
2 |
|
usually ships 1-5 days |
022 |
170-7702
|
Screw 8 - 32 x 1.5 RHM |
$13.78
|
2 |
|
usually ships 1-5 days |
023 |
170-6836
|
Washer lock |
$14.41
|
2 |
|
usually ships 1-5 days |
024 |
999-0181
|
Nut 1/4-20 hex jam plain finish |
$0.99
|
2 |
|
ships same day |
025 |
170-7582
|
Washer 7/16 x 3/16 x 1/32 flat |
$14.41
|
2 |
|
usually ships 1-5 days |
026 |
999-1834
|
Bolt 5/16-18 x 3 1/2 hex cap zinc |
$1.38
|
2 |
|
usually ships 1-5 days |
027 |
999-0068
|
Screw 10-32 x 1/4 round head slotted zinc plated |
$0.99
|
2 |
|
ships same day |
N/S |
372-2116
|
Screw 3/8-16 x 3/4 hex head |
$12.89
|
1 |
|
usually ships 13-18 days |