| # | Part | Description | Price | Req | Notes | Availability |
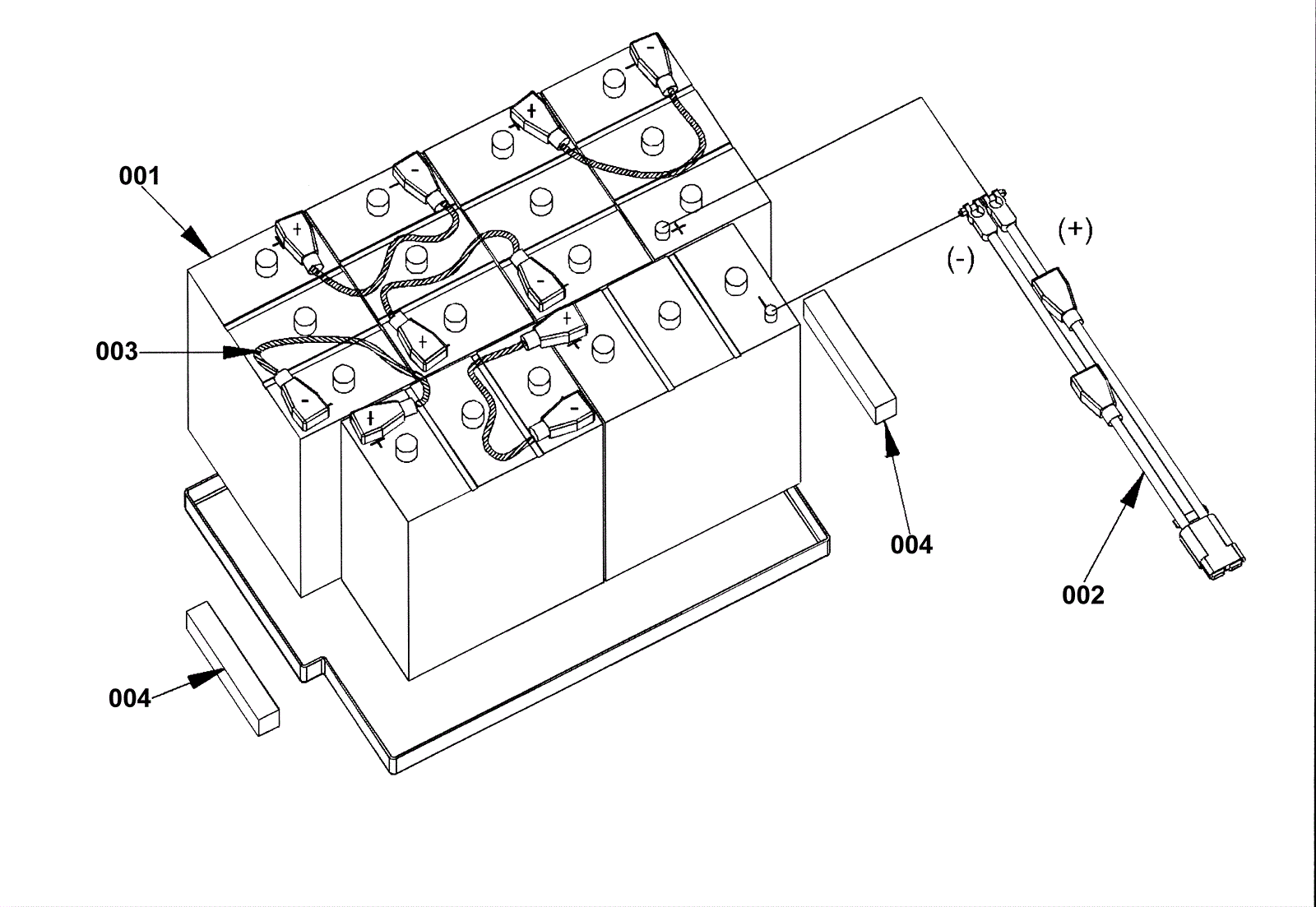
002 |
170-6649
|
Connector assembly |
$176.00
|
1 |
|
usually ships 1-5 days |
003 |
170-6650
|
Battery connectors |
$46.75
|
5 |
|
usually ships 1-5 days |
004 |
170-7703
|
Battery pan 6V spacer (OBSOLETE) |
$28.71
|
2 |
|
usually ships 1-5 days |
001 |
162-0005
|
6V 305Ah wet battery (SNSR) |
$412.50
|
6 |
|
ships same day |