| # | Part | Description | Price | Req | Notes | Availability |
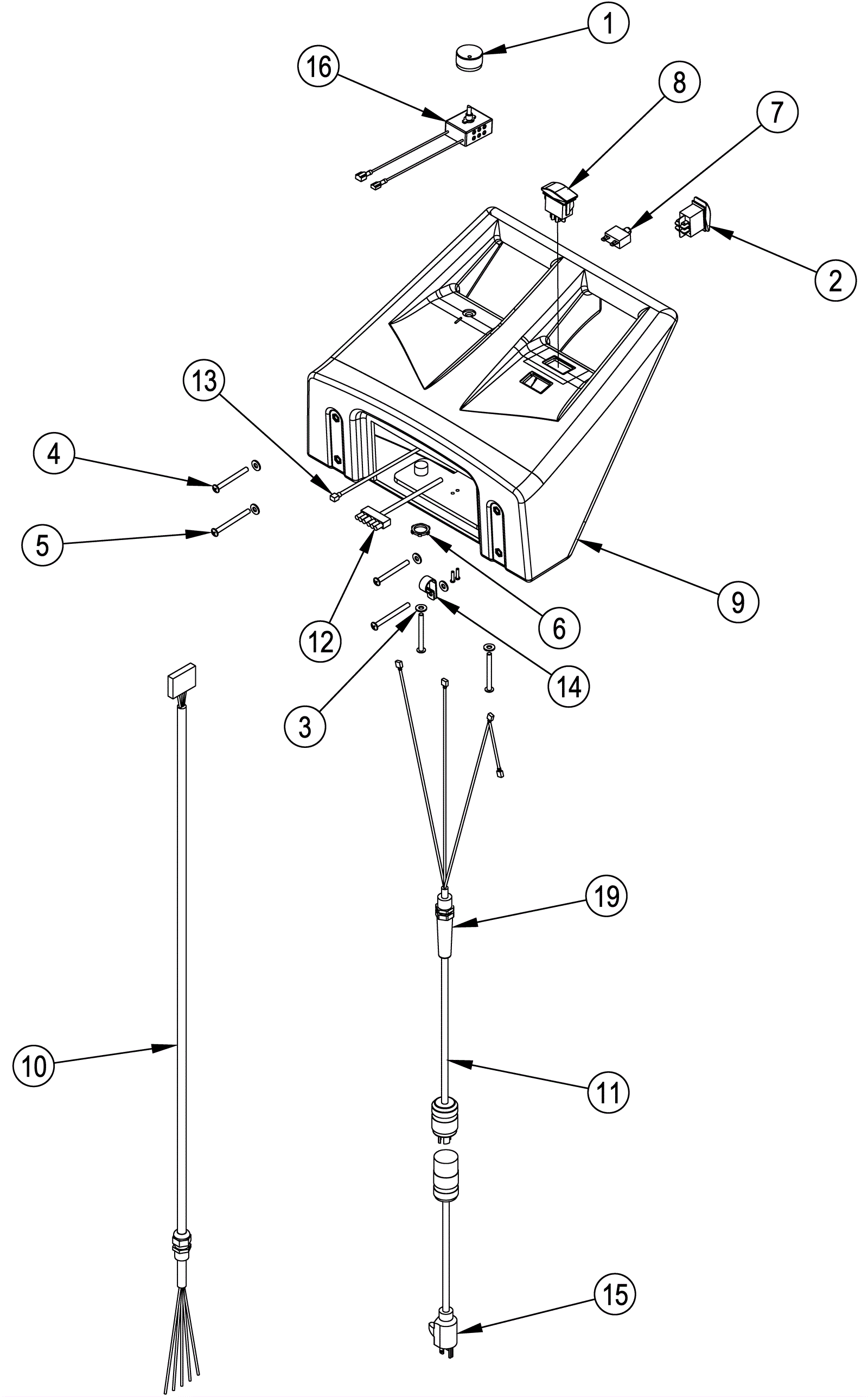
1 |
170-8261
|
Knob solution flow module (OBSOLETE) |
$34.66
|
1 |
(Clean Track 18 Wash & Rinse) |
usually ships 13-18 days |
2 |
172-2157
|
Rocker switch DPDT |
$86.94
|
1 |
|
usually ships 13-18 days |
3 |
206-4820
|
Washer |
$3.14
|
6 |
|
usually ships 13-21 days |
4 |
999-0610
|
Screw 1/4-20 x 2 1/2 pan head phillips stainless steel |
$0.99
|
4 |
|
ships same day |
5 |
999-9136
|
Screw 1/4-20 x 2 3/4 pan head phillips stainless steel |
$2.00
|
2 |
|
usually ships 1-5 days |
6 |
172-4536
|
Nut 1/2-14 conduit lock |
$14.18
|
1 |
|
usually ships 13-18 days |
7 |
170-5173
|
Circuit breaker |
$14.41
|
1 |
|
usually ships 13-18 days |
8 |
181-1079
|
Rocker switch |
$62.89
|
1 |
|
usually ships 13-18 days |
9 |
170-2944
|
Handle |
$196.37
|
1 |
|
usually ships 1-5 days |
10 |
170-2945
|
Main cable assembly |
$164.00
|
1 |
|
usually ships 1-5 days |
11a |
170-2946
|
Pigtail cord (OBSOLETE) |
$42.19
|
1 |
(Clean Track 18 Wash & Rinse) |
usually ships 1-5 days |
11b |
272-0494
|
14/3 power cord 50 foot |
$169.95
|
1 |
(Clean Track 16 & 18) |
usually ships 13-18 days |
12 |
170-2947
|
Handle wiring assembly |
$48.82
|
1 |
|
usually ships 1-5 days |
13 |
N/A
|
Not available |
Call for price
|
1 |
(Wire assembly) |
usually ships 3-26 days |
14 |
172-2122
|
P clamp |
$12.89
|
1 |
|
usually ships 13-18 days |
15 |
170-2948
|
Power cord assembly (OBSOLETE) |
$192.02
|
1 |
(Clean Track 18 Wash & Rinse) |
usually ships 13-18 days |
16 |
170-1465
|
Variable speed control (OBSOLETE) |
$190.08
|
1 |
(Clean Track 18 Wash & Rinse) |
usually ships 13-18 days |
19 |
170-5174
|
Strain relief |
$25.75
|
1 |
|
usually ships 13-18 days |
N/S |
170-5175
|
Handle assembly hardware kit |
$13.22
|
1 |
|
usually ships 1-5 days |