| # | Part | Description | Price | Req | Notes | Availability |
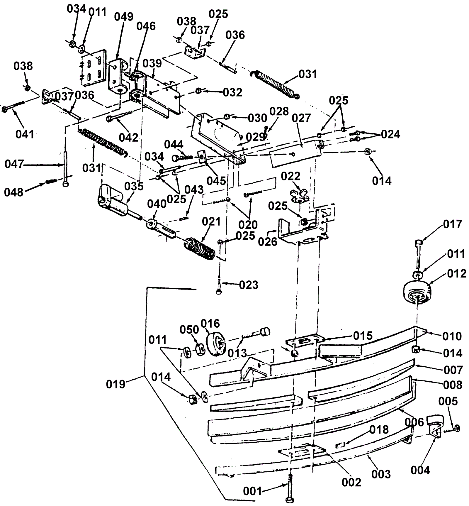
001 |
999-0887
|
Bolt 3/8-16 x 3 hex head hot dipped galvanized |
$2.82
|
2 |
|
ships same day |
002 |
170-7126
|
Air duct (OBSOLETE) |
$176.24
|
1 |
|
usually ships 13-18 days |
003a |
170-0148
|
Clamp weldment |
$112.06
|
1 |
|
usually ships 1-5 days |
003b |
170-0149
|
Squeegee clamp weldment |
$107.25
|
1 |
|
usually ships 1-5 days |
004 |
170-0150
|
End clamp (OBSOLETE) |
$51.28
|
2 |
|
usually ships 13-18 days |
005 |
999-0506
|
Bolt 1/4-20 x 1 1/2 hex head stainless steel |
$1.28
|
2 |
|
ships same day |
006a |
170-0152
|
Squeegee blade 38 1/4 inch gum rubber rear (tan) |
$51.96
|
1 |
|
usually ships 13-18 days |
006b |
170-0153
|
Squeegee blade rear tan 28.12 inch |
$34.23
|
1 |
|
usually ships 13-18 days |
007a |
170-0155
|
28 inch spacer |
$194.27
|
2 |
|
usually ships 13-18 days |
007b |
170-0156
|
Spacer 29 inch |
$229.25
|
2 |
|
usually ships 1-5 days |
008a |
170-0158
|
Squeegee blade 35 7/8 inch gum rubber front (black) |
$37.27
|
1 |
(OEM) |
usually ships 13-18 days |
008b |
994-0015
|
Squeegee blade 36 inch gum rubber front (black) |
$12.58
|
1 |
(NON-OEM) |
ships same day |
008c |
170-0159
|
Squeegee blade front notched black 25 8/9 inch |
$38.79
|
1 |
|
usually ships 13-18 days |
009 |
999-0628
|
Nut 3/8-16 hex jam stainless steel |
$0.99
|
4 |
|
ships same day |
010a |
170-0161
|
Squeegee weldment |
$523.14
|
1 |
|
usually ships 1-5 days |
010b |
170-0162
|
Squeegee weldment 29 inch |
$273.28
|
1 |
|
usually ships 1-5 days |
011 |
170-0304
|
Washer 15/32 x 1/32 |
$14.41
|
11 |
|
usually ships 1-5 days |
012 |
170-0163
|
Guide wheel |
$40.16
|
2 |
|
ships same day |
013 |
999-0550
|
Bolt 3/8-16 x 2 hex head stainless steel |
$2.95
|
2 |
|
ships same day |
014 |
999-0188
|
Nut 3/8-16 nylon insert lock zinc plated |
$0.99
|
5 |
|
ships same day |
015 |
170-0164
|
Gasket |
$11.35
|
1 |
|
usually ships 13-18 days |
016 |
170-0165
|
Wheel (OBSOLETE) |
$16.50
|
2 |
|
usually ships 13-18 days |
017 |
999-1079
|
Bolt 3/8-16 x 2 1/4 hex head grade 5 zinc plated |
$0.99
|
2 |
|
ships same day |
018 |
170-0166
|
Squeegee gripping pad |
$8.03
|
1 |
|
usually ships 13-18 days |
019a |
170-0168
|
Squeegee assembly (OBSOLETE) |
$757.79
|
1 |
Vision 26IX |
usually ships 1-5 days |
019b |
170-0169
|
Squeegee assembly |
$664.07
|
1 |
Vision 26 |
usually ships 1-5 days |
020 |
999-0625
|
Screw 1/4-20 x 1 1/4 pan head phillips stainless steel |
$1.07
|
|
|
ships same day |
021 |
170-8047
|
Gasket (OBSOLETE) |
$14.38
|
1 |
|
usually ships 1-5 days |
022 |
170-0171
|
Knob |
$34.00
|
2 |
|
ships same day |
023 |
999-0761
|
Screw 1/4-20 x 2 flat head phillips zinc plated |
$0.99
|
1 |
|
ships same day |
024 |
999-0334
|
Bolt 1/4-20 x 3/4 inch hex head stainless steel |
$3.85
|
4 |
|
usually ships 16-20 days |
025 |
999-0294
|
Nut 1/4-20 hex nylon lock type NE stainless steel |
$1.18
|
10 |
|
ships same day |
026 |
170-0172
|
Tube bracket (OBSOLETE) |
$156.64
|
1 |
|
usually ships 13-18 days |
027 |
170-7118
|
Squeegee mounting bracket |
$180.87
|
1 |
|
usually ships 13-18 days |
028 |
170-0135
|
Cotter pin (OBSOLETE) |
$11.99
|
1 |
|
usually ships 13-18 days |
029 |
170-0174
|
Rear arm weldment (OBSOLETE) |
$79.00
|
1 |
|
usually ships 1-5 days |
030 |
999-0062
|
Nut 10-24 hex |
$0.99
|
2 |
|
ships same day |
031 |
170-0175
|
Pressure spring (OBSOLETE) |
$41.84
|
2 |
|
usually ships 13-18 days |
032 |
999-0211
|
Nut 5/16-18 hex nylon insert lock zinc plated |
$0.99
|
5 |
|
ships same day |
033 |
999-0255
|
Screw 10-24 x 3 1/2 flat head slotted zinc plated |
$0.99
|
1 |
|
ships same day |
034 |
170-0140
|
Squeegee actuator pin |
$10.52
|
1 |
|
usually ships 1-5 days |
035 |
170-0176
|
Squeegee lift actuator |
$863.25
|
1 |
|
usually ships 1-5 days |
036 |
170-0177
|
Squeegee adjustment stud |
$28.46
|
2 |
|
usually ships 1-5 days |
037 |
170-0178
|
Bracket |
$144.86
|
2 |
|
usually ships 1-5 days |
038 |
999-0069
|
Nut 5/16-18 hex |
$0.99
|
2 |
|
ships same day |
039 |
170-0179
|
Front arm weldment |
$121.00
|
1 |
|
usually ships 1-5 days |
040 |
170-2393
|
Shaft floor roller (OBSOLETE) |
$131.27
|
1 |
|
usually ships 1-5 days |
041 |
999-0683
|
Bolt 1/4-20 x 3 hex head grade 5 zinc plated |
$1.05
|
1 |
|
ships same day |
042 |
170-2069
|
Screw 3/8-16 x 2 shoulder |
$11.75
|
1 |
|
usually ships 1-5 days |
043 |
170-0181
|
Pin sleeve |
$10.52
|
1 |
|
usually ships 1-5 days |
044 |
999-0562
|
Bolt 3/8-16 x 1 hex head stainless steel |
$1.50
|
1 |
|
ships same day |
046 |
999-0132
|
Bolt 5/16-18 x 3/4 hex head grade 5 zinc plated |
$2.64
|
2 |
|
ships same day |
047 |
170-0145
|
Clevis pin |
$11.99
|
1 |
|
usually ships 13-18 days |
048 |
170-0135
|
Cotter pin (OBSOLETE) |
$11.99
|
|
|
usually ships 13-18 days |
049 |
170-0704
|
Pivot arm (OBSOLETE) |
$32.79
|
|
|
usually ships 1-5 days |
050 |
999-0635
|
Nut 3/8-16 hex stainless steel |
$0.99
|
|
|
ships same day |