| # | Part | Description | Price | Req | Notes | Availability |
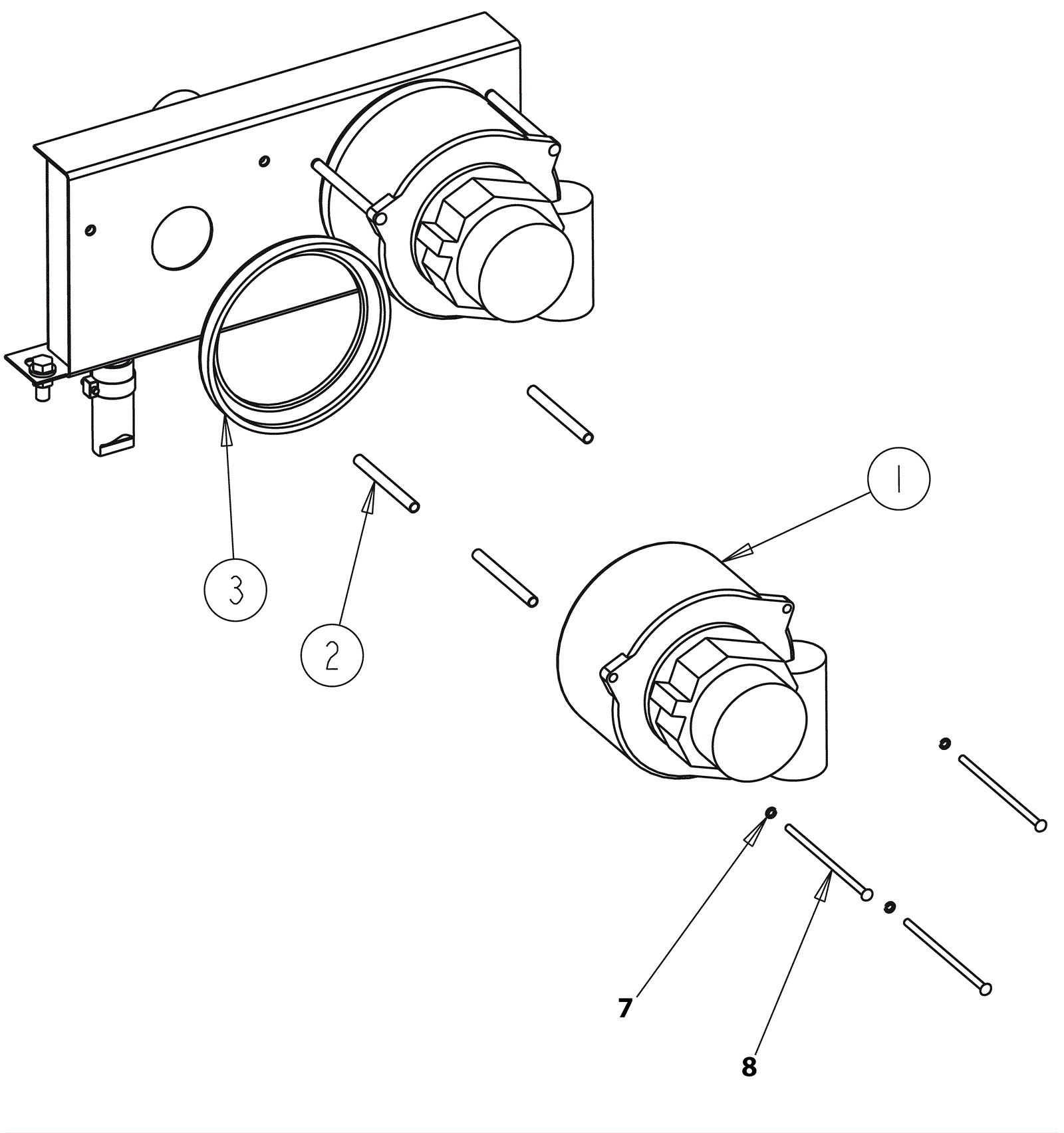
1a |
270-0102
|
36V 3 stage vacuum motor |
$288.88
|
1 |
|
usually ships 13-18 days |
1b |
172-8488
|
Carbon brush set (pkg of 2) |
$41.97
|
2 |
(motor brushes) |
ships same day |
1c |
991-1222
|
Plastic covered carbon brush (sold individually) |
$12.59
|
1 |
(NON-OEM) |
ships same day |
1d |
991-1202
|
36V 3 stage vacuum motor tangential |
$127.10
|
1 |
(NON-OEM) |
ships same day |
2 |
170-7755
|
Spacer |
$23.77
|
3 |
|
usually ships 1-5 days |
3 |
170-6719
|
Vacuum fan gasket (OBSOLETE) |
$32.26
|
1 |
|
usually ships 13-18 days |
7 |
170-6726
|
Washer lock |
$12.89
|
3 |
|
usually ships 1-5 days |
8 |
170-7759
|
Screw 25-20 x 4 round head machine, zinc |
$9.89
|
3 |
|
usually ships 1-5 days |
N/S |
170-7756
|
Circuit breaker 50A |
$115.52
|
1 |
|
usually ships 1-5 days |
N/S |
998-0062
|
Wire nut (blue) |
$0.99
|
2 |
|
ships same day |
N/S |
170-7758
|
Terminal #10 ring (OBSOLETE) |
$6.29
|
2 |
|
usually ships 1-5 days |