| # | Part | Description | Price | Req | Notes | Availability |
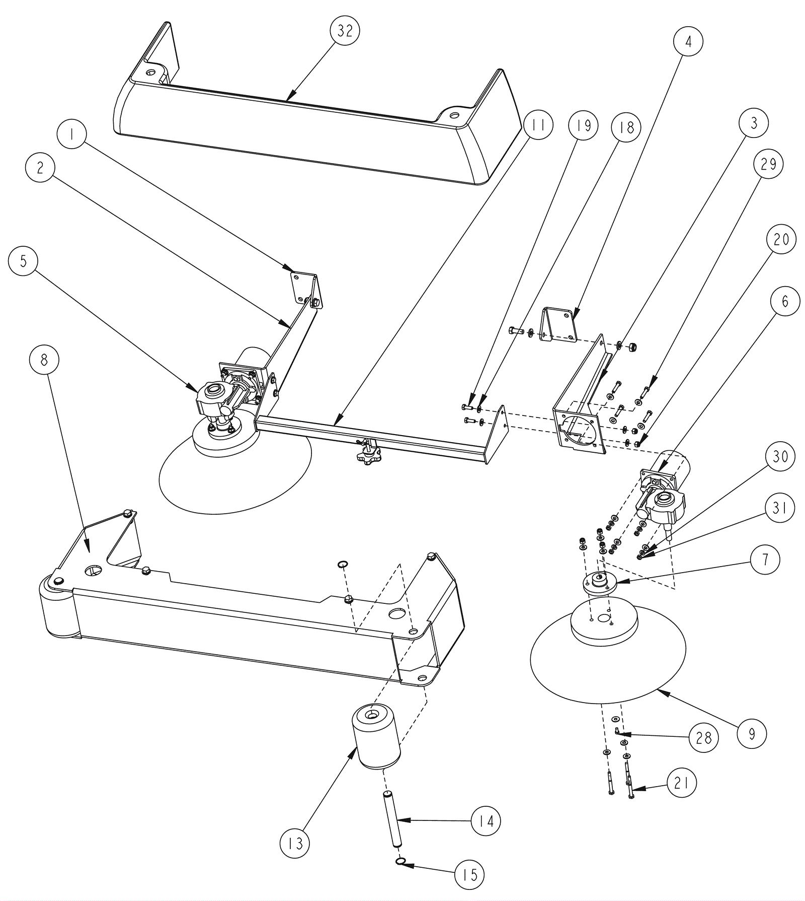
1 |
370-2828
|
BRACKET SIDE BROOM SC5730 (OBSOLETE) |
$24.64
|
1 |
|
usually ships 13-18 days |
2 |
370-2654
|
ARM SIDE BROOM RIGHT SC5730 (OBSOLETE) |
$162.80
|
1 |
|
usually ships 13-18 days |
3 |
370-2655
|
ARM SIDE BROOM LEFT SC5730 (OBSOLETE) |
$89.87
|
1 |
|
usually ships 13-18 days |
4 |
370-2829
|
BRACKET SIDE BROOM SC5730 (OBSOLETE) |
$70.51
|
1 |
|
usually ships 13-18 days |
5 |
170-9410
|
Right hand gear motor (OBSOLETE) |
Call for price
|
1 |
|
usually ships 13-18 days |
6 |
370-0372
|
MOTOR GEAR LH (OBSOLETE) |
$409.64
|
1 |
|
usually ships 13-18 days |
7 |
170-9411
|
Side broom adapter (OBSOLETE) |
Call for price
|
2 |
|
usually ships 13-18 days |
8 |
370-2959
|
BUMPER SB OPTION SC5730 (OBSOLETE) |
$589.16
|
1 |
|
usually ships 13-18 days |
9 |
370-2948
|
BRUSH-CORNER |
$436.92
|
2 |
|
usually ships 13-18 days |
11 |
370-2687
|
BAR SIDE BROOM SB OPTION (OBSOLETE) |
$152.24
|
1 |
|
usually ships 13-18 days |
13 |
170-7845
|
Roller bumper |
$187.00
|
2 |
|
usually ships 1-5 days |
14 |
170-7846
|
Roller bumper pin |
$14.47
|
2 |
|
usually ships 1-5 days |
15 |
170-7851
|
Retaining ring |
$10.52
|
4 |
|
usually ships 1-5 days |
18 |
999-0016
|
Washer 1/4 flat plain finish |
$0.99
|
42 |
|
ships same day |
19 |
999-0020
|
Bolt 1/4-20 x 3/4 hex head grade 5 zinc plated |
$0.99
|
5 |
|
ships same day |
20 |
999-0294
|
Nut 1/4-20 hex nylon lock type NE stainless steel |
$1.18
|
13 |
|
ships same day |
21 |
170-8245
|
Screw 1/4 - 20 x 2 1/4 hex head cap |
$12.89
|
6 |
|
usually ships 1-5 days |
28 |
370-1245
|
SCREW-HHC M5 X 0.8 X 16MM |
$8.80
|
2 |
|
usually ships 13-18 days |
29 |
370-1426
|
SCREW M6 X 1 X 30 HHCS |
$8.80
|
8 |
|
usually ships 13-18 days |
30 |
999-0060
|
Washer 1/4 split lock plain finish |
$0.99
|
8 |
|
ships same day |
31 |
170-6972
|
Nut M6 x 1 |
$8.80
|
8 |
|
usually ships 1-5 days |
32 |
170-9412
|
Bumper (OBSOLETE) |
Call for price
|
1 |
|
usually ships 13-18 days |