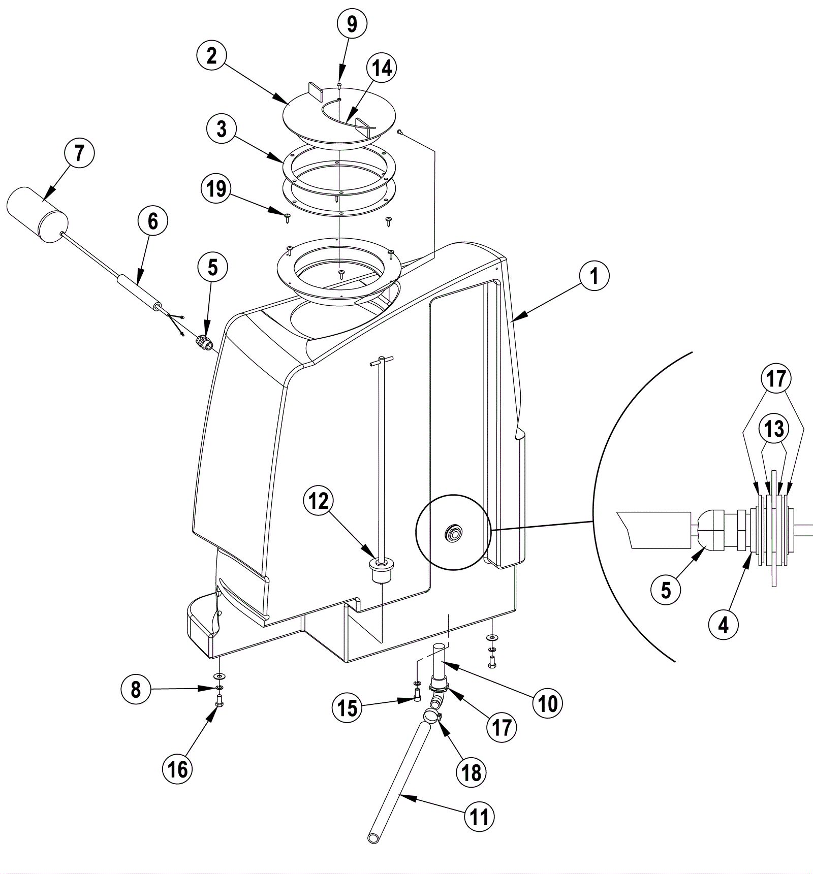
| # | Part | Description | Price | Req | Notes | Availability |
1a |
170-8355
|
Solution tank |
$858.00
|
1 |
(when replacing must order 1b) |
usually ships 1-5 days |
1b |
370-2667
|
GRAPHIC MOLD-ON L. CLARKE |
$10.01
|
1 |
|
usually ships 13-18 days |
2 |
170-8912
|
Tank access cover (OBSOLETE) |
$110.99
|
1 |
|
usually ships 13-18 days |
3 |
370-3567
|
GASKET-TANK LID ENCORE (OBSOLETE) |
$22.33
|
2 |
|
usually ships 13-18 days |
4 |
170-6985
|
Bulk head fitting |
$79.75
|
1 |
|
usually ships 1-5 days |
5 |
170-6986
|
Float switch bushing |
$30.80
|
1 |
|
usually ships 1-5 days |
6 |
170-8356
|
Float switch tube |
$29.16
|
1 |
|
usually ships 1-5 days |
7 |
170-8357
|
Float switch |
$132.00
|
1 |
|
usually ships 1-5 days |
8 |
170-6752
|
Washer 3/8 lock split plated |
$12.89
|
3 |
|
usually ships 1-5 days |
9 |
170-6924
|
Screw 10-16 x 1/2 |
$13.78
|
2 |
|
usually ships 1-5 days |
10 |
370-3399
|
FILTER SOLUTION |
$74.78
|
1 |
|
usually ships 13-18 days |
11 |
370-3705
|
HOSE-VALVE TO SPRAY BAR |
$12.60
|
1 |
|
usually ships 13-18 days |
12 |
170-8916
|
Drain plug |
$297.34
|
1 |
|
ships same day |
13 |
370-3544
|
GASKET-BLK. NEOPRENE |
$9.35
|
2 |
|
usually ships 13-18 days |
14 |
172-2474
|
8 inch chain |
$11.35
|
1 |
|
usually ships 13-18 days |
15 |
999-0600
|
Screw 3/8-16 x 1/4 socket head shoulder stainless steel |
$16.19
|
1 |
|
ships same day |
16 |
372-2116
|
Screw 3/8-16 x 3/4 hex head |
$12.89
|
2 |
|
usually ships 13-18 days |
17 |
472-3528
|
WASHER 1.130X1.625X.06 SST |
$8.03
|
3 |
|
usually ships 13-18 days |
18 |
170-7690
|
Hose clamp 13/16 x 1 1/2 |
$11.99
|
1 |
|
usually ships 1-5 days |
19 |
170-8361
|
Screw #8 - 15 x 3/4 |
$12.89
|
6 |
|
usually ships 1-5 days |