| # | Part | Description | Price | Req | Notes | Availability |
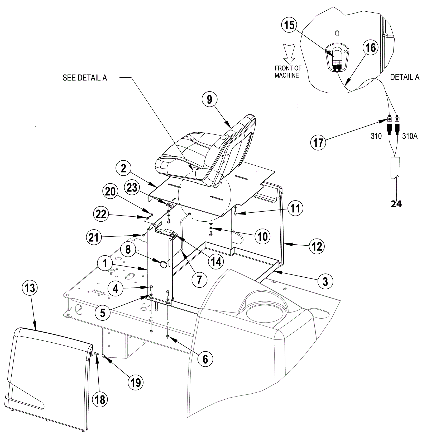
1 |
370-4103
|
PANEL-SEAT WELDMENT |
$282.37
|
1 |
|
usually ships 13-18 days |
2 |
370-3275
|
SEAT DECK WELDMENT (OBSOLETE) |
$202.07
|
1 |
|
usually ships 13-18 days |
3 |
170-8323
|
Battery pan (OBSOLETE) |
$167.09
|
1 |
|
usually ships 1-5 days |
4 |
999-0031
|
Bolt 5/16-18 x 1 hex head grade 5 zinc plated |
$0.99
|
4 |
|
ships same day |
5 |
999-0024
|
Washer 5/16 flat stainless steel |
$1.34
|
8 |
|
ships same day |
6 |
999-0211
|
Nut 5/16-18 hex nylon insert lock zinc plated |
$0.99
|
5 |
|
ships same day |
7 |
170-8324
|
Seat panel rod |
$62.70
|
1 |
|
usually ships 1-5 days |
8 |
170-7548
|
Knob |
$9.90
|
1 |
|
usually ships 1-5 days |
9 |
372-0045
|
Seat (OBSOLETE SEE REPLACEMENT OPTIONS) |
$291.50
|
1 |
|
usually ships 13-18 days |
10 |
170-6686
|
Washer 5/16 lock |
$11.35
|
4 |
|
usually ships 13-18 days |
11 |
999-0132
|
Bolt 5/16-18 x 3/4 hex head grade 5 zinc plated |
$2.64
|
4 |
|
ships same day |
12 |
170-8326
|
Righthand cover side |
$357.50
|
1 |
|
usually ships 1-5 days |
13 |
170-8327
|
Lefthand cover side |
$363.00
|
1 |
|
usually ships 1-5 days |
14 |
370-0400
|
HARNESS SCRUB DRIVE 5730 (OBSOLETE) |
$190.85
|
1 |
|
usually ships 13-18 days |
15 |
272-9417
|
Seat switch |
$24.09
|
1 |
|
usually ships 13-18 days |
16a |
170-9405
|
Wire harness (OBSOLETE) |
Call for price
|
1 |
|
usually ships 13-18 days |
16b |
170-7622
|
Wire tie tab |
$12.89
|
1 |
(use to hold 16a in place) |
usually ships 1-5 days |
17 |
170-6766
|
Terminal |
$12.89
|
1 |
|
usually ships 1-5 days |
18 |
999-0822
|
Screw 1/4-20 x 7/8 hex head plain finish |
$0.99
|
2 |
|
ships same day |
19 |
170-8330
|
Blower mounting spacing (OBSOLETE) |
$9.24
|
2 |
|
usually ships 1-5 days |
20 |
999-0136
|
Bolt 1/4-20 x 1 1/4 hex head grade 5 zinc plated |
$0.99
|
2 |
|
ships same day |
21 |
999-0294
|
Nut 1/4-20 hex nylon lock type NE stainless steel |
$1.18
|
2 |
|
ships same day |
22 |
170-6639
|
Nut 1/4-20 |
$15.17
|
2 |
|
usually ships 13-18 days |
23 |
372-3106
|
Clamp |
$6.51
|
1 |
(use existing hardware to fasten clamp, tap lightly with hammer to compress) |
usually ships 13-18 days |
24 |
370-0395
|
HARNESS MACHINE 5730 (OBSOLETE) |
$947.43
|
1 |
|
usually ships 13-18 days |