| # | Part | Description | Price | Req | Notes | Availability |
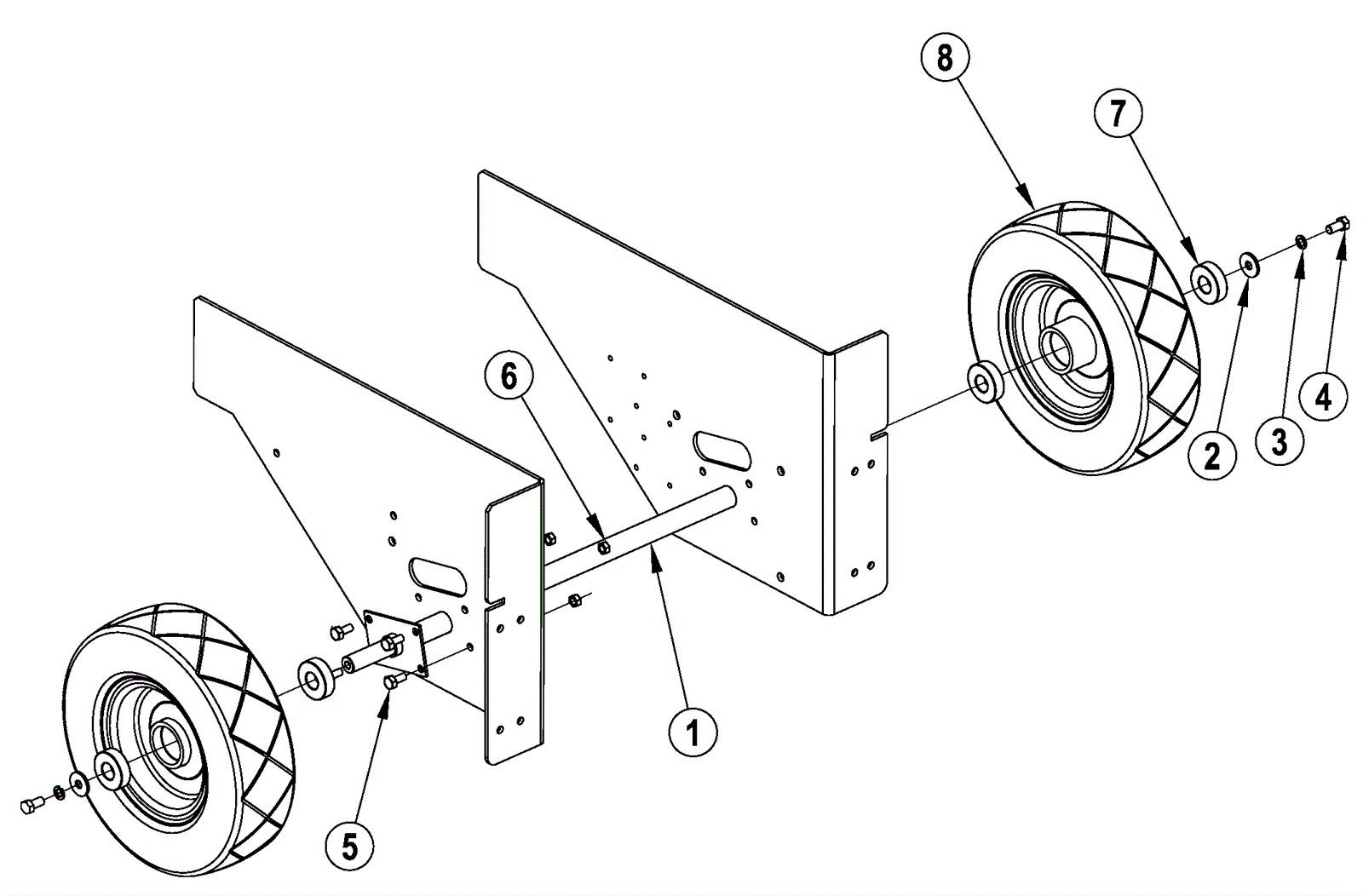
1 |
370-2665
|
AXLE-REAR WHEEL |
$154.00
|
1 |
|
usually ships 13-18 days |
2 |
170-6983
|
Washer 1 1/16 x 21/64 x 1/16 flat |
$12.89
|
2 |
|
usually ships 1-5 days |
3 |
170-6752
|
Washer 3/8 lock split plated |
$12.89
|
2 |
|
usually ships 1-5 days |
4 |
372-2116
|
Screw 3/8-16 x 3/4 hex head |
$12.89
|
2 |
|
usually ships 13-18 days |
5 |
999-0132
|
Bolt 5/16-18 x 3/4 hex head grade 5 zinc plated |
$2.64
|
4 |
|
ships same day |
6 |
999-0211
|
Nut 5/16-18 hex nylon insert lock zinc plated |
$0.99
|
4 |
|
ships same day |
7 |
370-0958
|
BEARING |
$14.72
|
4 |
|
usually ships 13-18 days |
8 |
370-4718
|
REAR WHEEL 5730 |
$157.74
|
2 |
|
usually ships 13-18 days |