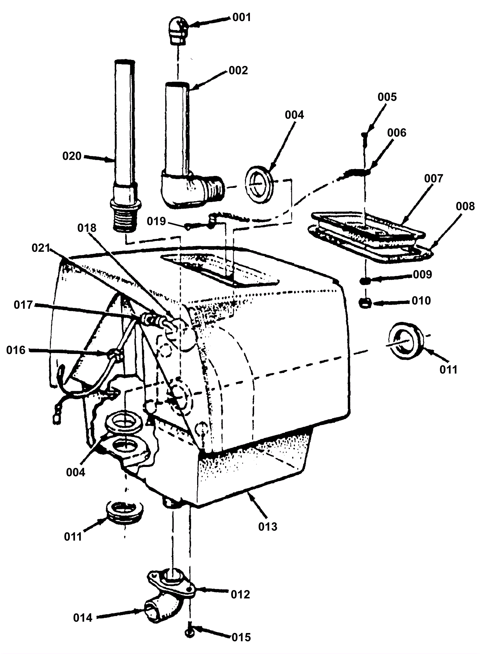
| # | Part | Description | Price | Req | Notes | Availability |
001 |
170-2149
|
Vacuum strainer |
$40.44
|
1 |
|
usually ships 1-5 days |
002 |
170-2150
|
Recovery Tube Stand (OBSOLETE) |
$19.05
|
1 |
|
usually ships 1-5 days |
004 |
170-0273
|
O-ring |
$8.03
|
2 |
|
ships same day |
005 |
999-0267
|
Screw 10-24 x 1/2 pan head phillips zinc |
$0.99
|
1 |
|
ships same day |
006 |
172-2474
|
8 inch chain |
$11.35
|
1 |
|
usually ships 13-18 days |
007 |
170-0613
|
Tank lid |
$51.96
|
1 |
|
ships same day |
008 |
170-6038
|
Tank lid gasket |
$27.26
|
1 |
|
ships same day |
009 |
170-6125
|
Washer 1/8 lock |
$1.21
|
1 |
|
usually ships 1-5 days |
010 |
999-0062
|
Nut 10-24 hex |
$0.99
|
1 |
|
ships same day |
011 |
170-0647
|
Lock nut |
$11.35
|
2 |
|
usually ships 13-18 days |
012 |
170-2151
|
Retainer Elbow (OBSOLETE) |
$10.96
|
1 |
|
usually ships 1-5 days |
013 |
170-4484
|
Recovery tank (OBSOLETE) |
$504.76
|
1 |
|
usually ships 1-5 days |
014 |
170-2153
|
Recovery Drain Elbow (OBSOLETE) |
$61.14
|
1 |
|
usually ships 1-5 days |
015 |
999-0522
|
Screw 1/4-20 x 1/2 pan head phillips stainless steel |
$1.03
|
2 |
|
ships same day |
016 |
170-0294
|
Nut 1/2 conduit lock |
$12.89
|
1 |
|
usually ships 13-18 days |
017 |
170-0293
|
Seal |
$37.27
|
1 |
|
usually ships 13-18 days |
018 |
170-0291
|
Float switch kit |
$216.63
|
1 |
|
usually ships 1-5 days |
019 |
999-0175
|
Screw 1/4-20 x 3/8 pan head slotted zinc plated |
$0.99
|
1 |
|
ships same day |
020 |
170-1275
|
Recovery tube |
$84.28
|
1 |
|
usually ships 1-5 days |
021 |
170-0292
|
Strain relief |
$16.35
|
1 |
|
usually ships 12-15 days |
N/S |
170-0457
|
Strap (OBSOLETE) |
$5.50
|
2 |
Not illustrated |
usually ships 1-5 days |