| # | Part | Description | Price | Req | Notes | Availability |
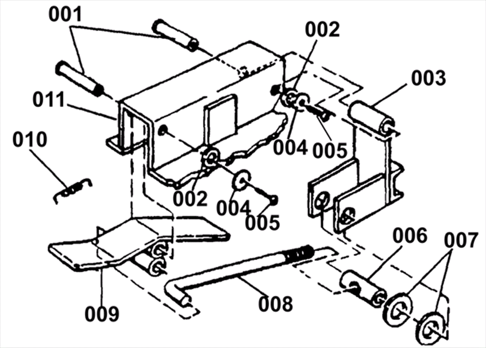
001 |
170-4479
|
Brake pin (OBSOLETE) |
Call for price
|
2 |
|
usually ships 1-5 days |
002 |
170-2125
|
Washer (OBSOLETE) |
$7.65
|
2 |
|
usually ships 1-5 days |
003 |
170-4480
|
Pad brake weldment (OBSOLETE) |
Call for price
|
1 |
|
usually ships 1-5 days |
004 |
999-0998
|
Washer #10 flat stainless steel |
$0.99
|
2 |
|
ships same day |
005 |
170-4461
|
Screw 10-24 x 3/8 stainless steel |
$1.21
|
2 |
|
usually ships 1-5 days |
006 |
170-3382
|
Parking brake shaft (OBSOLETE) |
$28.27
|
1 |
|
usually ships 1-5 days |
007 |
170-1397
|
Washer nylon |
$12.89
|
2 |
|
usually ships 13-18 days |
008 |
170-4481
|
Brake rod (OBSOLETE) |
Call for price
|
1 |
|
usually ships 1-5 days |
009 |
170-4482
|
Brake pedal |
Call for price
|
1 |
|
usually ships 1-5 days |
010 |
170-2787
|
Spring latch (OBSOLETE) |
$7.65
|
1 |
|
usually ships 1-5 days |
011 |
N/A
|
Not available |
Call for price
|
|
|
usually ships 3-26 days |