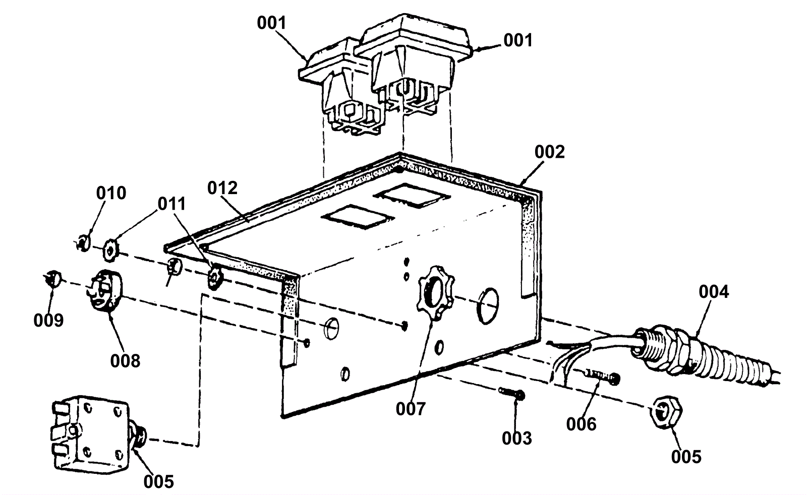
| # | Part | Description | Price | Req | Notes | Availability |
001 |
170-6163
|
On/off switch |
$37.27
|
2 |
|
usually ships 13-18 days |
002 |
170-4474
|
Control panel (OBSOLETE) |
Call for price
|
1 |
|
usually ships 1-5 days |
003 |
999-0656
|
Screw #6-32 x 7/8 pan head phillips zinc plated |
$0.99
|
1 |
|
ships same day |
004 |
170-4475
|
Power supply cord (OBSOLETE) |
$254.83
|
1 |
|
usually ships 1-5 days |
005 |
170-1724
|
10 amp circuit breaker (OBSOLETE) |
$30.84
|
1 |
|
usually ships 13-18 days |
006 |
999-0414
|
Screw 10-32 x 3/4 pan head slotted zinc plated |
$0.99
|
1 |
|
ships same day |
007 |
170-0294
|
Nut 1/2 conduit lock |
$12.89
|
1 |
|
usually ships 13-18 days |
008 |
372-0079
|
Rectifier |
$55.14
|
1 |
|
usually ships 13-18 days |
009 |
999-0227
|
Nut 6-32 hex nylon insert lock jam zinc plated |
$0.99
|
1 |
|
ships same day |
010 |
999-0460
|
Nut 10-32 hex |
$0.99
|
2 |
|
ships same day |
011 |
999-0311
|
Washer #10 external star lock zinc plated |
$0.99
|
2 |
|
ships same day |
012 |
170-4477
|
Panel gasket (OBSOLETE) |
$5.50
|
1 |
|
usually ships 1-5 days |
N/S |
170-0080
|
Wire tie |
$12.89
|
2 |
Not illustrated |
usually ships 13-18 days |
N/S |
170-4478
|
Brush harness (OBSOLETE) |
Call for price
|
1 |
Not illustrated |
usually ships 1-5 days |