| # | Part | Description | Price | Req | Notes | Availability |
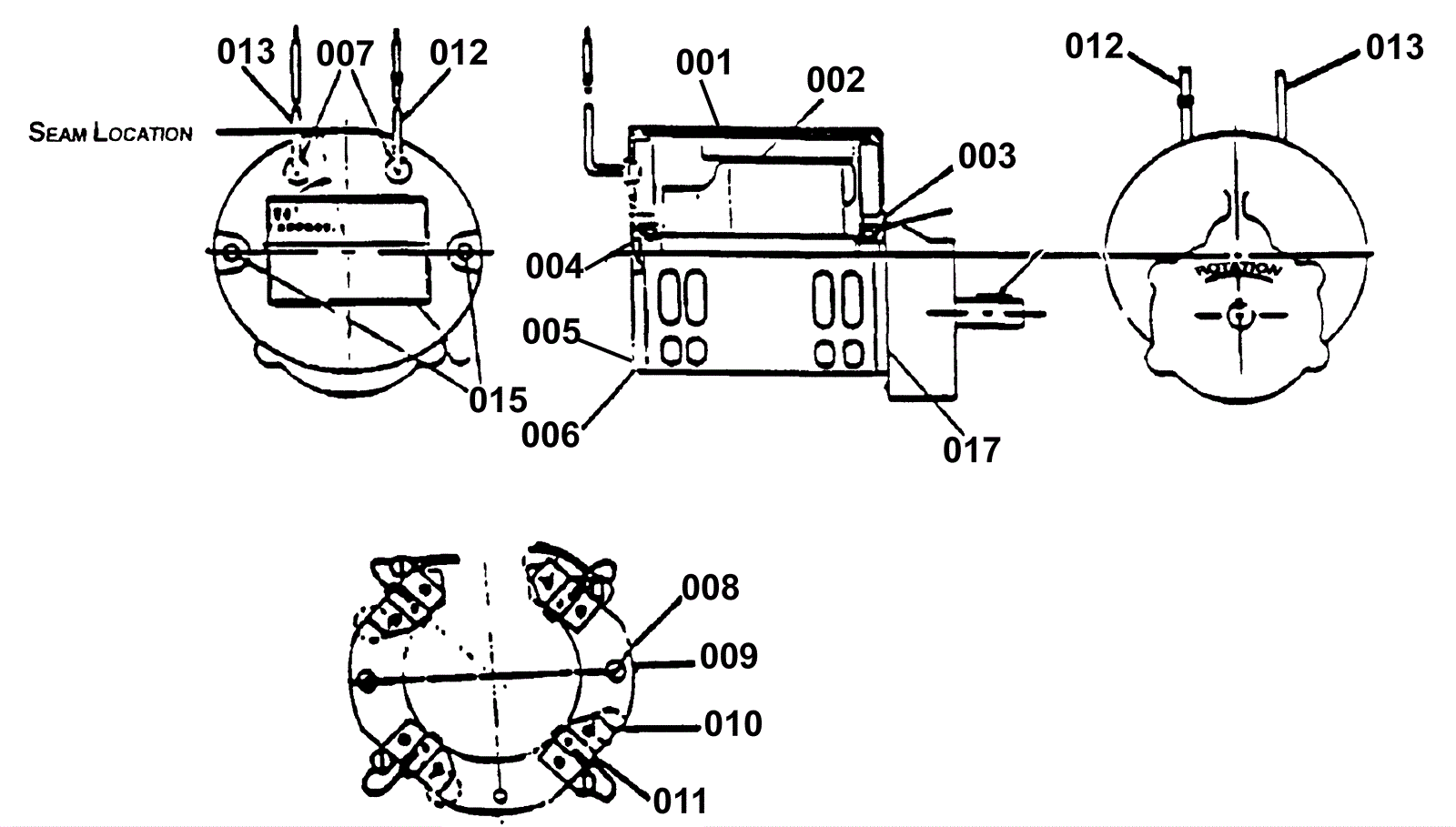
001 |
170-4465
|
Stator frame assembly (OBSOLETE) |
$531.75
|
|
With magnets and clips |
usually ships 1-5 days |
002 |
170-4466
|
Armature assembly (OBSOLETE) |
$1,047.10
|
1 |
With back end and front end bearing |
usually ships 1-5 days |
003 |
170-0320
|
Bottom bearing |
$30.46
|
1 |
|
usually ships 12-15 days |
004 |
170-0321
|
Front end bearing |
$12.71
|
1 |
|
usually ships 12-15 days |
005 |
170-4467
|
Commutator bracket assembly (OBSOLETE) |
Call for price
|
1 |
With brush board assembly lead |
usually ships 1-5 days |
006 |
170-0323
|
Commutator bracket (OBSOLETE) |
$64.87
|
1 |
|
usually ships 1-5 days |
007 |
170-0324
|
Strain relief (OBSOLETE) |
$1.86
|
2 |
|
usually ships 1-5 days |
008 |
999-0267
|
Screw 10-24 x 1/2 pan head phillips zinc |
$0.99
|
2 |
|
ships same day |
009 |
170-4468
|
Brush board assembly (OBSOLETE) |
$304.96
|
1 |
With springs and brushes |
usually ships 1-5 days |
010 |
372-1685
|
Springs |
$17.75
|
4 |
|
usually ships 12-15 days |
011 |
N/A
|
Not available |
Call for price
|
4 |
(Carbon brush assembly) |
usually ships 3-26 days |
012 |
170-4470
|
Lead assembly (OBSOLETE) |
$51.80
|
1 |
|
usually ships 1-5 days |
013 |
170-4471
|
Lead assembly (OBSOLETE) |
$23.76
|
1 |
|
usually ships 1-5 days |
014 |
170-0330
|
Washer helical (OBSOLETE) |
$5.50
|
1 |
|
usually ships 1-5 days |
015 |
164-1157
|
Bolt 1/4-20 x 7 3/4 thru |
$4.95
|
2 |
|
usually ships 19-25 days |
016 |
170-1421
|
Shaft key |
$5.08
|
1 |
|
usually ships 12-15 days |
017a |
164-0351
|
Gear box assembly |
$695.97
|
1 |
(OEM) |
usually ships 1-5 days |
017b |
991-5115
|
Gear box assembly |
$195.98
|
1 |
(NON-OEM) (also need to order 017c) |
usually ships 18-24 days |
017c |
999-0562
|
Bolt 3/8-16 x 1 hex head stainless steel |
$1.50
|
4 |
(needed with 017b) |
ships same day |