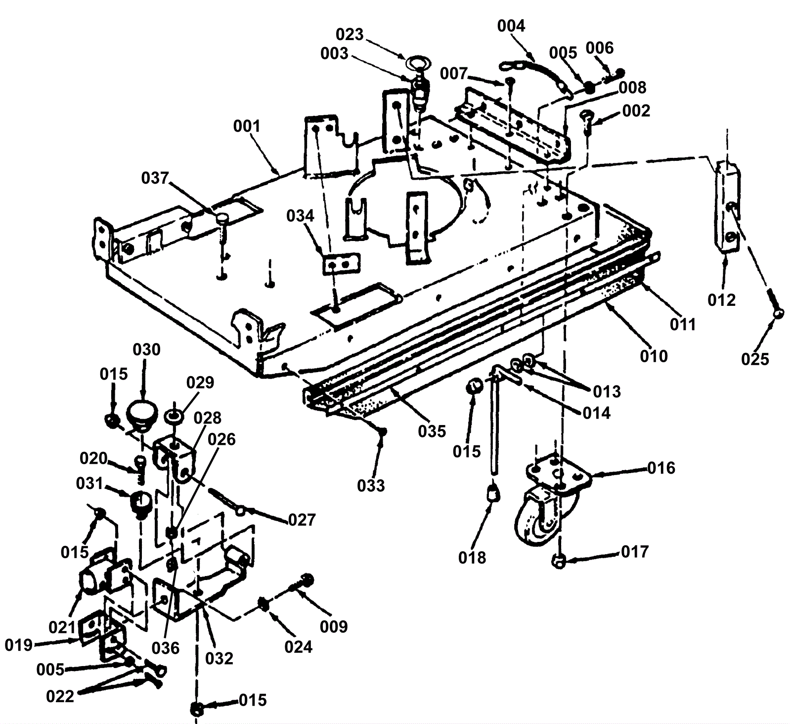
# | Part | Description | Price | Req | Notes | Availability |
001 |
170-4453
|
Main frame weldment (OBSOLETE) |
$444.31
|
1 |
|
usually ships 1-5 days |
002 |
170-2121
|
Screw 5/16-18 x 3/4 |
$10.52
|
6 |
|
usually ships 1-5 days |
003 |
170-1834
|
Hose barb 3/8 x 1/4 |
$12.31
|
1 |
|
ships same day |
004 |
170-4454
|
Handle (OBSOLETE) |
$96.47
|
1 |
|
usually ships 1-5 days |
005 |
999-0335
|
Washer 1/4 x 5/8 SAE flat stainless steel |
$0.99
|
4 |
|
ships same day |
006 |
170-4455
|
Screw 1/4-20 x 1 1/2 (OBSOLETE) |
$5.50
|
2 |
|
usually ships 1-5 days |
007 |
999-0522
|
Screw 1/4-20 x 1/2 pan head phillips stainless steel |
$1.03
|
7 |
|
ships same day |
008 |
170-4456
|
Tank hinge (OBSOLETE) |
$134.84
|
1 |
|
usually ships 1-5 days |
009 |
999-0812
|
Screw 3/8-16 x 7/8 hex head grade 5 plain finish |
$0.99
|
1 |
|
ships same day |
010 |
170-1271
|
Mainframe skirt |
$227.15
|
1 |
|
usually ships 1-5 days |
011 |
170-4457
|
Skirt retainer (OBSOLETE) |
$12.00
|
3 |
|
usually ships 1-5 days |
012 |
170-1695
|
Plastic Guide (OBSOLETE) |
$50.71
|
3 |
|
usually ships 1-5 days |
013 |
170-3737
|
Washer wave |
$10.52
|
2 |
|
usually ships 1-5 days |
014 |
170-4458
|
Kick stand (OBSOLETE) |
$29.70
|
1 |
|
usually ships 1-5 days |
015 |
999-0294
|
Nut 1/4-20 hex nylon lock type NE stainless steel |
$1.18
|
6 |
|
ships same day |
016 |
170-4459
|
Swivel caster |
$166.03
|
2 |
|
usually ships 13-18 days |
017 |
999-0211
|
Nut 5/16-18 hex nylon insert lock zinc plated |
$0.99
|
6 |
|
usually ships 16-20 days |
018 |
170-4460
|
Cap (OBSOLETE) |
$7.01
|
1 |
|
usually ships 1-5 days |
019 |
170-2129
|
Squeegee swivel weldment (OBSOLETE) |
$41.34
|
1 |
|
usually ships 1-5 days |
020 |
999-0081
|
Screw 1/4-20 x 5/8 pan head slotted zinc |
$0.99
|
1 |
|
ships same day |
021 |
170-2130
|
Squeegee bracket weldment (OBSOLETE) |
$59.99
|
1 |
|
usually ships 1-5 days |
022 |
999-0334
|
Bolt 1/4-20 x 3/4 inch hex head stainless steel |
$3.85
|
4 |
|
usually ships 16-20 days |
023 |
997-2001
|
Hose clamp |
$2.42
|
1 |
|
ships same day |
024 |
170-2131
|
Washer lock |
$10.52
|
1 |
|
usually ships 1-5 days |
025 |
373-3017
|
Screw 1/4-20 x 3/4 |
$12.31
|
6 |
|
usually ships 13-18 days |
026 |
170-1760
|
Spacer |
$11.99
|
1 |
|
usually ships 1-5 days |
027 |
170-2126
|
1/4 20 x 2 SS |
$12.52
|
1 |
|
usually ships 1-5 days |
028 |
170-1759
|
Squeegee bracket |
$126.03
|
1 |
|
usually ships 1-5 days |
029 |
170-2125
|
Washer (OBSOLETE) |
$7.65
|
2 |
|
usually ships 1-5 days |
030 |
170-1379
|
Bushing (OBSOLETE) |
$35.19
|
1 |
|
usually ships 13-18 days |
031 |
170-1378
|
Spring |
$22.41
|
1 |
|
usually ships 1-5 days |
032 |
170-2127
|
Squeegee arm weldment (OBSOLETE) |
$79.86
|
1 |
|
usually ships 1-5 days |
033 |
170-4461
|
Screw 10-24 x 3/8 stainless steel |
$1.21
|
12 |
|
usually ships 1-5 days |
034 |
170-4446
|
Retainer (OBSOLETE) |
$12.60
|
1 |
|
usually ships 1-5 days |
035 |
170-4462
|
Skirt retainer (OBSOLETE) |
$8.10
|
2 |
|
usually ships 1-5 days |
036 |
999-0593
|
Nut 5/16-18 hex stainless steel |
$0.99
|
1 |
|
ships same day |
037 |
170-4463
|
Screw 5/8 - 18 x 7/8 (OBSOLETE) |
$5.50
|
1 |
|
usually ships 1-5 days |