| # | Part | Description | Price | Req | Notes | Availability |
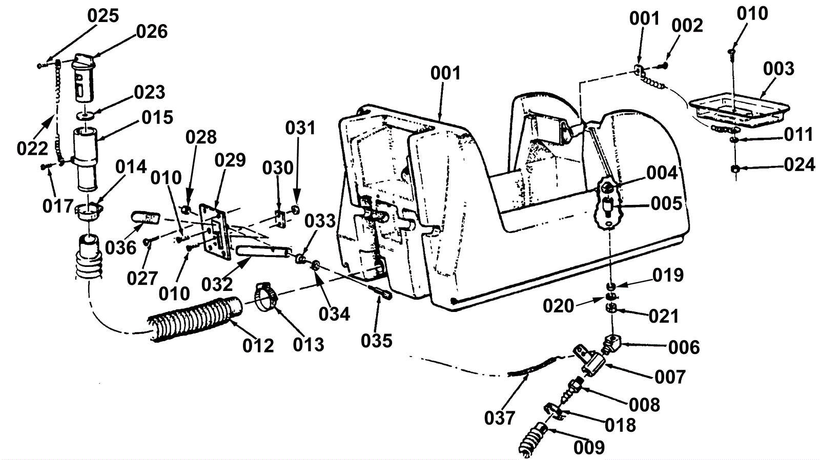
001 |
172-2474
|
8 inch chain |
$11.35
|
1 |
|
usually ships 13-18 days |
002 |
999-0175
|
Screw 1/4-20 x 3/8 pan head slotted zinc plated |
$0.99
|
1 |
|
ships same day |
003 |
170-0613
|
Tank lid |
$51.96
|
1 |
|
ships same day |
004a |
170-2155
|
Sol Tank Strainer |
$17.90
|
1 |
(OEM) |
usually ships 1-5 days |
004b |
991-5137
|
Mesh filter screen (OBSOLETE) |
$10.57
|
1 |
(NON-OEM) |
usually ships 18-24 days |
005 |
170-3510
|
Motor/Circuit lead assembly (OBSOLETE) |
$6.06
|
1 |
|
usually ships 1-5 days |
006 |
170-2156
|
Solution Elbow |
$8.80
|
1 |
|
usually ships 13-18 days |
007 |
170-0006
|
Manual solution valve |
$79.22
|
1 |
|
usually ships 13-18 days |
008 |
170-1834
|
Hose barb 3/8 x 1/4 |
$12.89
|
1 |
|
ships same day |
009 |
170-1791
|
Hose (OBSOLETE) |
$90.43
|
1 |
|
usually ships 13-18 days |
010 |
999-0267
|
Screw 10-24 x 1/2 pan head phillips zinc |
$0.99
|
1 |
|
ships same day |
011 |
170-6125
|
Washer 1/8 lock |
$1.21
|
1 |
|
usually ships 1-5 days |
012 |
170-2157
|
Drain Hose (OBSOLETE) |
$79.84
|
1 |
|
usually ships 13-18 days |
013 |
997-2000
|
Hose clamp |
$2.37
|
1 |
|
ships same day |
014 |
164-0218
|
Nylon hose clamp |
$4.31
|
1 |
|
usually ships 19-25 days |
015 |
170-0043
|
Drain valve |
$27.26
|
1 |
|
usually ships 13-18 days |
016 |
170-2158
|
Solution Tank (OBSOLETE) |
$453.10
|
1 |
|
usually ships 1-5 days |
017 |
999-0576
|
Screw 8-18 x 1/2 pan head phillips self-drilling ss |
$0.99
|
1 |
|
ships same day |
018 |
997-2001
|
Hose clamp |
$2.42
|
1 |
|
ships same day |
019 |
170-6194
|
Drain Gasket |
$7.48
|
1 |
|
usually ships 1-5 days |
020 |
170-2159
|
Washer |
$10.52
|
1 |
|
usually ships 1-5 days |
021 |
170-3823
|
Nut 3/4 x 16 |
$9.27
|
1 |
|
usually ships 1-5 days |
022 |
170-0268
|
Drain chain assembly |
$12.89
|
1 |
|
usually ships 13-18 days |
023 |
170-0032
|
Drain valve gasket |
$11.35
|
1 |
|
ships same day |
024 |
999-0062
|
Nut 10-24 hex |
$0.99
|
1 |
|
ships same day |
025 |
999-0663
|
Screw 10-24 x 3/8 pan head phillips thread cutting |
$0.99
|
1 |
|
ships same day |
026 |
170-0042
|
Drain valve handle |
$27.26
|
1 |
|
usually ships 13-18 days |
027 |
999-0723
|
Screw 10-32 x 1/2 pan head slotted stainless steel |
$0.99
|
2 |
|
ships same day |
028 |
999-0294
|
Nut 1/4-20 hex nylon lock type NE stainless steel |
$1.18
|
1 |
|
ships same day |
029 |
170-2161
|
Squeegee lift plate (OBSOLETE) |
$35.13
|
1 |
|
usually ships 1-5 days |
030 |
170-2162
|
Wear Plate (OBSOLETE) |
$6.78
|
1 |
|
usually ships 1-5 days |
031 |
999-0442
|
Nut 10-24 nylon insert lock stainless steel |
$1.76
|
2 |
|
ships same day |
032 |
170-2163
|
Squeegee lift handle (OBSOLETE) |
$18.77
|
1 |
|
usually ships 1-5 days |
033 |
170-2164
|
Spring Taper |
$11.19
|
1 |
|
usually ships 1-5 days |
034 |
999-0016
|
Washer 1/4 flat plain finish |
$0.99
|
1 |
|
ships same day |
035 |
170-0268
|
Drain chain assembly |
$12.89
|
1 |
|
usually ships 13-18 days |
036 |
170-2165
|
Handle Cover (OBSOLETE) |
$7.01
|
1 |
|
usually ships 1-5 days |
037 |
170-3509
|
Circuit breaker 120volt |
$55.00
|
1 |
|
usually ships 1-5 days |