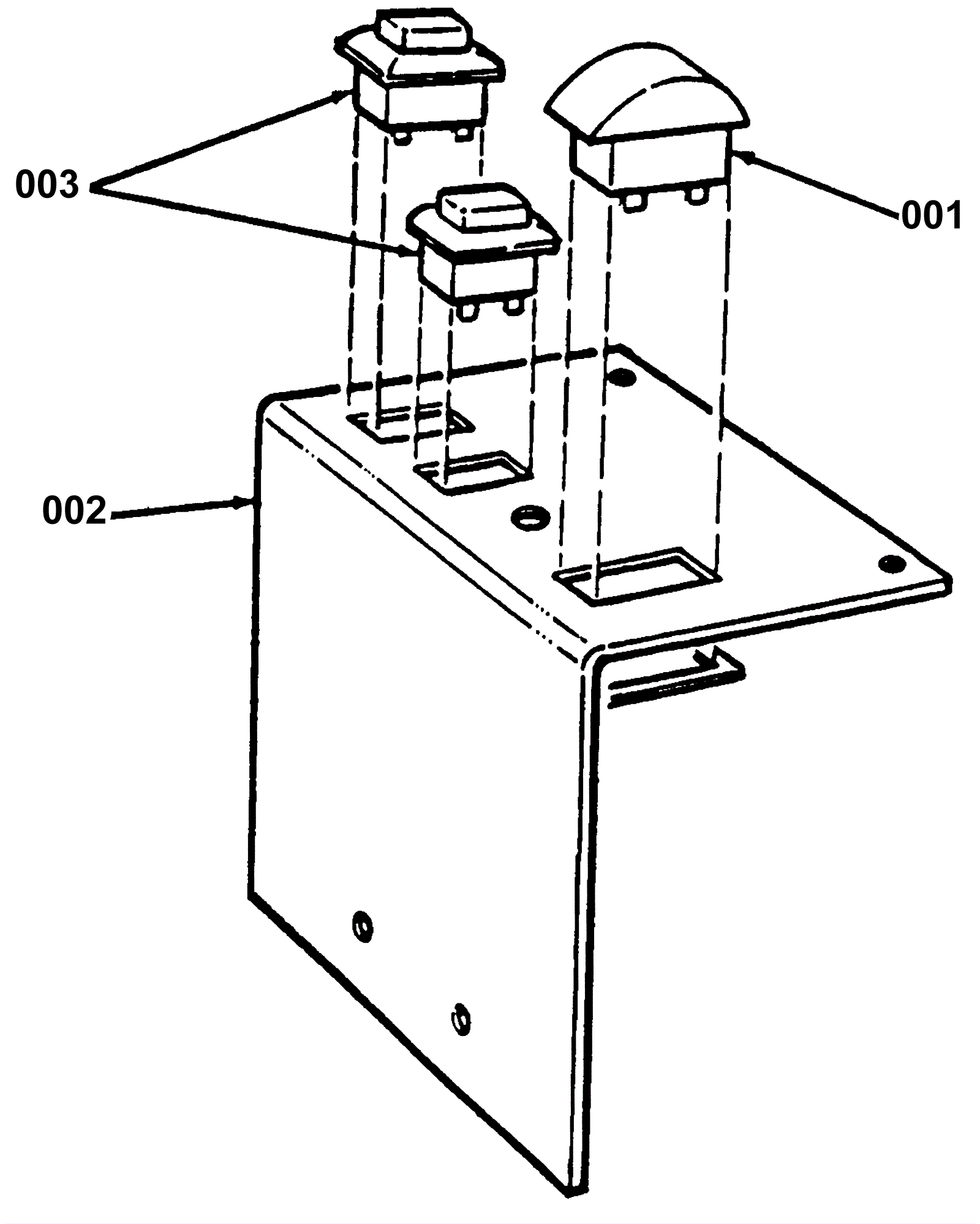
VISION 20B
Panel Assembly - Non-Traverse Model
# | Part | Description | Price | Req | Notes | Availability |
001 |
170-2144
|
Battery Meter (OBSOLETE) |
$36.39
|
1 |
|
usually ships 1-5 days |
002 |
170-4752
|
Control panel (OBSOLETE) |
$121.42
|
1 |
|
usually ships 1-5 days |
003 |
170-6163
|
On/off switch |
$35.60
|
2 |
|
usually ships 13-18 days |