| # | Part | Description | Price | Req | Notes | Availability |
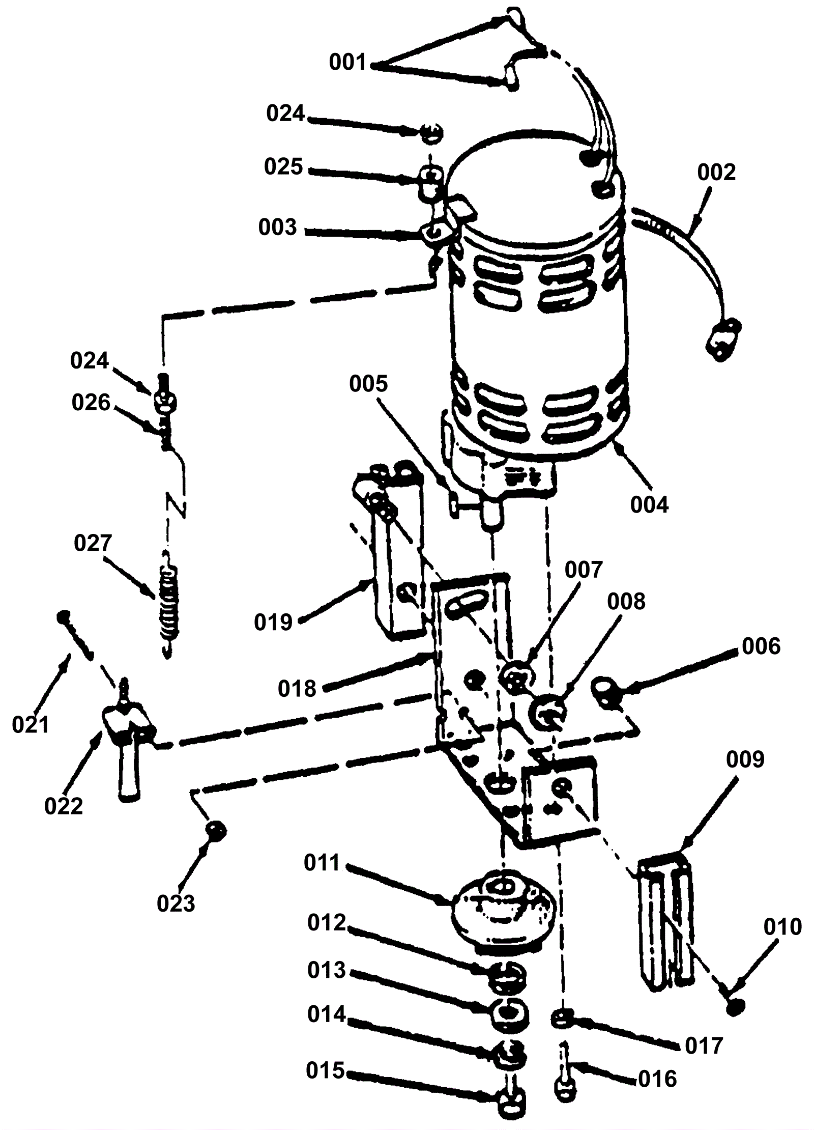
001 |
170-1417
|
Brush motor terminal |
$9.13
|
2 |
|
usually ships 1-5 days |
002 |
170-1418
|
Clamp (OBSOLETE) |
$9.13
|
1 |
|
usually ships 1-5 days |
003 |
170-1419
|
Bracket (OBSOLETE) |
$15.44
|
1 |
|
usually ships 1-5 days |
004 |
991-2121
|
24V .75HP brush motor assembly with gear box |
$593.85
|
1 |
Includes no.5 |
ships same day |
005 |
170-1421
|
Shaft key |
$5.08
|
1 |
Includes no.4 |
usually ships 12-15 days |
006 |
999-0294
|
Nut 1/4-20 hex nylon lock type NE stainless steel |
$1.18
|
2 |
|
ships same day |
007 |
170-1422
|
Washer |
$1.45
|
1 |
|
usually ships 1-5 days |
008 |
170-1423
|
Spacer tilt handle (OBSOLETE) |
$37.07
|
1 |
|
usually ships 1-5 days |
009 |
170-1424
|
Guide RH (OBSOLETE) |
$25.63
|
1 |
|
usually ships 1-5 days |
010 |
170-1425
|
Screw 1/4-20 x 5/8 (OBSOLETE) |
$5.50
|
2 |
|
usually ships 1-5 days |
011 |
170-1740
|
Motor adapter (OBSOLETE) |
$121.00
|
1 |
|
usually ships 13-18 days |
012 |
999-0630
|
Washer 3/4 SAE flat |
$0.99
|
1 |
|
ships same day |
013 |
170-3161
|
Washer flat impellar |
$11.75
|
1 |
|
usually ships 1-5 days |
014 |
999-0028
|
Washer 5/16 split lock plain finish |
$0.99
|
1 |
|
ships same day |
015 |
999-0132
|
Bolt 5/16-18 x 3/4 hex head grade 5 zinc plated |
$2.64
|
1 |
|
ships same day |
016 |
999-0587
|
Screw 3/8-16 x 5/8 round head slotted zinc |
$0.99
|
4 |
|
ships same day |
017 |
999-0659
|
Washer 3/8 medium split lock stainless steel |
$0.39
|
4 |
|
ships same day |
018 |
170-1687
|
Bracket Motor Lift (OBSOLETE) |
$46.21
|
1 |
|
usually ships 1-5 days |
019 |
170-1688
|
Guide LH (OBSOLETE) |
$65.36
|
1 |
|
usually ships 1-5 days |
022 |
170-0400
|
Solution adapter |
$16.50
|
1 |
|
usually ships 1-5 days |
023 |
999-0442
|
Nut 10-24 nylon insert lock stainless steel |
$1.76
|
2 |
|
ships same day |
024 |
170-1838
|
Nut 3/8-16 hex elastic lock |
$17.17
|
2 |
|
usually ships 13-18 days |
025 |
170-1690
|
Knob (OBSOLETE) |
$21.14
|
1 |
|
usually ships 1-5 days |
026 |
170-1691
|
Stud (OBSOLETE) |
$25.78
|
1 |
|
usually ships 1-5 days |
027 |
170-1692
|
Spring |
$17.06
|
1 |
|
usually ships 1-5 days |
N/S |
170-1689
|
Screw 10 24 1 3/4 |
$2.35
|
2 |
|
usually ships 1-5 days |
N/S |
170-1693
|
Wire tie |
$10.52
|
2 |
|
usually ships 1-5 days |