| # | Part | Description | Price | Req | Notes | Availability | 
|---|
          
            
            
                
                  
                  
                  
				       
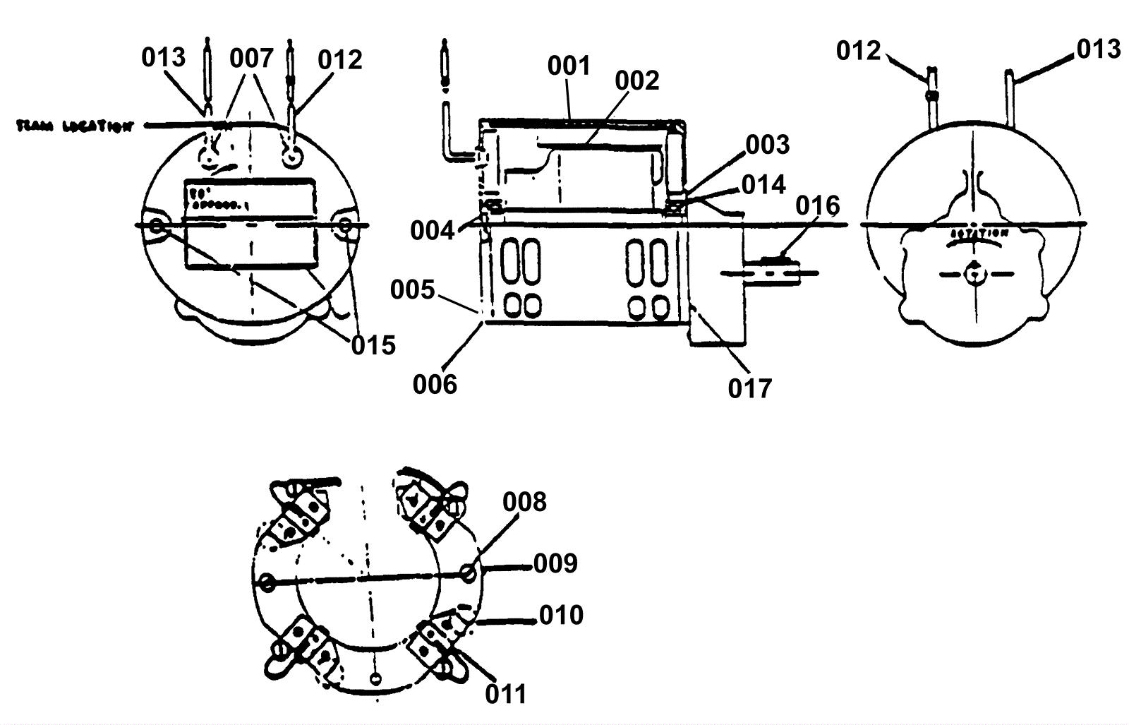
				      001 | 170-0316 | Stator frame assembly (OBSOLETE) | $475.20 | 1 | With magnets and clips | usually ships 1-5 days | 002 | 170-1414 | Armature assembly (OBSOLETE) | $783.55 | 1 | with back end & front end bearing | usually ships 1-5 days | 003 | 170-0320 | Bottom bearing | $30.46 | 1 |  | usually ships 12-15 days | 004 | 170-0321 | Front end bearing | $12.71 | 1 |  | usually ships 12-15 days | 005 | N/A | Not available | Call for price | 1 | Commutator bracket assembly with board brush assembly leads | usually ships 3-26 days | 006 | 170-0323 | Commutator bracket (OBSOLETE) | $64.87 | 1 |  | usually ships 1-5 days | 007 | 170-0324 | Strain relief (OBSOLETE) | $1.86 | 2 |  | usually ships 1-5 days | 008 | 999-0267 | Screw 10-24 x 1/2 pan head phillips zinc | $0.99 | 2 |  | ships same day | 009 | 170-0325 | Brush board assembly (OBSOLETE) | $237.05 | 1 | With springs and brushes | usually ships 13-18 days | 010 | 372-1685 | Springs | $17.75 | 4 |  | usually ships 12-15 days | 011 | 372-1648 | Carbon brush assembly | $43.48 | 4 |  | usually ships 13-18 days | 012 | 170-0328 | Positive lead assembly (OBSOLETE) | $41.34 | 1 |  | usually ships 1-5 days | 013 | 170-0216 | Head pressure pin (OBSOLETE) | $96.23 | 1 |  | usually ships 1-5 days | 014 | 170-0330 | Washer helical (OBSOLETE) | $5.50 | 1 |  | usually ships 1-5 days | 015 | 164-1157 | Bolt 1/4-20 x 7 3/4 thru | $4.95 | 2 |  | usually ships 19-25 days | 016 | 164-0132 | Square keyway 1/4 x 1/4 | $4.82 | 1 |  | ships same day | 017a | 164-0351 | Gear box assembly | $695.97 | 1 | (OEM) | usually ships 1-5 days | 017b | 991-5115 | Gear box assembly | $195.98 | 1 | (NON-OEM) (also need to order 017c) | usually ships 18-24 days | 017c | 999-0562 | Bolt 3/8-16 x 1 hex head stainless steel | $1.50 | 4 | (needed with 017b) | ships same day |