| # | Part | Description | Price | Req | Notes | Availability |
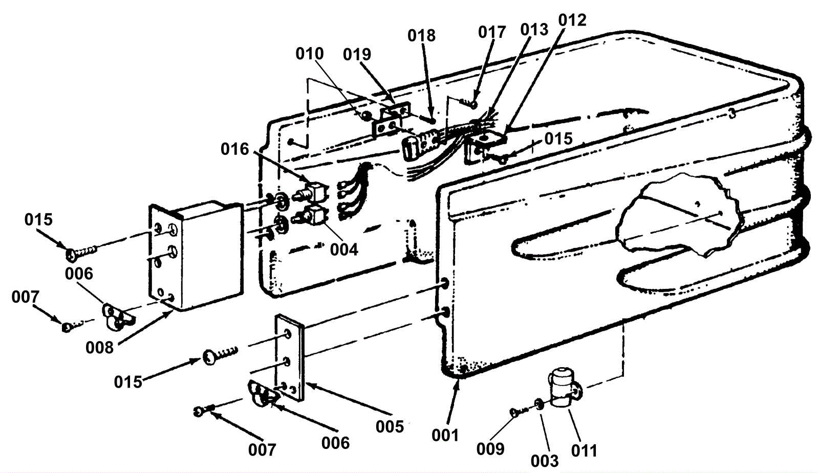
001 |
170-4444
|
Support tank (OBSOLETE) |
$479.24
|
1 |
|
usually ships 1-5 days |
003 |
999-0335
|
Washer 1/4 x 5/8 SAE flat stainless steel |
$0.99
|
4 |
|
ships same day |
004 |
170-8164
|
30amp circuit breaker |
$29.79
|
1 |
|
usually ships 1-5 days |
005 |
170-2214
|
Plate Clamp (OBSOLETE) |
$19.48
|
1 |
|
usually ships 1-5 days |
006 |
170-2124
|
Housing Clamp Strike (OBSOLETE) |
$5.50
|
2 |
|
usually ships 1-5 days |
007 |
170-2135
|
Screw 3-32 x 1/4 (OBSOLETE) |
$1.86
|
4 |
|
usually ships 1-5 days |
008 |
170-4804
|
Circuit braker plate (OBSOLETE) |
$19.84
|
1 |
|
usually ships 1-5 days |
009 |
170-4805
|
Screw 10-00 x 3/8 (OBSOLETE) |
$7.59
|
4 |
|
usually ships 1-5 days |
010 |
999-0227
|
Nut 6-32 hex nylon insert lock jam zinc plated |
$0.99
|
2 |
|
ships same day |
011 |
170-1797
|
Vacuum solenoid (OBSOLETE) |
$91.00
|
2 |
|
usually ships 13-18 days |
012 |
170-2217
|
Tank Pntd. Bracket (OBSOLETE) |
$15.44
|
5 |
|
usually ships 1-5 days |
013 |
170-4807
|
Control harness (OBSOLETE) |
Call for price
|
1 |
|
usually ships 1-5 days |
015 |
999-0522
|
Screw 1/4-20 x 1/2 pan head phillips stainless steel |
$1.03
|
9 |
|
ships same day |
016 |
170-2213
|
35 Amp Brush Breaker |
$33.96
|
1 |
|
usually ships 1-5 days |
017 |
999-0656
|
Screw #6-32 x 7/8 pan head phillips zinc plated |
$0.99
|
2 |
|
ships same day |
018 |
170-2128
|
Screw 1/4 20 x 3/4 |
$10.52
|
1 |
|
usually ships 1-5 days |
019 |
170-2219
|
Battery Bracket (OBSOLETE) |
$10.10
|
1 |
|
usually ships 1-5 days |
N/S |
170-4448
|
Brush lift label (OBSOLETE) |
$11.04
|
1 |
|
usually ships 1-5 days |