| # | Part | Description | Price | Req | Notes | Availability |
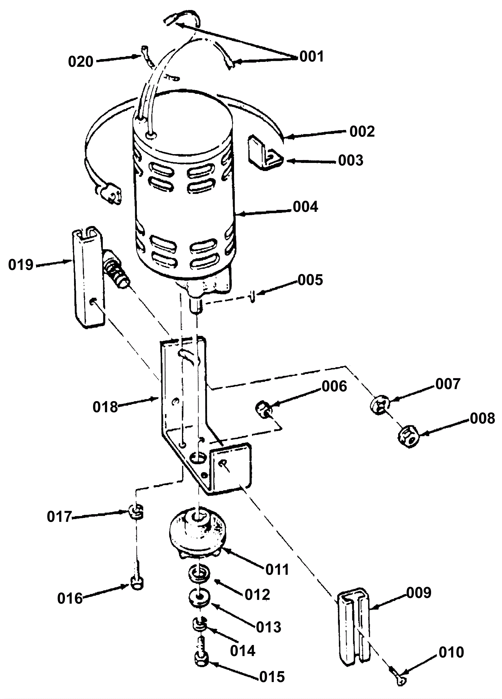
001 |
170-1417
|
Brush motor terminal |
$9.13
|
2 |
|
usually ships 1-5 days |
002 |
170-1418
|
Clamp (OBSOLETE) |
$9.13
|
1 |
|
usually ships 1-5 days |
003 |
170-4784
|
Bracket (OBSOLETE) |
$15.57
|
1 |
|
usually ships 1-5 days |
004 |
991-2121
|
24V .75HP brush motor assembly with gear box |
$593.85
|
1 |
|
ships same day |
005 |
164-0132
|
Square keyway 1/4 x 1/4 |
$4.82
|
1 |
|
ships same day |
006 |
999-0294
|
Nut 1/4-20 hex nylon lock type NE stainless steel |
$1.18
|
2 |
|
ships same day |
007 |
170-1422
|
Washer |
$1.45
|
1 |
|
usually ships 1-5 days |
008 |
170-1423
|
Spacer tilt handle (OBSOLETE) |
$37.07
|
1 |
|
usually ships 1-5 days |
009 |
170-1424
|
Guide RH (OBSOLETE) |
$25.63
|
1 |
|
usually ships 1-5 days |
010 |
170-1425
|
Screw 1/4-20 x 5/8 (OBSOLETE) |
$5.50
|
2 |
|
usually ships 1-5 days |
011 |
170-1740
|
Motor adapter (OBSOLETE) |
$121.00
|
1 |
|
usually ships 13-18 days |
012 |
999-0630
|
Washer 3/4 SAE flat |
$0.99
|
1 |
|
ships same day |
013 |
170-3161
|
Washer flat impellar |
$11.75
|
1 |
|
usually ships 1-5 days |
014 |
999-0028
|
Washer 5/16 split lock plain finish |
$0.99
|
1 |
|
ships same day |
015 |
999-0562
|
Bolt 3/8-16 x 1 hex head stainless steel |
$1.50
|
1 |
|
ships same day |
016 |
999-0587
|
Screw 3/8-16 x 5/8 round head slotted zinc |
$0.99
|
4 |
|
ships same day |
017 |
999-0659
|
Washer 3/8 medium split lock stainless steel |
$0.39
|
4 |
|
ships same day |
018 |
170-4473
|
Bracket motor lift (OBSOLETE) |
$76.27
|
4 |
|
usually ships 1-5 days |
019 |
170-1688
|
Guide LH (OBSOLETE) |
$65.36
|
1 |
|
usually ships 1-5 days |
020 |
170-1693
|
Wire tie |
$10.52
|
2 |
|
usually ships 1-5 days |