| # | Part | Description | Price | Req | Notes | Availability |
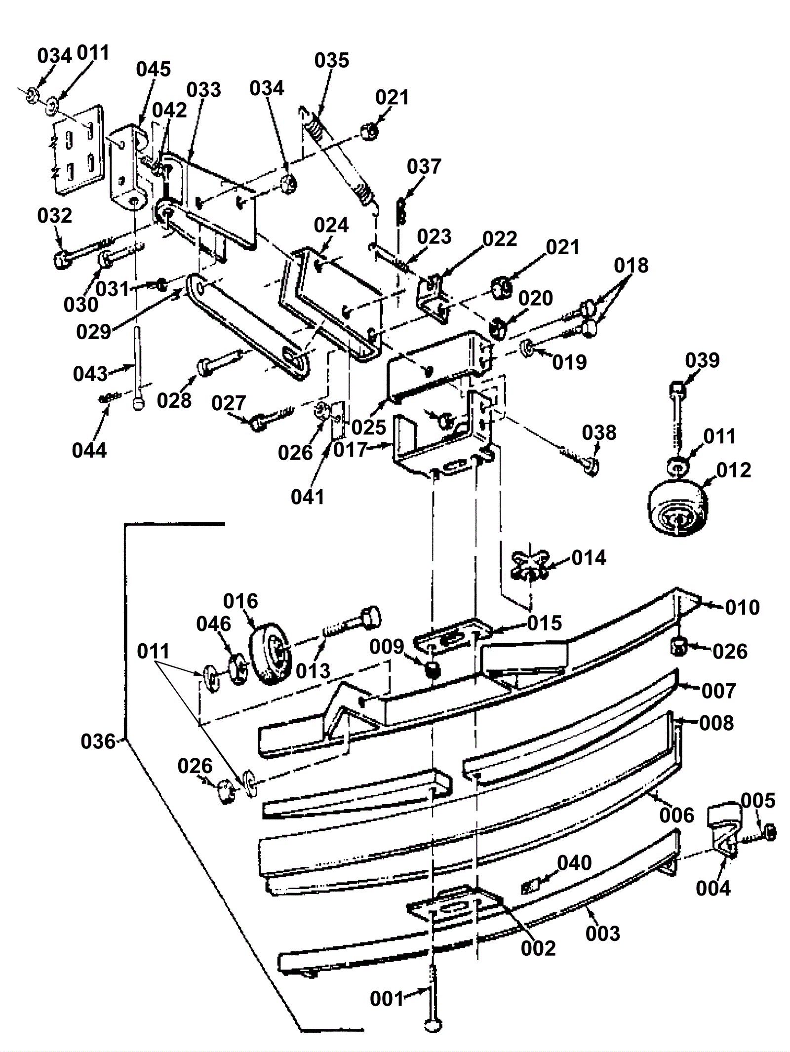
001 |
999-0887
|
Bolt 3/8-16 x 3 hex head hot dipped galvanized |
$2.82
|
2 |
|
ships same day |
002 |
170-7176
|
32 inch squeegee spacer |
$32.56
|
1 |
|
usually ships 13-18 days |
003 |
170-8554
|
Squeegee clamp weldment (OBSOLETE) |
$55.44
|
1 |
|
usually ships 1-5 days |
004 |
170-0150
|
End clamp (OBSOLETE) |
$51.28
|
2 |
|
usually ships 13-18 days |
005 |
999-0506
|
Bolt 1/4-20 x 1 1/2 hex head stainless steel |
$1.28
|
2 |
|
ships same day |
006 |
170-7197
|
Squeegee blade rear tan gum rubber 33 inch |
$56.65
|
1 |
|
ships same day |
007 |
N/A
|
Not available |
Call for price
|
2 |
33 inch spacer |
usually ships 3-26 days |
008 |
170-1840
|
Squeegee blade front black notched 33 inch (OBSOLETE) |
$44.58
|
1 |
|
usually ships 13-18 days |
009 |
999-0628
|
Nut 3/8-16 hex jam stainless steel |
$0.99
|
6 |
|
ships same day |
010 |
N/A
|
Not available |
Call for price
|
1 |
Squeegee weldment |
usually ships 3-26 days |
011 |
170-0304
|
Washer 15/32 x 1/32 |
$14.41
|
11 |
|
usually ships 1-5 days |
012 |
170-0163
|
Guide wheel |
$40.16
|
2 |
|
ships same day |
013 |
999-0550
|
Bolt 3/8-16 x 2 hex head stainless steel |
$2.95
|
2 |
|
ships same day |
014 |
170-0171
|
Knob |
$34.00
|
2 |
|
ships same day |
015 |
170-0164
|
Gasket |
$11.35
|
1 |
|
usually ships 13-18 days |
016 |
170-0165
|
Wheel (OBSOLETE) |
$16.50
|
2 |
|
usually ships 13-18 days |
017 |
170-0172
|
Tube bracket (OBSOLETE) |
$156.64
|
1 |
|
usually ships 13-18 days |
018 |
999-0334
|
Bolt 1/4-20 x 3/4 inch hex head stainless steel |
$3.85
|
4 |
|
usually ships 16-20 days |
019 |
999-0016
|
Washer 1/4 flat plain finish |
$0.99
|
5 |
|
ships same day |
020 |
999-0069
|
Nut 5/16-18 hex |
$0.99
|
2 |
|
ships same day |
021 |
999-0152
|
Nut 1/4-20 nylon insert lock zinc plated |
$0.99
|
|
|
ships same day |
022 |
170-0178
|
Bracket |
$144.86
|
2 |
|
usually ships 1-5 days |
023 |
170-0177
|
Squeegee adjustment stud |
$28.46
|
2 |
|
usually ships 1-5 days |
024 |
170-0174
|
Rear arm weldment (OBSOLETE) |
$79.00
|
1 |
|
usually ships 1-5 days |
025 |
170-0187
|
Pin bracket weldment |
$121.31
|
1 |
|
usually ships 1-5 days |
026 |
999-0188
|
Nut 3/8-16 nylon insert lock zinc plated |
$0.99
|
5 |
|
ships same day |
027 |
999-1187
|
Bolt 1/4-20 x 2 1/2 hex head stainless steel |
$2.22
|
1 |
|
ships same day |
028 |
170-0140
|
Squeegee actuator pin |
$10.52
|
1 |
|
usually ships 1-5 days |
029 |
170-0188
|
Squeegee lift bar (OBSOLETE) |
$28.04
|
1 |
|
usually ships 13-18 days |
030 |
170-2069
|
Screw 3/8-16 x 2 shoulder |
$11.75
|
1 |
|
usually ships 1-5 days |
031 |
999-0227
|
Nut 6-32 hex nylon insert lock jam zinc plated |
$0.99
|
4 |
|
ships same day |
032 |
999-0637
|
Screw 1/4-20 x 3 1/2 socket head alloy plain finish |
$1.14
|
1 |
|
ships same day |
033 |
170-0179
|
Front arm weldment |
$121.00
|
1 |
|
usually ships 1-5 days |
034 |
999-0211
|
Nut 5/16-18 hex nylon insert lock zinc plated |
$0.99
|
5 |
|
ships same day |
035 |
170-0175
|
Pressure spring (OBSOLETE) |
$41.84
|
2 |
|
usually ships 13-18 days |
036 |
170-1668
|
32 inch squeegee assembly |
$850.10
|
1 |
|
usually ships 13-18 days |
037 |
170-0135
|
Cotter pin (OBSOLETE) |
$11.99
|
3 |
|
usually ships 13-18 days |
038 |
999-0562
|
Bolt 3/8-16 x 1 hex head stainless steel |
$1.50
|
1 |
|
ships same day |
039 |
999-1079
|
Bolt 3/8-16 x 2 1/4 hex head grade 5 zinc plated |
$0.99
|
2 |
|
ships same day |
040 |
170-0166
|
Squeegee gripping pad |
$8.03
|
1 |
|
usually ships 13-18 days |
042 |
999-0132
|
Bolt 5/16-18 x 3/4 hex head grade 5 zinc plated |
$2.64
|
2 |
|
ships same day |
043 |
170-0145
|
Clevis pin |
$11.99
|
1 |
|
usually ships 13-18 days |
044 |
170-0135
|
Cotter pin (OBSOLETE) |
$11.99
|
1 |
|
usually ships 13-18 days |
045 |
170-0704
|
Pivot arm (OBSOLETE) |
$32.79
|
1 |
|
usually ships 1-5 days |
046 |
999-0635
|
Nut 3/8-16 hex stainless steel |
$0.99
|
2 |
|
ships same day |