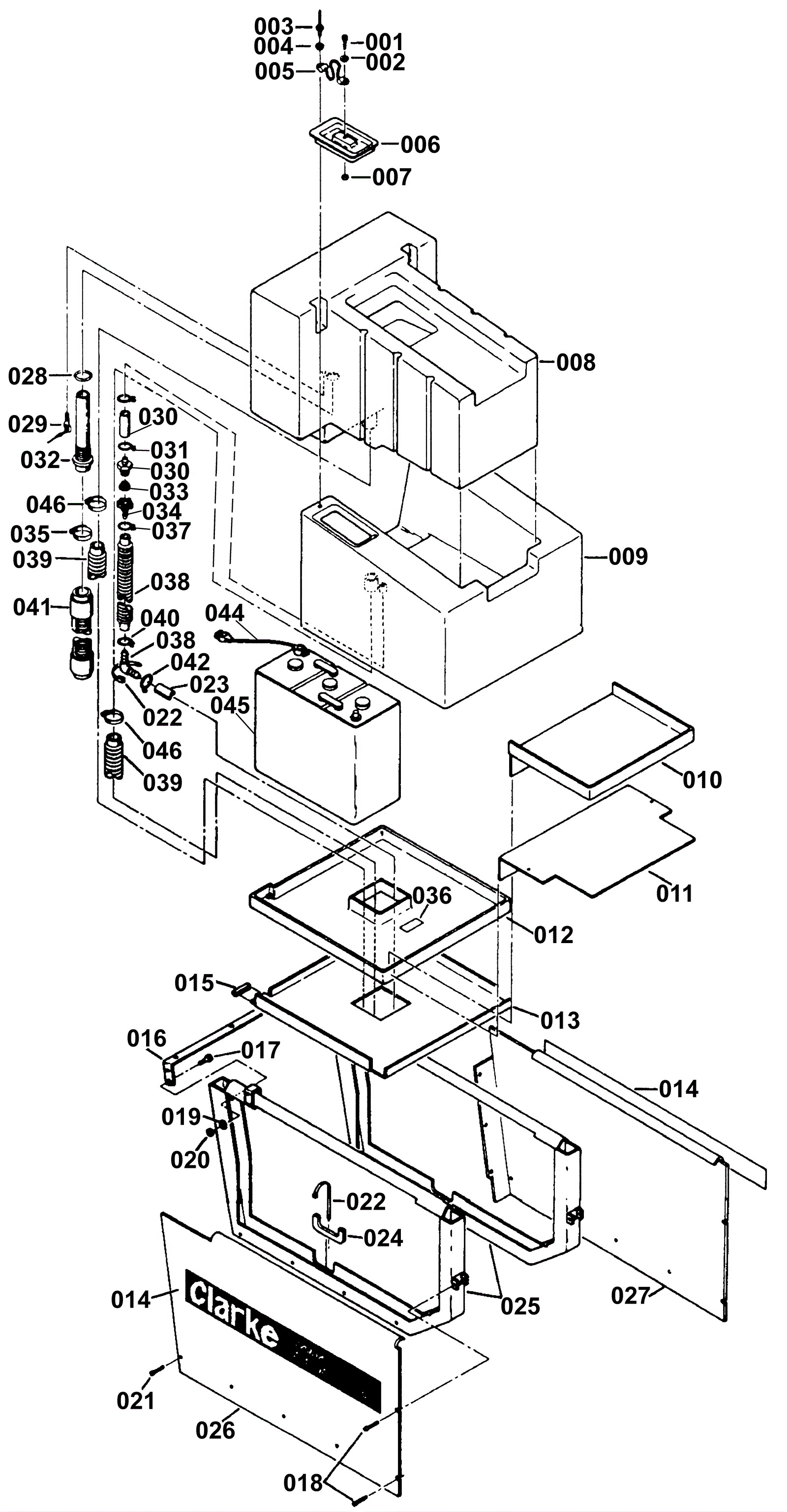
Main Frame and Tank Assembly
Click to enlarge