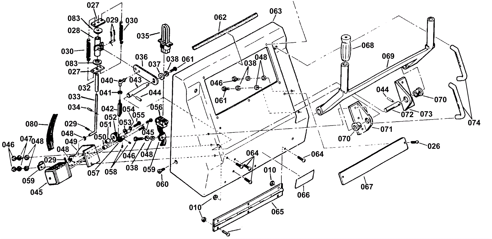
Control Housing Assembly
Click to enlarge