| # | Part | Description | Price | Req | Notes | Availability |
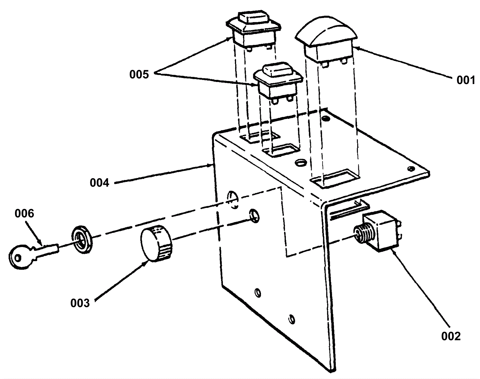
001 |
170-2144
|
Battery Meter (OBSOLETE) |
$36.39
|
1 |
|
usually ships 1-5 days |
002a |
170-0053
|
Key switch with 2 keys |
$101.65
|
1 |
Key, switch prior to serial #TC |
usually ships 13-18 days |
002b |
170-2145
|
Switch Kit Prior to Serial #SE (OBSOLETE) |
$332.64
|
1 |
Key, switch prior to serial #SE |
usually ships 1-5 days |
002c |
170-2146
|
Switch Key Prior to Serial #SE to TC (OBSOLETE) |
$221.56
|
1 |
Key, switch prior to serial #SE to TC |
usually ships 1-5 days |
003 |
170-8261
|
Knob solution flow module (OBSOLETE) |
$34.66
|
1 |
|
usually ships 13-18 days |
004 |
170-2147
|
Control Panel (OBSOLETE) |
$24.48
|
1 |
|
usually ships 1-5 days |
005 |
170-6163
|
On/off switch |
$37.27
|
2 |
|
usually ships 13-18 days |
006a |
991-1635
|
Key |
$2.97
|
1 |
Key, switch prior to serial #TC |
ships same day |
006b |
170-2148
|
Switch Pirior to Serial #SE Key (OBSOLETE) |
$27.83
|
1 |
Key, switch prior to serial #SE |
usually ships 1-5 days |
006c |
991-1635
|
Key |
$2.97
|
1 |
Key, switch prior to serial #SE to TC |
ships same day |