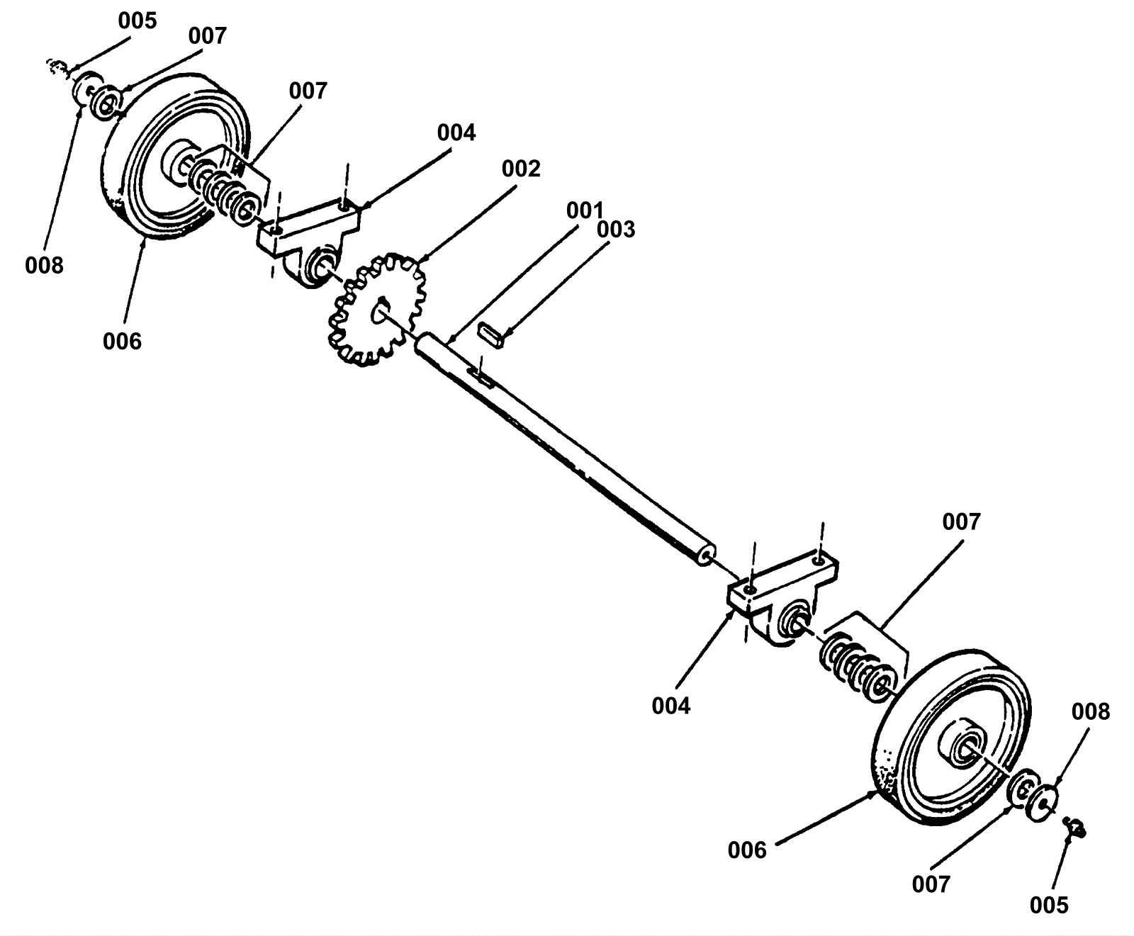
| # | Part | Description | Price | Req | Notes | Availability |
001 |
170-1677
|
Traverse Axle (OBSOLETE) |
$223.34
|
1 |
|
usually ships 1-5 days |
002 |
170-1678
|
Sprocket (OBSOLETE) |
$44.20
|
1 |
|
usually ships 1-5 days |
003 |
170-1679
|
Square keyway |
$1.45
|
1 |
|
usually ships 12-15 days |
004 |
170-1680
|
pillow block bearing (OBSOLETE) |
$96.23
|
2 |
|
usually ships 1-5 days |
005 |
170-1394
|
Grease fitting |
$13.22
|
2 |
|
usually ships 1-5 days |
006a |
N/A
|
Not available |
Call for price
|
2 |
(Traverse wheel) |
usually ships 3-26 days |
006b |
170-1682
|
Seal Repair Part for 59959A Wheel (OBSOLETE) |
$12.43
|
2 |
|
usually ships 1-5 days |
006c |
170-1683
|
Roller Clutch Bearing Repair Part for 59959A Wheel (OBSOLETE |
$133.12
|
2 |
|
usually ships 1-5 days |
007 |
170-1754
|
Washer M1 flat nylon |
$12.89
|
11 |
|
usually ships 13-18 days |
008 |
170-1395
|
Fender washer |
$12.89
|
2 |
|
ships same day |