| # | Part | Description | Price | Req | Notes | Availability |
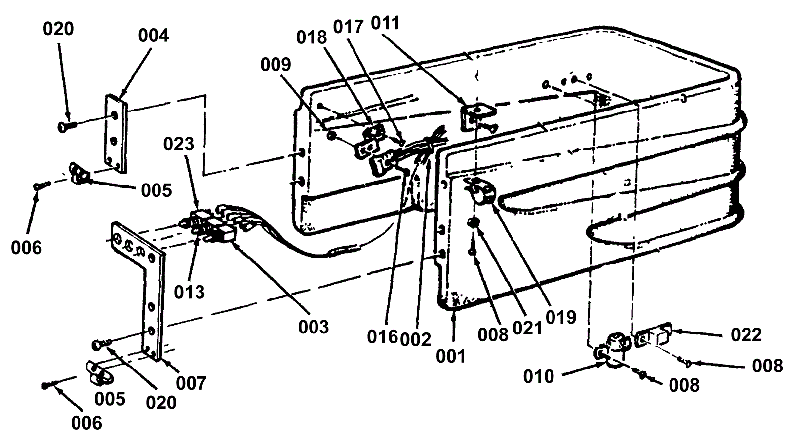
001 |
170-2212
|
Support Tank (OBSOLETE) |
$652.45
|
1 |
|
usually ships 1-5 days |
002 |
170-2193
|
Harness Control (OBSOLETE) |
$303.66
|
1 |
|
usually ships 1-5 days |
003 |
170-2213
|
35 Amp Brush Breaker |
$33.96
|
1 |
|
usually ships 1-5 days |
004 |
170-2214
|
Plate Clamp (OBSOLETE) |
$19.48
|
1 |
|
usually ships 1-5 days |
005 |
170-2124
|
Housing Clamp Strike (OBSOLETE) |
$5.50
|
2 |
|
usually ships 1-5 days |
006 |
170-2135
|
Screw 3-32 x 1/4 (OBSOLETE) |
$1.86
|
4 |
|
usually ships 1-5 days |
007 |
170-2215
|
Circuit Breaker Plate (OBSOLETE) |
$37.42
|
1 |
|
usually ships 1-5 days |
008 |
170-2216
|
Screw (OBSOLETE) |
$1.86
|
6 |
|
usually ships 1-5 days |
009 |
999-0227
|
Nut 6-32 hex nylon insert lock jam zinc plated |
$0.99
|
2 |
|
ships same day |
010 |
170-1797
|
Vacuum solenoid (OBSOLETE) |
$91.00
|
2 |
|
usually ships 13-18 days |
011 |
170-2217
|
Tank Pntd. Bracket (OBSOLETE) |
$15.44
|
5 |
|
usually ships 1-5 days |
013 |
170-0085
|
Circuit breaker, 25 amp, vac |
$28.34
|
1 |
|
usually ships 1-5 days |
016 |
999-0656
|
Screw #6-32 x 7/8 pan head phillips zinc plated |
$0.99
|
2 |
|
ships same day |
018 |
170-2219
|
Battery Bracket (OBSOLETE) |
$10.10
|
1 |
|
usually ships 1-5 days |
019 |
170-0457
|
Strap (OBSOLETE) |
$5.50
|
3 |
|
usually ships 1-5 days |
020 |
999-0522
|
Screw 1/4-20 x 1/2 pan head phillips stainless steel |
$1.03
|
9 |
|
ships same day |
021 |
999-0335
|
Washer 1/4 x 5/8 SAE flat stainless steel |
$0.99
|
3 |
|
ships same day |