| # | Part | Description | Price | Req | Notes | Availability |
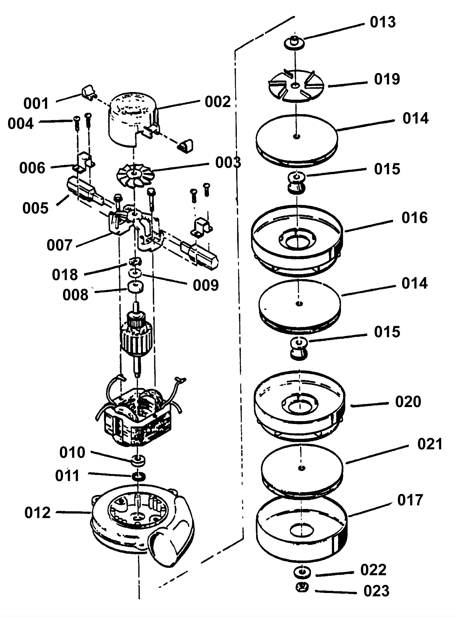
001 |
170-0354
|
Clip |
$10.01
|
2 |
|
usually ships 1-5 days |
002 |
170-0355
|
Housing vent |
$28.95
|
1 |
|
usually ships 1-5 days |
004 |
999-0452
|
Screw 8-32 x 3/8 pan head phillips zinc plated |
$0.99
|
4 |
|
ships same day |
005 |
170-2172
|
Brush mechanism |
$30.32
|
2 |
|
usually ships 1-5 days |
006 |
170-0358
|
Clamp |
$10.01
|
2 |
|
usually ships 1-5 days |
007 |
170-0359
|
Communicator end bracket |
$23.28
|
1 |
|
usually ships 1-5 days |
009 |
170-2173
|
Disc (OBSOLETE) |
$3.29
|
1 |
|
usually ships 1-5 days |
011 |
170-0363
|
Washer neoprene |
$9.13
|
1 |
|
usually ships 1-5 days |
013 |
170-2174
|
Spacer (OBSOLETE) |
$15.69
|
1 |
|
usually ships 1-5 days |
014 |
170-0366
|
Rotating fan |
$53.88
|
2 |
|
usually ships 1-5 days |
015 |
170-0367
|
Spacer (OBSOLETE) |
$17.70
|
2 |
|
usually ships 1-5 days |
018 |
170-2175
|
Load spring (OBSOLETE) |
$2.00
|
1 |
|
usually ships 1-5 days |