| # | Part | Description | Price | Req | Notes | Availability |
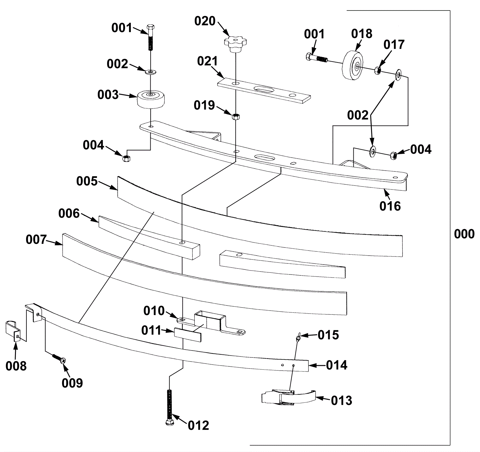
000a |
170-3434
|
Squeegee assembly 29 inch |
$979.07
|
1 |
OPTIONAL |
usually ships 1-5 days |
000b |
170-1668
|
32 inch squeegee assembly |
$850.10
|
1 |
33 inch STANDARD assembly is no longer available. It has been replaced with this 32 inch assembly from Starting at SN AC2077 - 1 pc spacer. |
usually ships 13-18 days |
001 |
999-0550
|
Bolt 3/8-16 x 2 hex head stainless steel |
$2.95
|
4 |
|
ships same day |
002 |
170-0304
|
Washer 15/32 x 1/32 |
$14.41
|
6 |
|
usually ships 1-5 days |
003 |
170-0163
|
Guide wheel |
$40.16
|
2 |
|
ships same day |
004 |
170-1838
|
Nut 3/8-16 hex elastic lock |
$17.17
|
4 |
|
usually ships 13-18 days |
005a |
170-1638
|
Squeegee blade front ribbed urethane 29 inch |
$138.78
|
1 |
OPTIONAL 29 inch assembly |
usually ships 13-18 days |
005b |
170-0159
|
Squeegee blade front notched black 25 8/9 inch |
$38.79
|
1 |
OPTIONAL 29 inch assembly |
usually ships 13-18 days |
005c |
170-8934
|
Squeegee blade front red linatex 29 inch |
$38.79
|
1 |
OPTIONAL 29 inch assembly |
usually ships 13-18 days |
005d |
170-7196
|
Squeegee blade front ribbed urethane 33 inch |
$103.32
|
1 |
STANDARD for 33 inch assembly with 2 pc spacer. |
usually ships 13-18 days |
005e |
170-1840
|
Squeegee blade front black notched 33 inch (OBSOLETE) |
$44.58
|
1 |
STANDARD for 33 inch assembly with 2 pc spacer. |
usually ships 13-18 days |
006a |
170-0156
|
Spacer 29 inch |
$229.25
|
2 |
29 inch |
usually ships 1-5 days |
006b |
170-1841
|
Spacer 33 inch (OBSOLETE) |
Call for price
|
2 |
Can order 170-0155 and cut off 3 1/2 inches to replace this part. |
usually ships 13-18 days |
007a |
170-0153
|
Squeegee blade rear tan 28.12 inch |
$34.23
|
1 |
29 inch assembly |
usually ships 13-18 days |
007b |
170-1644
|
Squeegee blade rear brown nitirile 29 inch (OBSOLETE) |
$52.49
|
1 |
29 inch assembly |
usually ships 13-18 days |
007c |
170-9010
|
Squeegee blade rear red linatex 29 inch |
$50.45
|
1 |
29 inch assembly |
usually ships 13-18 days |
007d |
170-7197
|
Squeegee blade rear tan gum rubber 33 inch |
$56.65
|
1 |
33 inch assembly |
ships same day |
007e |
170-1839
|
Squeegee blade rear brown nitrile 33 inch (OBSOLETE) |
$40.08
|
1 |
33 inch assembly |
usually ships 13-18 days |
008 |
170-0150
|
End clamp (OBSOLETE) |
$51.28
|
1 |
|
usually ships 13-18 days |
009 |
999-0506
|
Bolt 1/4-20 x 1 1/2 hex head stainless steel |
$1.28
|
1 |
|
ships same day |
010 |
170-7126
|
Air duct (OBSOLETE) |
$176.24
|
1 |
|
usually ships 13-18 days |
011 |
170-0166
|
Squeegee gripping pad |
$8.03
|
1 |
|
usually ships 13-18 days |
012 |
999-0887
|
Bolt 3/8-16 x 3 hex head hot dipped galvanized |
$2.82
|
2 |
|
ships same day |
013 |
170-7131
|
Squeegee strap latch (OBSOLETE) |
$98.89
|
1 |
|
usually ships 13-18 days |
014a |
170-7127
|
29 inch weldment clamp (OBSOLETE) |
$51.32
|
1 |
29 inch |
usually ships 13-18 days |
014b |
170-1842
|
Squeegee clamp 33 inch (OBSOELTE) |
$88.06
|
1 |
33 inch |
usually ships 13-18 days |
015 |
170-7130
|
Rivet |
$12.89
|
2 |
|
usually ships 13-18 days |
016a |
170-0162
|
Squeegee weldment 29 inch |
$273.28
|
1 |
29 inch |
usually ships 1-5 days |
016b |
170-1843
|
Squeegee weldment 33 inch (OBSOLETE) |
$112.39
|
1 |
33 inch |
usually ships 1-5 days |
017 |
999-0635
|
Nut 3/8-16 hex stainless steel |
$0.99
|
2 |
|
ships same day |
018 |
170-0165
|
Wheel (OBSOLETE) |
$16.50
|
2 |
|
usually ships 13-18 days |
019 |
999-0628
|
Nut 3/8-16 hex jam stainless steel |
$0.99
|
2 |
|
ships same day |
020 |
170-0171
|
Knob |
$34.00
|
|
|
ships same day |
021 |
170-0164
|
Gasket |
$11.35
|
|
|
usually ships 13-18 days |