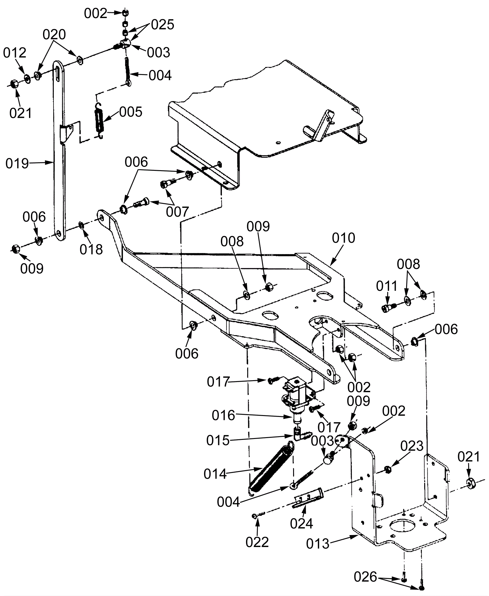
| # | Part | Description | Price | Req | Notes | Availability |
002 |
999-0190
|
Nut 1/4-20 hex plain finish |
$0.99
|
4 |
|
ships same day |
003 |
170-0130
|
Brake rod swivel |
$7.56
|
2 |
|
usually ships 1-5 days |
004 |
170-3443
|
Eye adjustment screw |
$9.27
|
2 |
|
usually ships 1-5 days |
005 |
170-1666
|
Pressure spring |
$15.73
|
1 |
|
usually ships 1-5 days |
006 |
170-1667
|
Washer (OBSOLETE) |
$10.52
|
8 |
|
usually ships 13-18 days |
007 |
170-1295
|
Bolt 3/8 x 3/8 plated shoulder (OBSOLETE) |
$11.25
|
3 |
|
usually ships 13-18 days |
008 |
999-9114
|
Washer 3/4 flat stainless steel |
$1.58
|
6 |
|
ships same day |
009 |
999-0069
|
Nut 5/16-18 hex |
$0.99
|
4 |
|
ships same day |
010 |
170-1669
|
Brush lift frame |
$291.50
|
1 |
|
usually ships 1-5 days |
011a |
999-0280
|
Bolt 3/8-16 x 1 3/8 hex head grade 5 zinc plated |
$0.99
|
2 |
(S20) |
ships same day |
011b |
170-3444
|
Shoulder bolt |
$12.89
|
2 |
(L20) |
usually ships 13-18 days |
012 |
999-0024
|
Washer 5/16 flat stainless steel |
$1.34
|
1 |
|
ships same day |
013 |
170-1701
|
Bracket (OBSOLETE) |
$191.40
|
1 |
|
usually ships 1-5 days |
014 |
170-0175
|
Pressure spring (OBSOLETE) |
$41.84
|
1 |
|
usually ships 13-18 days |
015 |
170-6093
|
1/4 elbow (OBSOLETE) |
$17.90
|
1 |
|
usually ships 13-18 days |
016 |
170-1702
|
Solution solenoid valve |
$425.50
|
1 |
|
usually ships 13-18 days |
017 |
999-0081
|
Screw 1/4-20 x 5/8 pan head slotted zinc |
$0.99
|
2 |
|
ships same day |
018 |
999-0843
|
Washer 5/8 flat nylon |
$0.99
|
1 |
|
ships same day |
019 |
170-1704
|
Brush lift link (OBSOLETE) |
$27.50
|
1 |
|
usually ships 1-5 days |
020 |
170-1705
|
Washer |
$10.52
|
2 |
|
usually ships 1-5 days |
021a |
999-0593
|
Nut 5/16-18 hex stainless steel |
$0.99
|
3 |
(S20) |
ships same day |
021b |
999-0069
|
Nut 5/16-18 hex |
$0.99
|
3 |
(L20) |
ships same day |
022 |
999-0267
|
Screw 10-24 x 1/2 pan head phillips zinc |
$0.99
|
2 |
|
ships same day |
023 |
999-0442
|
Nut 10-24 nylon insert lock stainless steel |
$1.76
|
2 |
|
ships same day |
024 |
170-1707
|
Deflector plate |
$14.30
|
1 |
|
usually ships 1-5 days |
025 |
170-0117
|
Spacer |
$27.93
|
|
(optional) |
usually ships 1-5 days |
026a |
999-0325
|
Screw 8-32 x 5/16 round head slotted zinc plated |
$0.99
|
2 |
(S20) |
ships same day |
026b |
170-3445
|
Screw |
$10.52
|
2 |
(L20) |
usually ships 1-5 days |