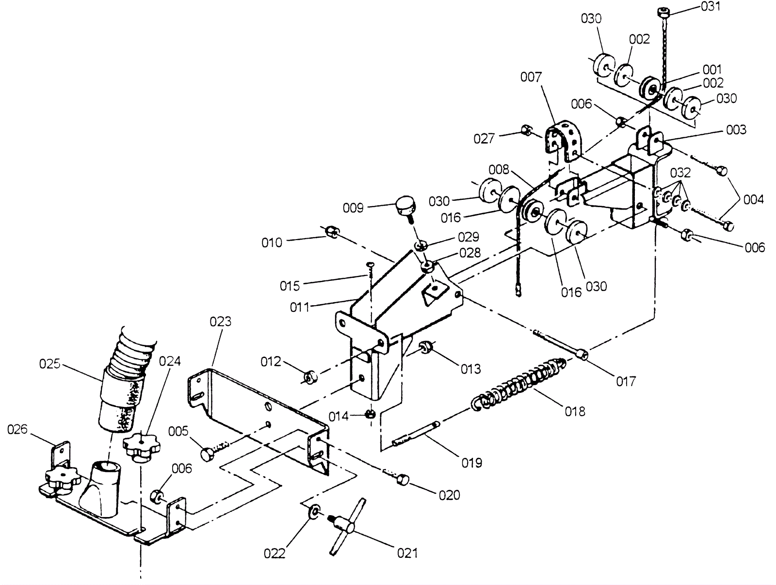
# | Part | Description | Price | Req | Notes | Availability |
001 |
372-2615
|
Squeegee pulley cable |
$75.67
|
2 |
|
usually ships 13-18 days |
002 |
170-7109
|
Washer 1 1/4 nylon |
$10.78
|
2 |
|
usually ships 13-18 days |
003 |
170-7110
|
Front swing arm |
$238.92
|
1 |
|
usually ships 13-18 days |
004 |
999-0634
|
Bolt 1/4-20 x 1 1/2 hex head full thread grade 5 zinc plated |
$0.99
|
2 |
|
ships same day |
005a |
999-0649
|
Bolt 3/8-16 x 1 1/4 hex head stainless steel |
$1.21
|
1 |
|
ships same day |
005b |
999-0617
|
Washer 3/8 x 1 flat stainless steel |
$1.82
|
1 |
|
ships same day |
006 |
999-0294
|
Nut 1/4-20 hex nylon lock type NE stainless steel |
$1.18
|
5 |
|
ships same day |
007 |
170-7111
|
Strap |
$12.31
|
1 |
|
usually ships 13-18 days |
008 |
170-7112
|
Lower cable |
$80.16
|
1 |
|
usually ships 13-18 days |
009 |
170-7113
|
Bumper |
$11.99
|
1 |
|
usually ships 13-18 days |
010 |
999-0211
|
Nut 5/16-18 hex nylon insert lock zinc plated |
$0.99
|
2 |
|
ships same day |
011 |
170-7114
|
Rear swing arm |
$261.33
|
1 |
|
usually ships 13-18 days |
012 |
999-0069
|
Nut 5/16-18 hex |
$0.99
|
2 |
|
ships same day |
013 |
999-0513
|
Nut 3/8-16 nylon insert lock type NE stainless steel |
$3.96
|
1 |
|
ships same day |
014 |
999-0211
|
Nut 5/16-18 hex nylon insert lock zinc plated |
$0.99
|
1 |
|
ships same day |
015 |
999-0333
|
Screw 10-24 x 1/2 pan head phillips stainless steel |
$0.99
|
1 |
|
ships same day |
016 |
170-7115
|
Washer 1 1/2 x 1/8 flat nylon |
$12.31
|
2 |
|
usually ships 13-18 days |
017 |
999-0636
|
Screw 5/16-18 x 2 socket head shoulder |
$3.34
|
1 |
|
ships same day |
018 |
170-7116
|
Squeegee pressure spring |
$12.31
|
2 |
|
usually ships 13-18 days |
019 |
170-7117
|
Stud (OBSOLETE) |
$22.41
|
2 |
|
usually ships 13-18 days |
020 |
999-0334
|
Bolt 1/4-20 x 3/4 inch hex head stainless steel |
$3.85
|
2 |
|
usually ships 16-20 days |
021 |
170-0714
|
T-handle |
$62.83
|
3 |
|
usually ships 13-18 days |
022 |
999-0549
|
Washer 5/16 x 3/4 SAE flat stainless steel |
$0.99
|
1 |
|
ships same day |
023 |
170-7118
|
Squeegee mounting bracket |
$172.76
|
1 |
|
usually ships 13-18 days |
024 |
170-0171
|
Knob |
$29.52
|
2 |
|
ships same day |
025 |
170-7084
|
Squeegee vacuum hose with 1 cuff |
$60.06
|
1 |
|
usually ships 13-18 days |
026 |
170-7119
|
Squeegee hose bracket |
$106.04
|
1 |
|
usually ships 13-18 days |
027 |
999-0152
|
Nut 1/4-20 nylon insert lock zinc plated |
$0.99
|
1 |
|
ships same day |
028 |
999-0190
|
Nut 1/4-20 hex plain finish |
$0.99
|
1 |
|
ships same day |
029 |
999-0060
|
Washer 1/4 split lock plain finish |
$0.99
|
1 |
|
ships same day |
030 |
170-7132
|
Washer 1 1/4 |
$1.21
|
4 |
|
usually ships 12-15 days |
031 |
999-0718
|
Nut 1/4-28 hex jam zinc plated |
$0.99
|
1 |
|
ships same day |
032 |
999-0335
|
Washer 1/4 x 5/8 SAE flat stainless steel |
$0.99
|
4 |
|
ships same day |