| # | Part | Description | Price | Req | Notes | Availability | 
|---|
          
            
            
                
                  
                  
                  
				       
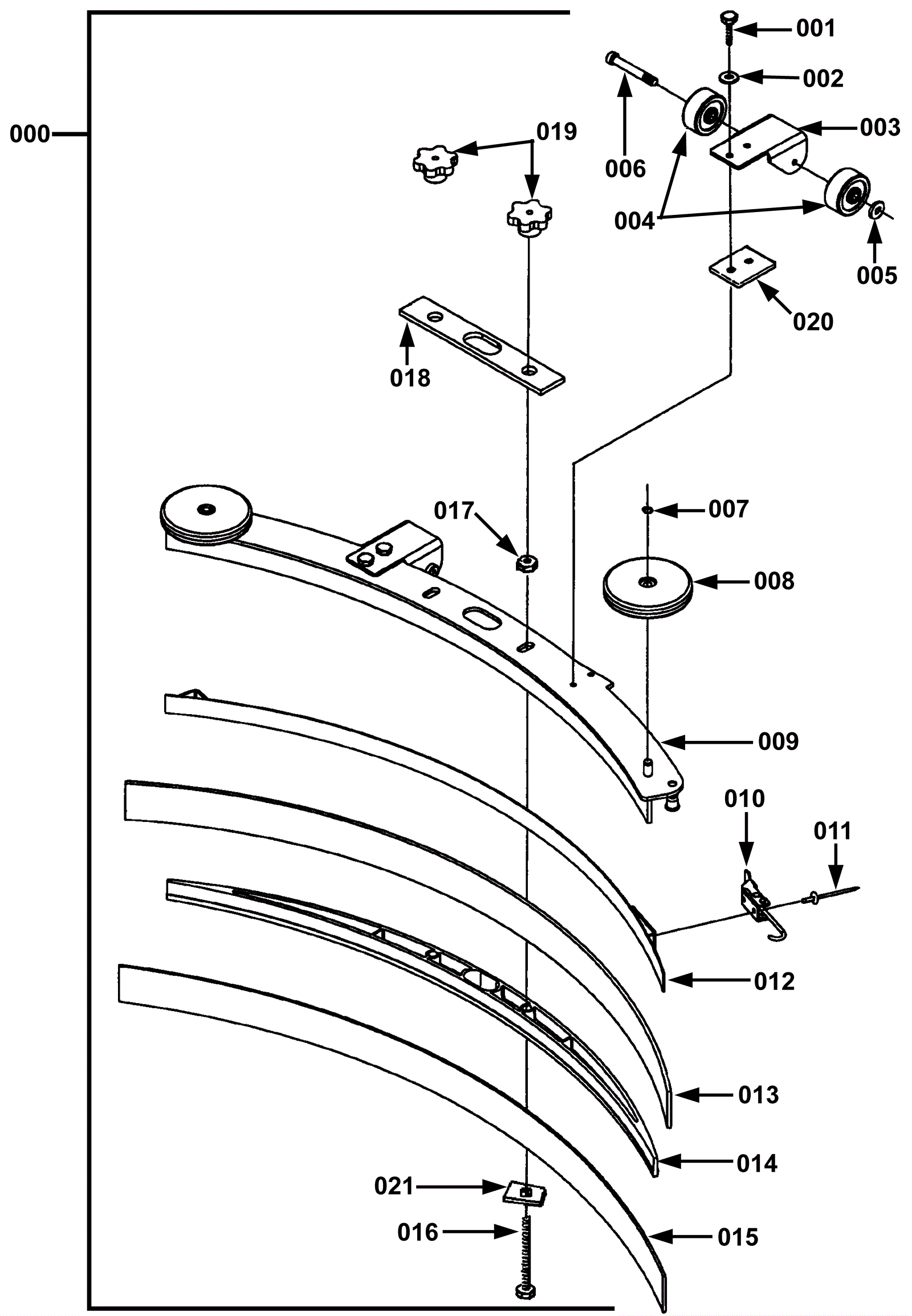
				      000 | 170-7188 | 39 inch squeegee assembly | $881.93 | 1 | (includes 001-021) | usually ships 13-18 days | 001 | 999-0506 | Bolt 1/4-20 x 1 1/2 hex head stainless steel | $1.28 | 4 |  | ships same day | 002 | 999-0060 | Washer 1/4 split lock plain finish | $0.99 | 4 |  | ships same day | 003 | 170-7168 | Squeegee wheel bracket | $80.75 | 2 |  | usually ships 13-18 days | 004 | 170-7169 | Squeegee wheel | $17.17 | 4 |  | usually ships 13-18 days | 005 | 999-0294 | Nut 1/4-20 hex nylon lock type NE stainless steel | $1.18 | 2 |  | ships same day | 006 | 170-7170 | Bolt 5/16 x 2 1/4 shoulder | $5.50 | 2 |  | ships same day | 007 | 170-7171 | 3/8 inch snap ring | $12.89 | 2 |  | usually ships 13-18 days | 008 | 170-7172 | 4 inch guide wheel | $35.75 | 2 |  | ships same day | 009 | 170-7161 | 39 inch squeegee weldment | $489.15 | 1 |  | usually ships 13-18 days | 010 | 170-7162 | Clamp latch | $74.32 | 1 |  | usually ships 13-18 days | 011 | 170-7163 | Aluminum rivet | $1.21 | 2 |  | usually ships 12-15 days | 012 | 170-7164 | 39 inch retainer clamp strap | $168.42 | 1 |  | usually ships 13-18 days | 013a | 170-7160 | Squeegee blade 43 1/2 inch gum rubber rear (tan) | $46.67 | 1 | (OEM) (Standard) | usually ships 13-18 days | 013b | 994-0018 | Squeegee blade 43 1/2 inch gum rubber rear (tan) | $20.74 | 1 | (NON-OEM) | usually ships 25-31 days | 013c | 170-8920 | Squeegee blade 43 1/2 inch linatex rear (red) | $28.94 | 1 | (Optional) | ships same day | 014 | 170-7159 | 39 inch squeegee spacer | $51.96 | 1 |  | usually ships 13-18 days | 015a | 170-7167 | Squeegee blade 40 1/4 inch urethane front (clear) | $46.67 | 1 | (OEM) (Standard) | ships same day | 015b | 994-0021 | Squeegee blade 40 1/4 inch urethane front (clear) | $76.74 | 1 | (NON-OEM) | ships same day | 015c | 170-8919 | Squeegee blade 39 inch linatex notched rear | $22.58 | 1 | (Optional) | ships same day | 016 | 999-0626 | Screw 3/8-16 x 3 carriage head stainless steel | $5.50 | 2 |  | ships same day | 017 | 999-0628 | Nut 3/8-16 hex jam stainless steel | $0.99 | 2 |  | ships same day | 018 | 170-0164 | Gasket | $11.35 | 1 |  | usually ships 13-18 days | 019 | 170-0171 | Knob | $34.00 | 2 |  | ships same day | 020 | 170-7177 | Shim | $12.89 | 8 |  | usually ships 13-18 days | 021 | 170-3394 | Back up nut | $22.58 | 2 |  | usually ships 13-18 days |