| # | Part | Description | Price | Req | Notes | Availability |
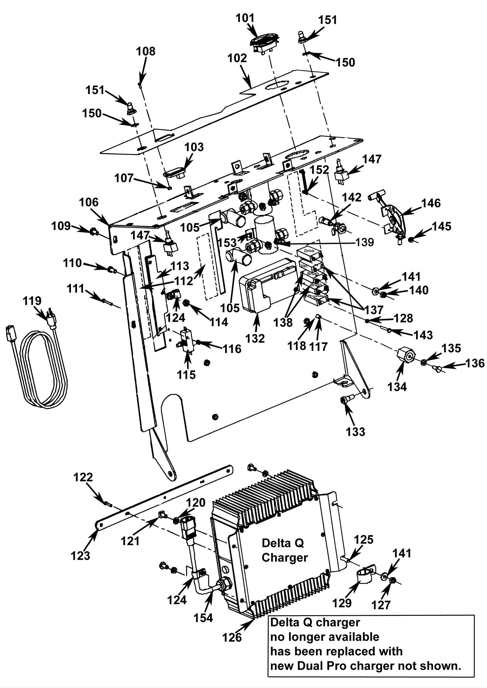
101 |
164-1451
|
Hour meter |
$133.54
|
1 |
|
usually ships 19-25 days |
102 |
164-7909
|
Control plate |
$43.07
|
1 |
|
usually ships 1-5 days |
103 |
164-7405
|
Trucharge indicator |
$113.33
|
1 |
|
usually ships 19-25 days |
105 |
164-9052
|
Terminal boot (red) |
$9.31
|
2 |
|
usually ships 1-5 days |
106 |
164-7406
|
Rear panel |
$477.95
|
1 |
|
usually ships 1-5 days |
107 |
164-7407
|
Hex nut with star lock washer 4-40 |
$11.02
|
2 |
|
usually ships 1-5 days |
108 |
999-1387
|
Screw 4-40 x 3/8 pan head phillips stainless steel |
$0.99
|
2 |
|
ships same day |
109 |
999-0567
|
Screw 1/4-20 x 5/8 pan head phillips stainless steel |
$0.99
|
8 |
|
ships same day |
110 |
999-0019
|
Bolt 1/4-20 x 5/8 hex head grade 5 zinc plated |
$0.99
|
3 |
|
ships same day |
111 |
999-0172
|
Screw 6-32 x 1 1/8 round head slotted zinc plated |
$0.99
|
2 |
|
ships same day |
112 |
164-7410
|
Rear panel drive decal kit |
$23.72
|
1 |
|
usually ships 1-5 days |
113 |
164-1457
|
Brush handle lock plate |
$16.36
|
1 |
|
ships same day |
114 |
999-0152
|
Nut 1/4-20 nylon insert lock zinc plated |
$0.99
|
1 |
|
ships same day |
115 |
164-0015
|
Switch |
$34.66
|
3 |
|
ships same day |
116 |
999-0195
|
Nut 6-32 hex plain |
$0.99
|
1 |
|
ships same day |
117 |
999-0018
|
Bolt 1/4-20 x 1/2 hex cap grade 5 zinc plated |
$0.99
|
2 |
|
ships same day |
118 |
999-0060
|
Washer 1/4 split lock plain finish |
$0.99
|
1 |
|
ships same day |
119 |
164-6477
|
Onboard charger extension cord |
$32.26
|
1 |
|
ships same day |
120 |
999-0060
|
Washer 1/4 split lock plain finish |
$0.99
|
1 |
|
ships same day |
121 |
999-0567
|
Screw 1/4-20 x 5/8 pan head phillips stainless steel |
$0.99
|
4 |
|
ships same day |
122 |
164-9112
|
Screw M3-.5 x 19mm pan head phillips (pkg of 5) |
$15.51
|
3 |
|
usually ships 1-5 days |
123 |
164-9113
|
Cord wrap |
$29.18
|
2 |
|
usually ships 19-25 days |
124 |
164-3243
|
P clamp |
$4.18
|
1 |
|
usually ships 1-5 days |
125 |
999-0297
|
Bolt 1/4-20 x 1 hex head stainless steel |
$2.53
|
2 |
|
ships same day |
126a |
164-7962
|
Onboard charger retro kit - Wrangler 2730-3330 |
$1,390.95
|
1 |
(NSS) |
usually ships 19-25 days |
126b |
162-9027
|
36V 25amp onboard battery charger (Dual Pro) (AGM/wet) |
$906.57
|
1 |
(Dual Pro) (Does not include green wire. Open the control panel and in the main harness bundle (running up from the trio to the LCD/switches) there should be a black wire taped up (it may be tagged remote/off board charger only). Release that wire and run it up to the E-Stop and attach it into the terminal where the green wire is connected.) |
ships same day |
127 |
999-0152
|
Nut 1/4-20 nylon insert lock zinc plated |
$0.99
|
1 |
|
ships same day |
128 |
999-0150
|
Washer #8 medium split lock |
$0.99
|
2 |
|
ships same day |
129 |
164-0934
|
P clamp |
$5.90
|
1 |
|
usually ships 19-25 days |
132 |
164-7403
|
36V drive controller |
$650.97
|
1 |
|
usually ships 19-25 days |
133 |
164-1458
|
Bolt 5/16-18 x 3/8 long socket head |
$11.67
|
2 |
|
usually ships 19-25 days |
134 |
164-0310
|
Insulated stand off |
$13.66
|
1 |
|
usually ships 19-25 days |
135 |
999-0060
|
Washer 1/4 split lock plain finish |
$0.99
|
1 |
|
ships same day |
136 |
999-0019
|
Bolt 1/4-20 x 5/8 hex head grade 5 zinc plated |
$0.99
|
1 |
|
ships same day |
137 |
991-1609
|
25amp circuit breaker |
$66.55
|
2 |
(controller and vacuum) |
usually ships 19-25 days |
138 |
991-1618
|
30amp circuit breaker |
$82.69
|
2 |
(brush) |
usually ships 19-25 days |
139 |
991-1223
|
36V solenoid contactor with 4 post |
$48.17
|
2 |
|
usually ships 18-24 days |
140 |
999-0152
|
Nut 1/4-20 nylon insert lock zinc plated |
$0.99
|
4 |
|
ships same day |
141 |
999-0123
|
Washer 1/4 SAE flat zinc plated |
$0.99
|
5 |
|
ships same day |
142a |
164-1328
|
Fuse holder with nut and washer |
$18.41
|
1 |
|
ships same day |
142b |
164-6480
|
4amp fuse |
$4.57
|
1 |
|
ships same day |
143 |
999-1388
|
Screw 8-32 x 1 1/8 round head phillips |
$2.79
|
2 |
|
usually ships 1-5 days |
145 |
999-0004
|
Nut 10-24 k-lock zinc plated |
$0.99
|
2 |
|
ships same day |
146 |
164-1408
|
Solution lever and cable assembly |
$36.80
|
1 |
|
usually ships 19-25 days |
147 |
164-0023
|
Toggle switch |
$24.95
|
2 |
|
usually ships 19-25 days |
150 |
999-0260
|
Washer 1/2 internal starlock |
$0.99
|
2 |
|
ships same day |
151 |
164-0287
|
Rubber switch boot |
$11.36
|
2 |
|
usually ships 19-25 days |
152 |
999-0008
|
Screw 10-24 x 5/8 round head slotted zinc plated |
$0.99
|
2 |
|
ships same day |
153 |
999-0019
|
Bolt 1/4-20 x 5/8 hex head grade 5 zinc plated |
$0.99
|
4 |
|
ships same day |
154 |
164-7292
|
Replacement AC cord and panel assembly (Delta Q) (OBSOLETE) |
$107.75
|
1 |
|
usually ships 1-5 days |