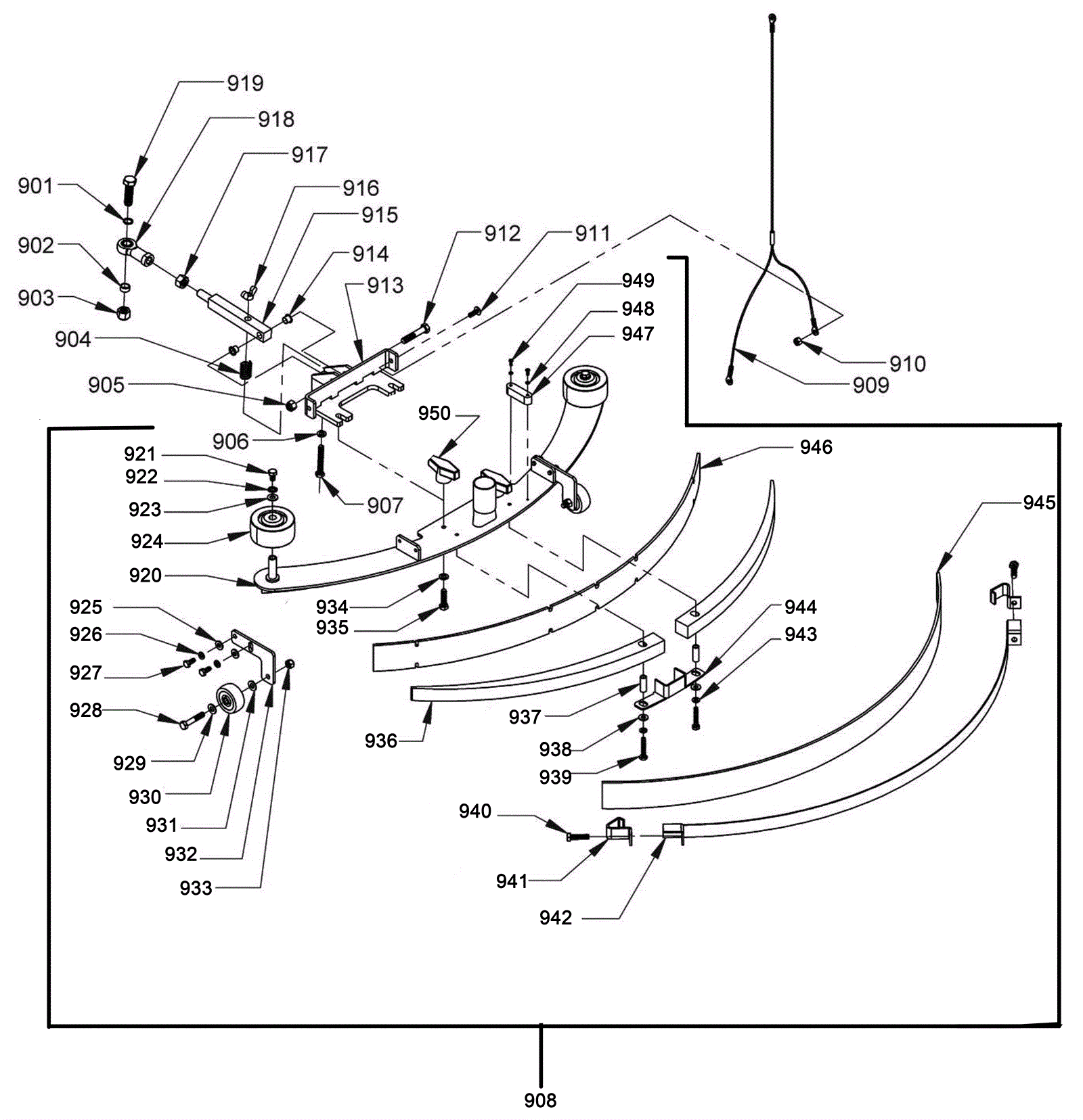
# | Part | Description | Price | Req | Notes | Availability |
901 |
164-6007
|
Spacer |
$2.70
|
1 |
|
usually ships 19-25 days |
902 |
164-0234
|
Bushing |
$14.05
|
1 |
|
ships same day |
903 |
999-0262
|
Nut 1/2-13 nylon insert jam lock zinc plated |
$0.99
|
1 |
|
ships same day |
904 |
164-0856
|
Height adjustment spring |
$7.82
|
1 |
|
usually ships 19-25 days |
905 |
999-0188
|
Nut 3/8-16 nylon insert lock zinc plated |
$0.99
|
1 |
|
ships same day |
906 |
999-0028
|
Washer 5/16 split lock plain finish |
$0.99
|
1 |
|
ships same day |
907 |
999-0129
|
Bolt 5/16-18 x 2 1/2 tap hd full thread grade 5 zinc plated |
$1.45
|
1 |
|
ships same day |
908 |
164-9934
|
Squeegee assembly curved |
$1,269.84
|
1 |
(includes 920-950) |
usually ships 19-25 days |
920 |
164-9934
|
Squeegee assembly curved |
$1,269.84
|
1 |
|
usually ships 19-25 days |
921 |
999-0029
|
Bolt 5/16-18 x 1/2 hex head plain finish |
$0.99
|
2 |
|
ships same day |
922 |
999-0105
|
Washer 5/16 external star lock zinc plated |
$0.99
|
2 |
|
ships same day |
923 |
999-0024
|
Washer 5/16 flat stainless steel |
$1.34
|
2 |
|
ships same day |
924 |
991-2009
|
3 inch bumper wheel |
$9.39
|
2 |
|
usually ships 19-25 days |
925 |
999-0335
|
Washer 1/4 x 5/8 SAE flat stainless steel |
$0.99
|
4 |
|
ships same day |
926 |
999-0060
|
Washer 1/4 split lock plain finish |
$0.99
|
4 |
|
ships same day |
927 |
999-0019
|
Bolt 1/4-20 x 5/8 hex head grade 5 zinc plated |
$0.99
|
4 |
|
ships same day |
928 |
999-0108
|
Bolt 5/16-18 x 1 3/4 hex head grade 5 zinc plated |
$0.99
|
2 |
|
ships same day |
929 |
999-0024
|
Washer 5/16 flat stainless steel |
$1.34
|
2 |
|
ships same day |
930 |
991-2005
|
Small roller wheel (gray) |
$4.97
|
2 |
|
usually ships 14-20 days |
931 |
999-0024
|
Washer 5/16 flat stainless steel |
$1.34
|
2 |
|
ships same day |
932 |
164-1137
|
Dolly wheel mounting bracket |
$29.11
|
2 |
|
usually ships 19-25 days |
933 |
999-0211
|
Nut 5/16-18 hex nylon insert lock zinc plated |
$0.99
|
2 |
|
ships same day |
934 |
999-0028
|
Washer 5/16 split lock plain finish |
$0.99
|
2 |
|
ships same day |
935 |
999-0639
|
Bolt 5/16-18 x 1 1/4 hex hd full thread grade 5 zinc plated |
$1.82
|
2 |
|
ships same day |
936 |
164-9261
|
16 inch curved squeegee wedge |
$50.97
|
2 |
|
usually ships 19-25 days |
937 |
164-1139
|
Spacer |
$8.28
|
2 |
|
usually ships 19-25 days |
938 |
999-0335
|
Washer 1/4 x 5/8 SAE flat stainless steel |
$0.99
|
2 |
|
ships same day |
939 |
999-0344
|
Bolt 1/4-20 x 1 1/2 hex head plain finish |
$0.99
|
2 |
|
ships same day |
940 |
999-0639
|
Bolt 5/16-18 x 1 1/4 hex hd full thread grade 5 zinc plated |
$1.82
|
2 |
|
ships same day |
941 |
164-9262
|
Hooked end (OBSOLETE) |
$11.39
|
2 |
|
usually ships 19-25 days |
942 |
164-9263
|
34 inch curved squeegee strap |
$58.16
|
1 |
|
usually ships 19-25 days |
943 |
999-0060
|
Washer 1/4 split lock plain finish |
$0.99
|
2 |
|
ships same day |
944 |
164-1138
|
Wedge bracket |
$81.87
|
1 |
|
usually ships 19-25 days |
945 |
164-7486
|
Squeegee blade linatex rear |
$90.64
|
1 |
|
usually ships 19-25 days |
946 |
164-7485
|
33 inch squeegee blade neoprene front |
$36.66
|
1 |
|
ships same day |
947 |
164-9265
|
Squeegee level |
$14.62
|
1 |
|
usually ships 19-25 days |
948 |
999-0051
|
Washer #6 medium split lock |
$0.99
|
2 |
|
ships same day |
949 |
999-0147
|
Screw 6-32 x 3/8 round head slotted zinc plated |
$0.99
|
2 |
|
ships same day |
950 |
164-1565
|
Knob |
$25.47
|
2 |
|
ships same day |
909 |
164-8082
|
Squeegee cable |
$26.54
|
1 |
|
ships same day |
910 |
999-0152
|
Nut 1/4-20 nylon insert lock zinc plated |
$0.99
|
2 |
|
ships same day |
911 |
999-0081
|
Screw 1/4-20 x 5/8 pan head slotted zinc |
$0.99
|
2 |
|
ships same day |
912 |
999-0107
|
Bolt 3/8-16 x 2 hex head grade 5 zinc plated |
$1.19
|
1 |
|
ships same day |
913 |
164-2138
|
Squeegee bracket plated |
$151.49
|
1 |
|
ships same day |
914 |
164-0858
|
Flanged bushing |
$3.72
|
2 |
|
ships same day |
915 |
164-0859
|
Squeegee shaft |
$39.36
|
1 |
|
ships same day |
916 |
999-1681
|
Nut 5/16-18 wing nylock |
$9.68
|
1 |
|
usually ships 16-20 days |
917 |
999-0134
|
Nut 1/2-20 hex jam plain finish |
$0.99
|
1 |
|
ships same day |
918 |
164-0238
|
Ball joint |
$59.10
|
1 |
|
usually ships 19-25 days |
919 |
999-0372
|
Bolt 1/2-13 x 1 3/4 hex head |
$0.99
|
1 |
|
ships same day |