| # | Part | Description | Price | Req | Notes | Availability |
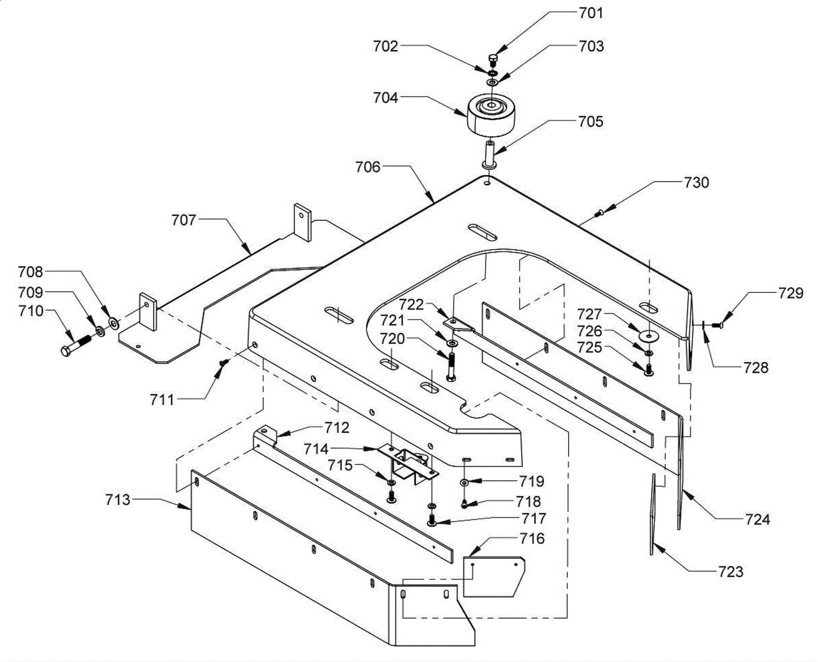
701 |
999-0029
|
Bolt 5/16-18 x 1/2 hex head plain finish |
$0.99
|
1 |
|
ships same day |
702 |
999-0105
|
Washer 5/16 external star lock zinc plated |
$0.99
|
1 |
|
ships same day |
703 |
999-0024
|
Washer 5/16 flat stainless steel |
$1.34
|
1 |
|
ships same day |
704 |
991-2009
|
3 inch bumper wheel |
$9.39
|
1 |
|
usually ships 19-25 days |
705 |
164-2404
|
Plated bumper wheel axle |
$33.33
|
1 |
|
usually ships 19-25 days |
706 |
164-9258
|
20 inch front skirt |
$253.54
|
1 |
|
usually ships 19-25 days |
707 |
164-9259
|
Skirt mounting bracket and latch |
$107.00
|
1 |
|
usually ships 19-25 days |
708 |
164-0941
|
Washer 13/32 x 13/16 |
$7.38
|
2 |
|
ships same day |
709 |
999-0034
|
Washer 3/8 split lock plain finish |
$1.82
|
2 |
|
ships same day |
710 |
999-0107
|
Bolt 3/8-16 x 2 hex head grade 5 zinc plated |
$1.19
|
2 |
|
ships same day |
711 |
999-0421
|
Screw 10-24 x 1/2 flat head phillips zinc plated |
$0.99
|
4 |
|
ships same day |
712 |
164-2236
|
Left skirt strap |
$57.00
|
1 |
|
ships same day |
713 |
164-2241
|
Left splash guard |
$19.49
|
1 |
|
ships same day |
714 |
164-8085
|
Valve bracket |
$34.18
|
1 |
|
usually ships 19-25 days |
715 |
999-0060
|
Washer 1/4 split lock plain finish |
$0.99
|
2 |
|
ships same day |
716 |
164-2243
|
Left rear skirt strap |
$27.13
|
1 |
|
usually ships 19-25 days |
717 |
999-1080
|
Screw 1/4-20 x 5/8 truss head phillips stainless steel |
$0.99
|
2 |
|
ships same day |
718 |
999-0231
|
Screw 10-24 x 1/2 round head slotted zinc plated |
$0.99
|
2 |
|
ships same day |
719 |
999-0998
|
Washer #10 flat stainless steel |
$0.99
|
2 |
|
ships same day |
720 |
999-0108
|
Bolt 5/16-18 x 1 3/4 hex head grade 5 zinc plated |
$0.99
|
1 |
|
ships same day |
721 |
999-0024
|
Washer 5/16 flat stainless steel |
$1.34
|
1 |
|
ships same day |
722 |
164-2238
|
Right skirt strap |
$57.00
|
1 |
|
ships same day |
723 |
164-2244
|
Right rear skirt strap |
$27.13
|
1 |
|
usually ships 19-25 days |
724 |
164-2242
|
Right splash guard |
$19.49
|
1 |
|
ships same day |
725 |
999-1080
|
Screw 1/4-20 x 5/8 truss head phillips stainless steel |
$0.99
|
2 |
|
ships same day |
726 |
999-0060
|
Washer 1/4 split lock plain finish |
$0.99
|
2 |
|
ships same day |
727 |
999-0160
|
Washer 1/4 x 1 1/4 fender zinc plated |
$0.99
|
1 |
|
ships same day |
728 |
999-0998
|
Washer #10 flat stainless steel |
$0.99
|
2 |
|
ships same day |
729 |
999-0231
|
Screw 10-24 x 1/2 round head slotted zinc plated |
$0.99
|
2 |
|
ships same day |
730 |
999-0421
|
Screw 10-24 x 1/2 flat head phillips zinc plated |
$0.99
|
4 |
|
ships same day |