| # | Part | Description | Price | Req | Notes | Availability |
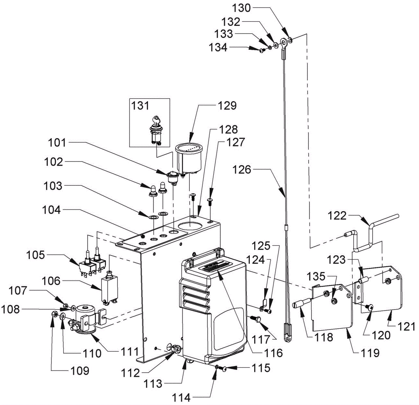
101 |
164-8295
|
Round power switch |
$6.53
|
1 |
|
ships same day |
102 |
164-0287
|
Rubber switch boot |
$11.36
|
2 |
|
usually ships 19-25 days |
103 |
164-0289
|
Washer flat stainless steel |
$7.38
|
2 |
|
ships same day |
104 |
164-9232
|
Control panel decal |
$3.03
|
1 |
|
usually ships 19-25 days |
105 |
164-0290
|
Toggle switch |
$14.63
|
2 |
|
usually ships 15-16 days |
106 |
164-2258
|
45 amp circuit breaker |
$157.00
|
1 |
|
usually ships 19-25 days |
107 |
999-0357
|
Nut 8-32 nylon insert lock stainless steel |
$0.99
|
1 |
|
ships same day |
108 |
999-0998
|
Washer #10 flat stainless steel |
$0.99
|
1 |
|
ships same day |
109 |
999-0152
|
Nut 1/4-20 nylon insert lock zinc plated |
$0.99
|
1 |
|
ships same day |
110 |
999-0335
|
Washer 1/4 x 5/8 SAE flat stainless steel |
$0.99
|
1 |
|
ships same day |
111 |
164-0892
|
24V solenoid contactor |
$96.03
|
1 |
|
ships same day |
112 |
164-4604
|
Heyco strain relief |
$3.03
|
1 |
|
usually ships 1-5 days |
113 |
164-7302
|
24V onboard battery charger |
$1,174.60
|
1 |
|
ships same day |
113a |
164-9184
|
24V onboard battery charger |
$1,181.03
|
1 |
|
usually ships 19-25 days |
114 |
999-0053
|
Washer #10 split lock plain finish |
$0.99
|
4 |
|
ships same day |
115 |
999-0166
|
Screw 10-24 x 5/8 truss head slotted zinc plated |
$5.50
|
4 |
|
ships same day |
116 |
164-9187
|
Warning decal |
$22.69
|
1 |
|
usually ships 1-5 days |
117 |
999-1103
|
Bolt 1/4-20 x 3/4 hex head with nylon patch |
$4.94
|
1 |
|
ships same day |
118 |
164-9233
|
Squeegee lift handle rest |
$12.06
|
1 |
|
usually ships 19-25 days |
119 |
164-9234
|
Left squeegee lift bracket |
$30.26
|
1 |
|
usually ships 19-25 days |
120 |
999-0081
|
Screw 1/4-20 x 5/8 pan head slotted zinc |
$0.99
|
4 |
|
ships same day |
121 |
164-9235
|
Right squeegee lift bracket |
$33.21
|
1 |
|
usually ships 19-25 days |
122 |
164-9236
|
Squeegee lift handle |
$23.60
|
1 |
|
ships same day |
123 |
164-9237
|
Lift bracket support spacer |
$16.10
|
1 |
|
usually ships 19-25 days |
124 |
164-9238
|
Drain hose clip |
$6.28
|
1 |
|
usually ships 19-25 days |
125 |
999-0055
|
Screw 8-32 x 3/4 round head slotted zinc plated |
$0.99
|
1 |
|
ships same day |
126 |
164-8082
|
Squeegee cable |
$26.54
|
1 |
|
ships same day |
127 |
999-0454
|
Screw 10-24 x 1/2 truss head phillips zinc plated |
$0.99
|
6 |
|
ships same day |
128 |
164-9239
|
Control panel |
$69.18
|
1 |
|
usually ships 19-25 days |
129a |
164-8005
|
Battery meter with hardware |
$245.64
|
1 |
|
usually ships 19-25 days |
129b |
264-0023
|
Battery meter conversion kit |
$205.91
|
1 |
|
usually ships 19-25 days |
130 |
164-9188
|
6mm retaining ring |
$4.44
|
2 |
|
usually ships 19-25 days |
131 |
164-9240
|
Key switch kit |
$33.22
|
1 |
(includes 131a and 131b) |
usually ships 19-25 days |
131a |
164-6465
|
Wire assembly key switch adapter |
$8.28
|
1 |
|
usually ships 1-5 days |
131b |
164-1660
|
Key switch and key |
$32.77
|
1 |
|
ships same day |
132 |
999-0998
|
Washer #10 flat stainless steel |
$0.99
|
1 |
|
ships same day |
133 |
999-0053
|
Washer #10 split lock plain finish |
$0.99
|
1 |
|
ships same day |
134 |
999-0645
|
Screw 10-24 x 3/8 round head phillips stainless steel |
$0.99
|
1 |
|
ships same day |
135 |
164-9241
|
Snap-in nyliner bearing |
$11.67
|
3 |
|
usually ships 19-25 days |