| # | Part | Description | Price | Req | Notes | Availability |
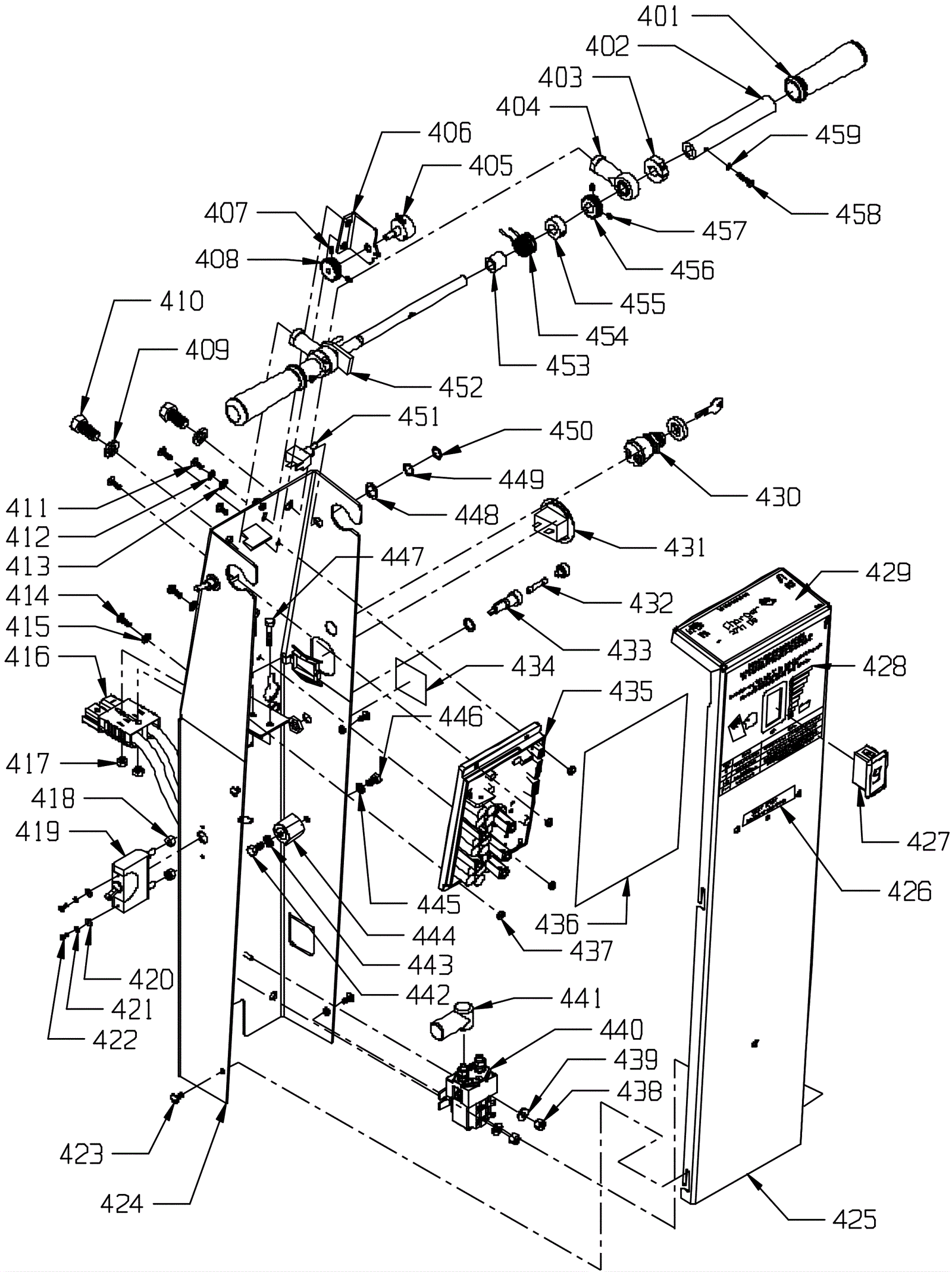
401a |
164-0304
|
Handle grip |
$71.48
|
2 |
|
usually ships 1-5 days |
401b |
991-8571
|
Handle grip |
$4.04
|
2 |
(NON-OEM) |
ships same day |
402 |
164-0303
|
Handle grip base |
$33.79
|
2 |
|
usually ships 19-25 days |
403 |
164-9120
|
1/2 inch shaft collar |
$10.85
|
2 |
|
usually ships 19-25 days |
404 |
164-0238
|
Ball joint |
$59.10
|
2 |
|
usually ships 19-25 days |
405 |
172-2039
|
5K potentiometer |
$66.03
|
1 |
|
ships same day |
406 |
164-0925
|
Potentiometer bracket |
$26.10
|
1 |
|
usually ships 1-5 days |
407 |
999-0650
|
Screw 8-32 x 3/16 knurled point socket set plain finish |
$0.99
|
2 |
|
ships same day |
408 |
164-0293
|
Drive gear |
$65.13
|
1 |
|
usually ships 19-25 days |
409 |
999-0126
|
Washer 1/2 split lock |
$1.28
|
2 |
|
ships same day |
410 |
999-0661
|
Bolt 1/2-20 x 1 18-8 hex head stainless steel |
$3.96
|
2 |
|
ships same day |
411 |
999-0454
|
Screw 10-24 x 1/2 truss head phillips zinc plated |
$0.99
|
2 |
|
ships same day |
412 |
999-0311
|
Washer #10 external star lock zinc plated |
$0.99
|
2 |
|
ships same day |
413 |
999-0998
|
Washer #10 flat stainless steel |
$0.99
|
2 |
|
ships same day |
414 |
999-0314
|
Screw 10-24 x 3/4 round head phillips zinc plated |
$0.99
|
4 |
|
ships same day |
415 |
999-0998
|
Washer #10 flat stainless steel |
$0.99
|
4 |
|
ships same day |
416a |
164-7324
|
Wire assembly with 175amp Anderson plug (gray) |
$104.74
|
1 |
(includes 416b) |
ships same day |
416b |
991-2112
|
175amp charger plug with pins (gray) SB175 |
$16.09
|
1 |
|
ships same day |
417 |
999-0152
|
Nut 1/4-20 nylon insert lock zinc plated |
$0.99
|
2 |
|
ships same day |
418 |
999-0015
|
Nut 1/4-20 k-lock zinc plated |
$0.99
|
2 |
|
ships same day |
419 |
164-8226
|
125amp circuit breaker |
$252.52
|
1 |
|
ships same day |
420 |
164-9483
|
Washer #6 5/32 I.D. x 3/8 O.D. x 5/64 thick (OBSOLETE) |
$5.28
|
2 |
|
usually ships 19-25 days |
421 |
999-0051
|
Washer #6 medium split lock |
$0.99
|
2 |
|
ships same day |
422 |
999-0147
|
Screw 6-32 x 3/8 round head slotted zinc plated |
$0.99
|
2 |
|
ships same day |
423 |
999-0454
|
Screw 10-24 x 1/2 truss head phillips zinc plated |
$0.99
|
5 |
|
ships same day |
424 |
164-0367
|
Control frame |
$264.56
|
1 |
|
usually ships 19-25 days |
425 |
164-0927
|
Control panel frame cover |
$164.18
|
1 |
|
usually ships 1-5 days |
426 |
164-0928
|
Cart ready decal (OBSOLETE) |
$5.50
|
1 |
|
usually ships 1-5 days |
427a |
164-7325
|
Battery meter with harness, meter and 10 pin wire harness |
$238.98
|
1 |
(includes 427b and 427c) |
usually ships 19-25 days |
427b |
164-7326
|
Battery meter display |
$145.51
|
1 |
|
usually ships 1-5 days |
427c |
164-7327
|
10 pin wire harness for battery meter |
$185.71
|
1 |
|
usually ships 1-5 days |
428 |
164-0652
|
Battery meter decal |
$27.83
|
1 |
|
usually ships 1-5 days |
428 |
164-0675
|
Decal kit |
$39.16
|
1 |
|
usually ships 19-25 days |
430a |
164-7330
|
Key switch kit with wiring |
$52.65
|
1 |
(includes 430b and 430c) |
usually ships 1-5 days |
430b |
164-1660
|
Key switch and key |
$32.77
|
1 |
|
ships same day |
430c |
164-0676
|
Wiring assembly |
$5.90
|
1 |
|
usually ships 1-5 days |
431 |
164-1451
|
Hour meter |
$133.54
|
1 |
|
usually ships 19-25 days |
432 |
164-0771
|
2amp fuse |
$4.57
|
1 |
|
usually ships 19-25 days |
433 |
164-1328
|
Fuse holder with nut and washer |
$18.41
|
1 |
|
ships same day |
434 |
164-0675
|
Decal kit |
$39.16
|
1 |
|
usually ships 19-25 days |
435a |
164-8290
|
Controller |
$1,177.55
|
1 |
(includes 435b and 435c) |
usually ships 19-25 days |
435b |
999-0017
|
Washer 1/4 external star lock |
$0.99
|
5 |
|
ships same day |
435c |
164-0656
|
Screw 1/4-28 x 3/8 pan head phillips |
$5.13
|
5 |
|
usually ships 1-5 days |
436 |
164-0932
|
Wiring diagram decal |
$17.90
|
1 |
|
usually ships 1-5 days |
437 |
999-0199
|
Nut 10-24 nylon insert lock zinc plated |
$0.99
|
4 |
|
ships same day |
438 |
999-0199
|
Nut 10-24 nylon insert lock zinc plated |
$0.99
|
2 |
|
ships same day |
439 |
999-0998
|
Washer #10 flat stainless steel |
$0.99
|
2 |
|
ships same day |
440 |
164-0027
|
36V solenoid contactor |
$248.92
|
1 |
|
usually ships 19-25 days |
441 |
164-9052
|
Terminal boot (red) |
$9.31
|
1 |
|
usually ships 1-5 days |
442 |
999-0019
|
Bolt 1/4-20 x 5/8 hex head grade 5 zinc plated |
$0.99
|
1 |
|
ships same day |
443 |
999-0017
|
Washer 1/4 external star lock |
$0.99
|
1 |
|
ships same day |
444 |
164-0310
|
Insulated stand off |
$13.66
|
1 |
|
usually ships 19-25 days |
445 |
999-0060
|
Washer 1/4 split lock plain finish |
$0.99
|
1 |
|
ships same day |
446 |
999-0018
|
Bolt 1/4-20 x 1/2 hex cap grade 5 zinc plated |
$0.99
|
1 |
|
ships same day |
447 |
999-0136
|
Bolt 1/4-20 x 1 1/4 hex head grade 5 zinc plated |
$0.99
|
2 |
|
ships same day |
448 |
164-0289
|
Washer flat stainless steel |
$7.38
|
2 |
|
ships same day |
449 |
999-0260
|
Washer 1/2 internal starlock |
$0.99
|
2 |
|
ships same day |
450 |
999-0186
|
Nut 5/8-11 nylon insert lock zinc plated |
$1.12
|
2 |
|
ships same day |
451 |
164-0023
|
Toggle switch |
$24.95
|
2 |
|
usually ships 19-25 days |
452 |
164-6418
|
Handle bar |
$156.16
|
1 |
|
usually ships 19-25 days |
453 |
164-9142
|
Sleeved bearing |
$5.51
|
1 |
|
usually ships 19-25 days |
454 |
164-1329
|
Torsion spring |
$5.90
|
1 |
|
usually ships 19-25 days |
455 |
164-9119
|
1/2 inch shaft collar |
$3.59
|
1 |
|
usually ships 19-25 days |
456 |
164-0300
|
Drive gear |
$65.13
|
1 |
|
usually ships 19-25 days |
457 |
999-0650
|
Screw 8-32 x 3/16 knurled point socket set plain finish |
$0.99
|
2 |
|
ships same day |
458 |
999-0080
|
Screw 8-32 x 7/8 round head slotted zinc plated |
$0.99
|
2 |
|
ships same day |
459 |
999-0150
|
Washer #8 medium split lock |
$0.99
|
2 |
|
ships same day |