| # | Part | Description | Price | Req | Notes | Availability |
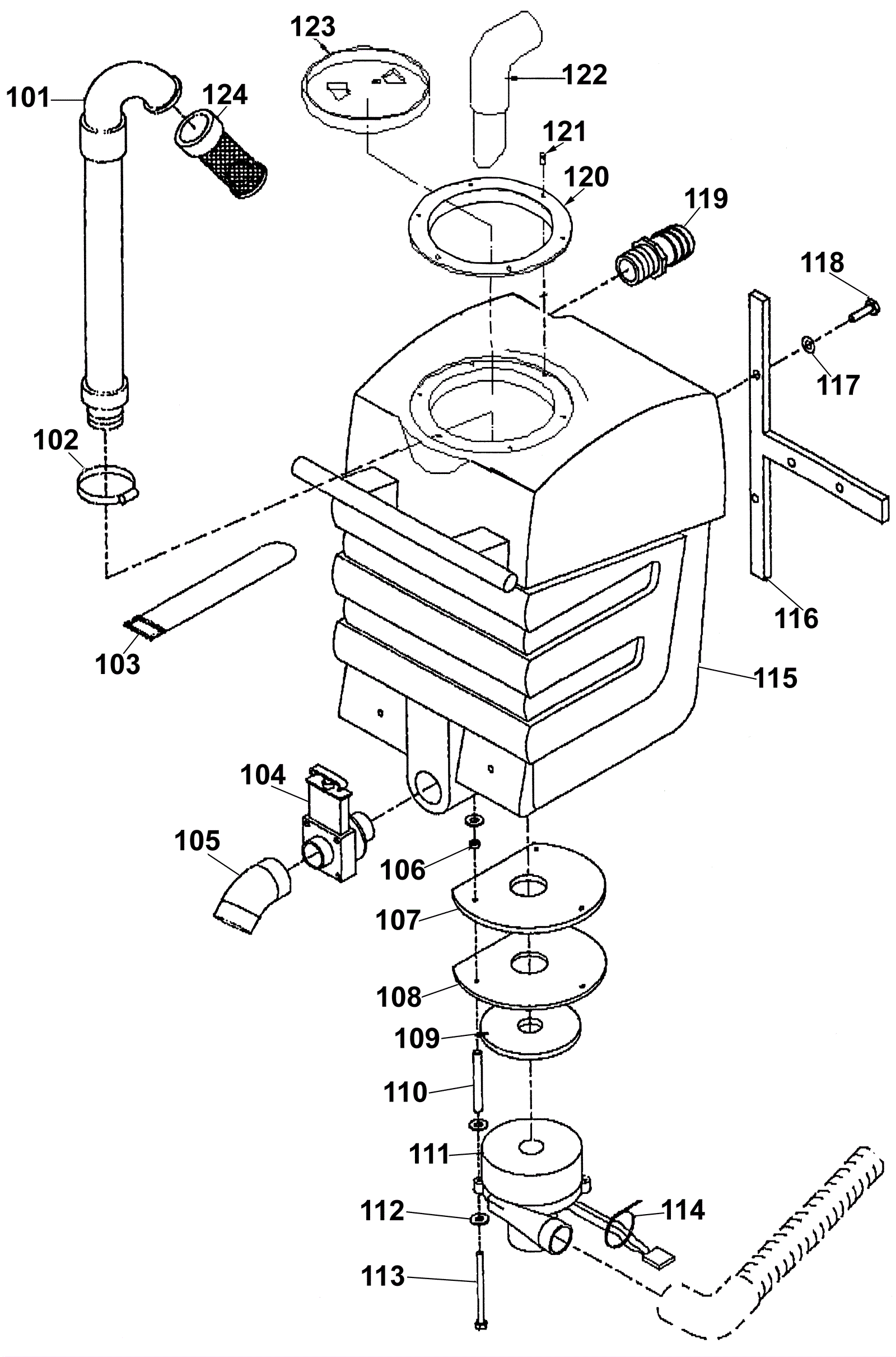
101 |
164-4041
|
Float tube assembly (OBSOLETE) |
$29.81
|
1 |
|
usually ships 1-5 days |
102 |
997-2003
|
Hose clamp |
$2.66
|
1 |
|
ships same day |
103 |
N/A
|
Not available |
Call for price
|
1 |
Power cord stripe |
usually ships 3-26 days |
104 |
N/A
|
Not available |
Call for price
|
1 |
(Dump valve) |
usually ships 3-26 days |
105 |
164-4043
|
Dump valve elbow (OBSOLETE) |
$31.90
|
1 |
|
usually ships 1-5 days |
106 |
N/A
|
Not available |
Call for price
|
3 |
Anti-compression spacer |
usually ships 3-26 days |
107 |
164-4044
|
Motor plate gasket (OBSOLETE) |
$60.17
|
1 |
|
usually ships 1-5 days |
108 |
N/A
|
Not available |
Call for price
|
1 |
Motor plate |
usually ships 3-26 days |
109a |
164-0881
|
Vacuum motor gasket |
$15.64
|
1 |
|
ships same day |
109b |
991-3029
|
Vacuum motor gasket |
$2.80
|
1 |
(NON-OEM) |
ships same day |
110 |
N/A
|
Not available |
Call for price
|
3 |
Motor mounting spacer |
usually ships 3-26 days |
111a |
164-2353
|
Vacuum motor |
$261.75
|
1 |
120v |
ships same day |
111b |
N/A
|
Not available |
Call for price
|
1 |
Motor connectors set |
usually ships 3-26 days |
112 |
999-0016
|
Washer 1/4 flat plain finish |
$0.99
|
9 |
|
ships same day |
113 |
999-0682
|
Bolt 1/4-20 x 3 1/2 hex head grade 5 zinc plated |
$1.06
|
3 |
|
ships same day |
114 |
164-4612
|
Wire tie |
$7.38
|
1 |
|
usually ships 19-25 days |
115 |
164-4045
|
Recovery tank (OBSOLETE) |
$593.78
|
1 |
|
usually ships 1-5 days |
116 |
164-4046
|
Solution hose guide |
Call for price
|
1 |
|
usually ships 1-5 days |
117 |
999-0016
|
Washer 1/4 flat plain finish |
$0.99
|
4 |
|
ships same day |
118 |
999-0821
|
Bolt 1/4-20 x 1/2 hex head grade 9 yellow zinc |
$0.99
|
4 |
|
ships same day |
119 |
164-4047
|
Hose barb |
$27.94
|
1 |
|
usually ships 1-5 days |
120a |
164-0205
|
Tank lid ring (black) |
$40.77
|
1 |
|
usually ships 19-25 days |
120b |
164-0202
|
Tank lid assembly |
$107.65
|
1 |
Includes items 120 and 123 |
usually ships 7-10 days |
121 |
N/A
|
Not available |
Call for price
|
6 |
Screw #8 self tapping philips |
usually ships 3-26 days |
122 |
N/A
|
Not available |
Call for price
|
1 |
90 degree elbow with PVC tube |
usually ships 3-26 days |
123 |
164-0044
|
Tank lid (clear) |
$72.51
|
1 |
|
ships same day |
124 |
164-4049
|
Float assembly (OBSOLETE) |
$135.14
|
1 |
|
usually ships 1-5 days |