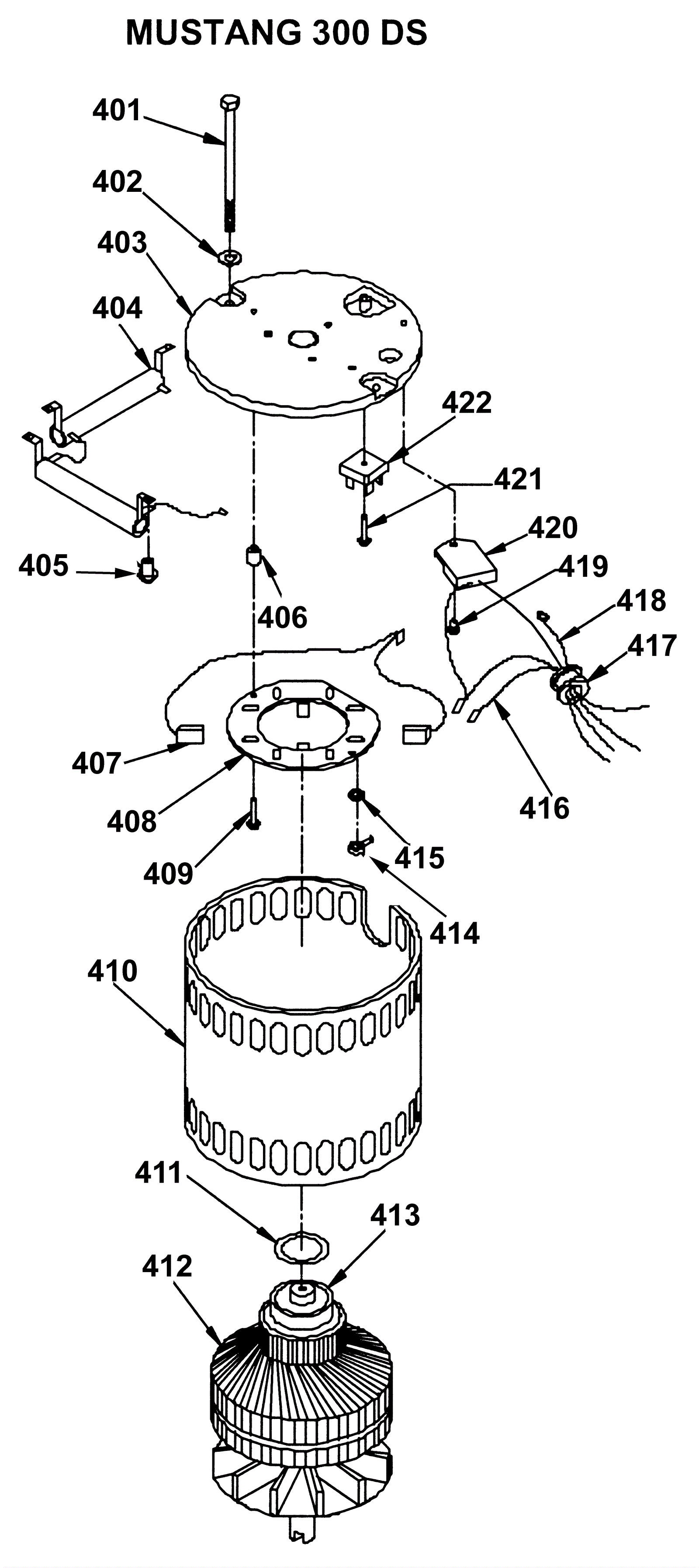
Motor Assembly
Click to enlarge
#
Part
Description
Price
Req
Notes
Availability
01
164-5315
115V motor and gear assembly
$2,280.64
1
usually ships 1-5 days