WAXIE 20 2 SPEED
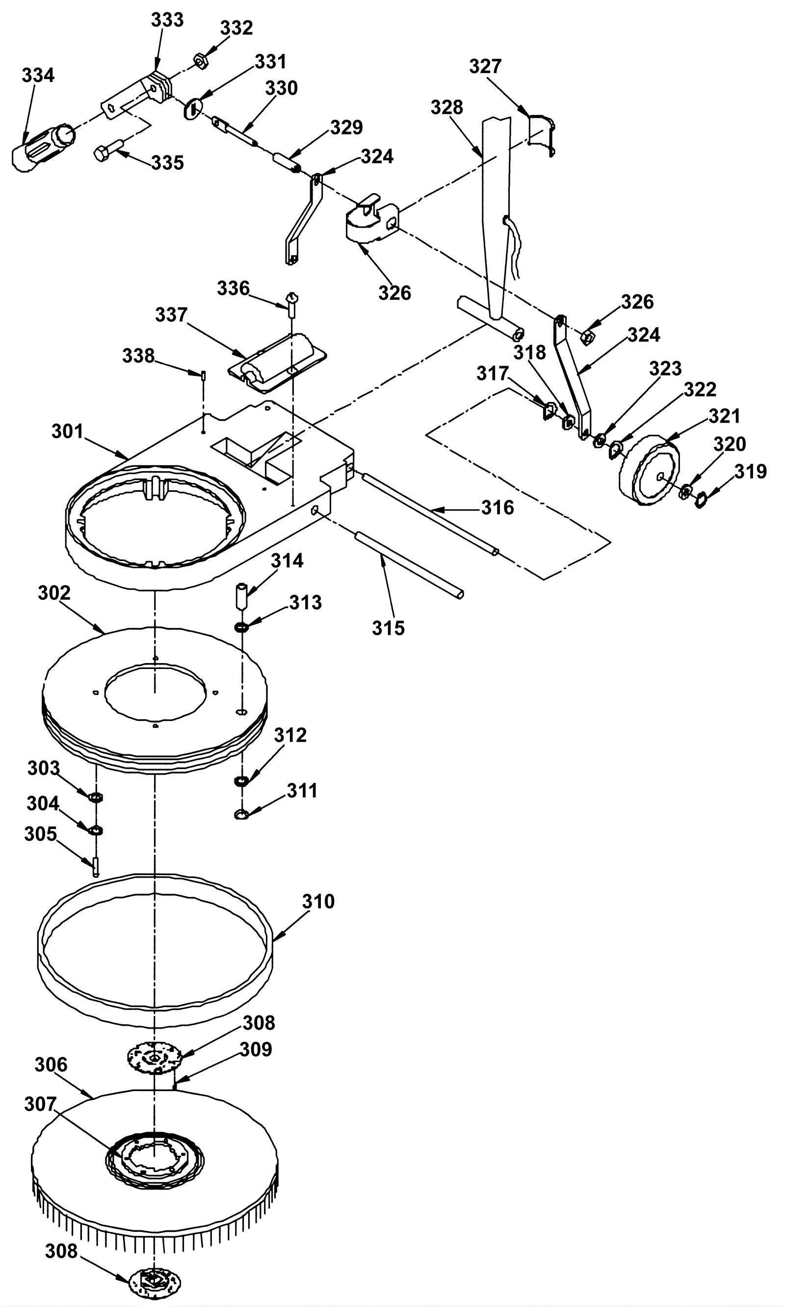
Lower Base Assembly
Click to enlarge
#
Part
Description
Price
Req
Notes
Availability
310
164-0018
20 inch bumper
$43.15
1
usually ships 19-25 days