| # | Part | Description | Price | Req | Notes | Availability | 
|---|
          
            
            
                
                  
                  
                  
				       
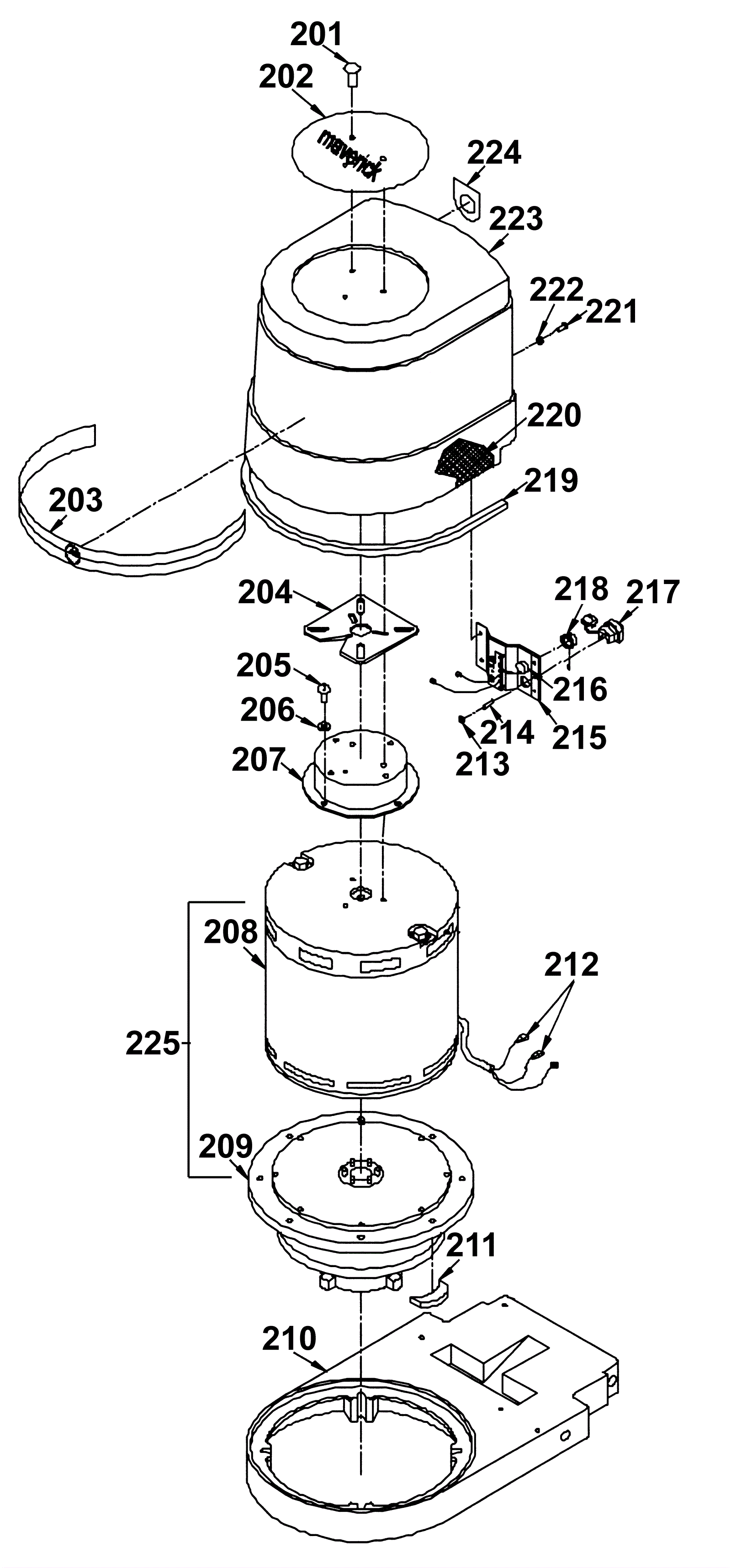
				      201 | 999-0454 | Screw 10-24 x 1/2 truss head phillips zinc plated | $0.99 | 3 |  | ships same day | 202 | N/A | Not available | Call for price | 1 | Decal kit | usually ships 3-26 days | 203 | N/A | Not available | Call for price | 1 | Decal kit | usually ships 3-26 days | 204 | 164-5008 | Cork pad | $4.43 | 1 |  | usually ships 1-5 days | 205 | 999-1366 | Screw 8-32 x 3/8 round head phillips stainless steel | $1.32 | 4 |  | ships same day | 206 | 999-0092 | Washer #8 internal star lock zinc plated | $0.99 | 4 |  | ships same day | 207 | 164-4445 | Standoff | $108.85 | 1 |  | usually ships 1-5 days | 208 | 164-4440 | Ohio motor 115v (OBSOLETE) | $1,060.90 | 1 |  | usually ships 1-5 days | 209 | 164-5100 | Gear Research gear box assembly | $458.70 | 1 |  | usually ships 1-5 days | 210 | 164-5119 | Base | $424.69 | 1 |  | usually ships 19-25 days | 211 | 164-5016 | Rubber mount pad | $2.95 | 4 |  | usually ships 19-25 days | 212 | 164-4644 | Female terminal | $3.72 | 2 |  | usually ships 19-25 days | 213 | 999-0239 | Nut 10-32 k-lock zinc plated | $0.99 | 1 |  | ships same day | 214 | 164-6808 | Screw 10 x 3/4 set cup | $7.38 | 1 |  | usually ships 19-25 days | 215a | 164-4444 | Speed control with bracket | $372.25 | 1 | Includes 215b and 216 | usually ships 19-25 days | 215b | 164-4443 | Speed control bracket | $70.26 | 1 |  | usually ships 1-5 days | 216 | 164-4450 | Potentiometer | $81.41 | 1 |  | usually ships 19-25 days | 217 | 164-0796 | Heyco strain relief | $4.31 | 1 |  | usually ships 19-25 days | 218 | 164-1087 | Knob with set screw | $14.05 | 1 |  | usually ships 19-25 days | 219 | 164-4619 | Gasket neoprene 3/16 x 5/16 | $3.20 | 2 |  | usually ships 19-25 days | 220 | 164-4448 | Inside cover | $76.62 | 1 |  | usually ships 1-5 days | 221 | 999-0543 | Screw 10-32 x 3/8 truss head phillips zinc plated | $0.99 | 4 |  | ships same day | 222 | 999-0089 | Washer #10 internal star lock zinc plated | $0.99 | 4 |  | ships same day | 223 | 164-4441 | Motor cover with baffle | $181.74 | 1 |  | usually ships 19-25 days | 224 | N/A | Not available | Call for price | 1 | Speed control decal kit | usually ships 3-26 days | 225 | 164-4481 | Motor and gear (Maverick 300) | $2,891.87 | 1 |  | usually ships 1-5 days |