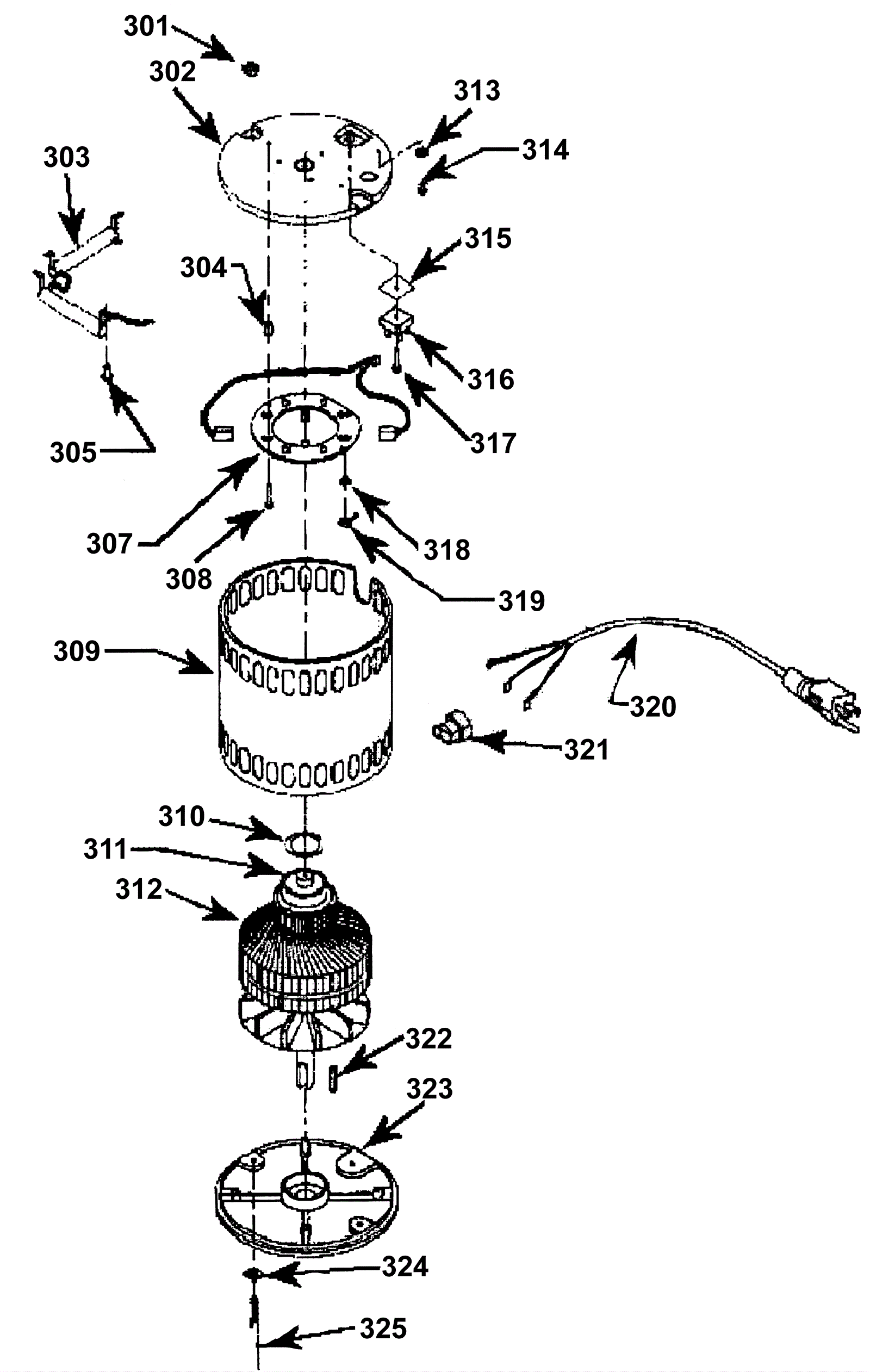
| # | Part | Description | Price | Req | Notes | Availability | 
|---|
          
            
            
                
                  
                  
                  
				       
				      301 | 999-0190 | Nut 1/4-20 hex plain finish | $0.99 | 2 |  | ships same day | 302 | 164-1307 | Top end bell (Ohio) (OBSOLETE) | $123.09 | 1 |  | usually ships 1-5 days | 303 | 164-1308 | Resistor assembly with lead (Ohio) | $219.73 | 1 |  | usually ships 1-5 days | 304 | 164-1309 | Carbon brush spacer ring | $1.12 | 2 |  | usually ships 1-5 days | 305 | 999-0321 | Screw 10-32 x 3/8 pan head slotted zinc plated | $0.99 | 4 |  | ships same day | 307 | 164-1311 | Carbon brush ring assembly (Ohio) | $172.90 | 1 |  | usually ships 1-5 days | 308 | 999-0461 | Screw 10-32 x 5/8 pan head slotted zinc plated | $0.99 | 2 |  | ships same day | 309 | 164-1312 | Frame with magnets (OBSOLETE) | $177.43 | 1 |  | usually ships 1-5 days | 310 | 164-1313 | Wave washer | $4.36 | 1 |  | usually ships 1-5 days | 311 | 164-1305 | Bearing | $46.62 | 2 |  | usually ships 1-5 days | 312 | 164-1314 | Armature with bearings (Ohio) | $706.75 | 1 |  | usually ships 1-5 days | 313 | 999-0311 | Washer #10 external star lock zinc plated | $0.99 | 1 |  | ships same day | 314 | N/A | Not available | Call for price | 1 | (Washer) | usually ships 3-26 days | 315 | 163-0090 | 20 inch bumper (black) | $72.74 | 1 |  | ships same day | 316 | 163-0063 | 240V rectifier | $10.65 | 1 |  | ships same day | 317 | N/A | Not available | Call for price | 1 | (Screw) | usually ships 3-26 days | 318 | 164-1316 | Washer nylon spacer (OBSOLETE) | $0.99 | 4 |  | usually ships 1-5 days | 319 | 164-1298 | Brush spring | $11.41 | 4 |  | usually ships 19-25 days | 320 | 164-5139 | Pigtail cord (OBSOLETE) | $31.08 | 1 |  | usually ships 19-25 days | 321 | 164-1318 | Strain relief (Ohio) (OBSOLETE) | $20.30 | 1 |  | usually ships 1-5 days | 322 | 164-1326 | Square keyway | $7.38 | 1 |  | ships same day | 323 | 164-1319 | Bottom end bell (OBSOLETE) | $102.14 | 1 |  | usually ships 1-5 days | 324 | 999-0016 | Washer 1/4 flat plain finish | $0.99 | 2 |  | ships same day | 325 | 164-1320 | Bolt 1/4-20 x 7 hex head thru | $3.63 | 2 |  | usually ships 1-5 days | N/S | 164-5177 | Carbon brush (pkg of 2) | $80.26 | 2 |  | usually ships 1-5 days |