| # | Part | Description | Price | Req | Notes | Availability |
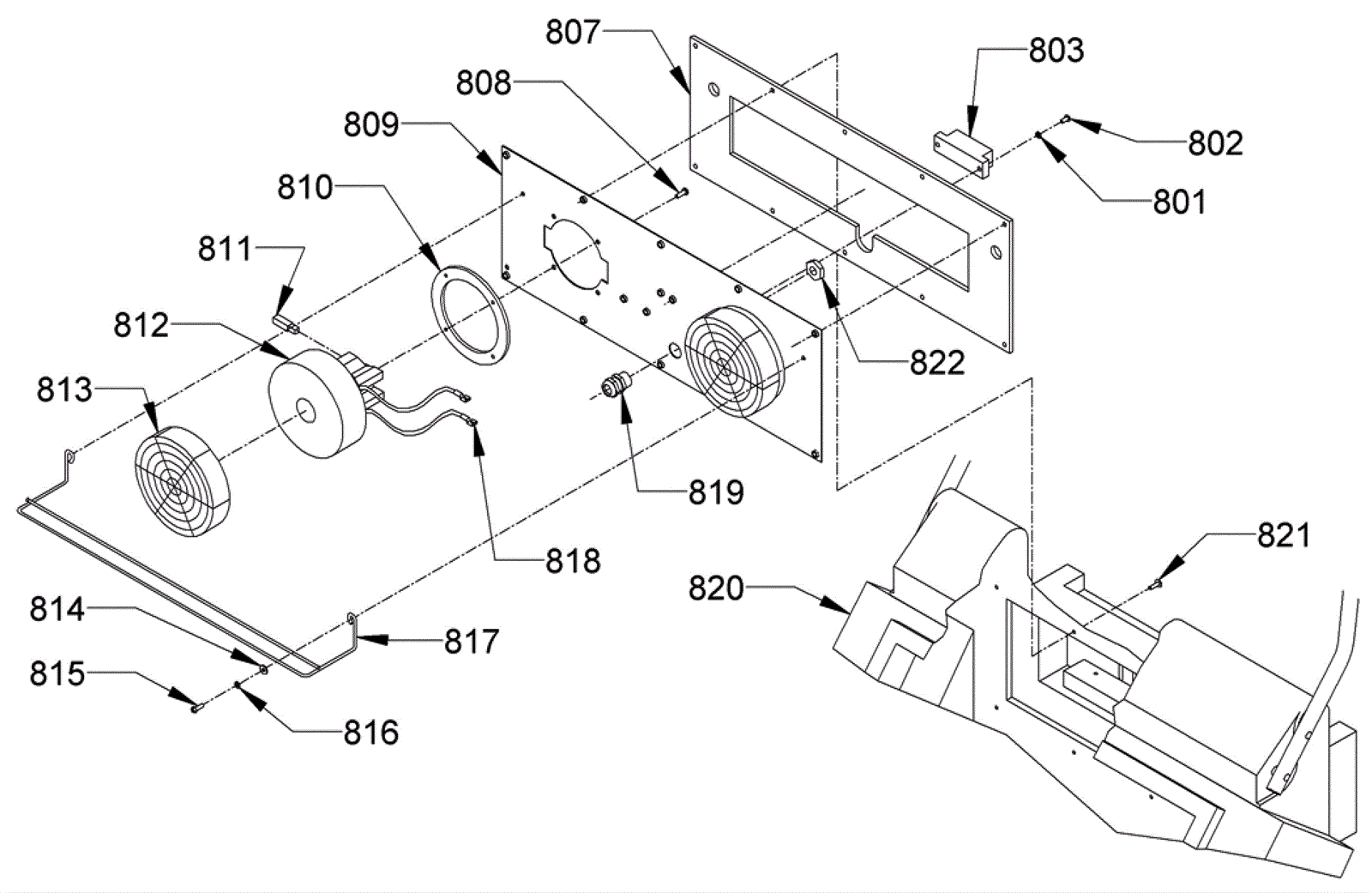
801 |
999-0053
|
Washer #10 split lock plain finish |
$0.99
|
2 |
|
ships same day |
802 |
999-0064
|
Screw 10-24 x 7/16 round head slotted zinc plated |
$0.99
|
2 |
|
ships same day |
803 |
164-4594
|
Terminal block |
$18.46
|
1 |
|
usually ships 19-25 days |
807 |
164-2930
|
Gasket set, neoprene - pacer 30 |
$26.54
|
1 |
|
usually ships 19-25 days |
808 |
999-0193
|
Screw 10-24 x 5/8 pan head slotted thread cutting zinc |
$0.99
|
8 |
|
ships same day |
809 |
164-3217
|
Vac motor plate, painted |
$192.95
|
1 |
|
usually ships 1-5 days |
810 |
164-0803
|
Vac motor/float gasket |
$7.38
|
2 |
|
ships same day |
811 |
164-1810
|
Carbon brush |
$18.41
|
4 |
|
ships same day |
812 |
164-3244
|
120V vacuum motor |
$250.34
|
2 |
|
usually ships 19-25 days |
813a |
274-0768
|
FILTER-DOME |
$7.67
|
2 |
(OEM) |
ships same day |
813b |
991-5119
|
Vacuum motor filter |
$1.80
|
|
(NON-OEM) |
ships same day |
814 |
999-0998
|
Washer #10 flat stainless steel |
$0.99
|
2 |
|
ships same day |
815 |
999-0008
|
Screw 10-24 x 5/8 round head slotted zinc plated |
$0.99
|
2 |
|
ships same day |
816 |
999-0053
|
Washer #10 split lock plain finish |
$0.99
|
2 |
|
ships same day |
817 |
164-3239
|
Bag guard - plated |
$21.87
|
1 |
|
usually ships 1-5 days |
818 |
164-4647
|
Push on terminal |
$2.82
|
4 |
|
ships same day |
819 |
164-2927
|
Strain relief non-flexible |
$15.26
|
1 |
|
usually ships 19-25 days |
820 |
164-2904
|
Body, Pacer 30 - black |
$1,441.87
|
1 |
|
usually ships 1-5 days |
821 |
999-0166
|
Screw 10-24 x 5/8 truss head slotted zinc plated |
$5.50
|
9 |
|
ships same day |
822 |
164-4516
|
Strain relief nut |
$2.95
|
1 |
|
usually ships 1-5 days |