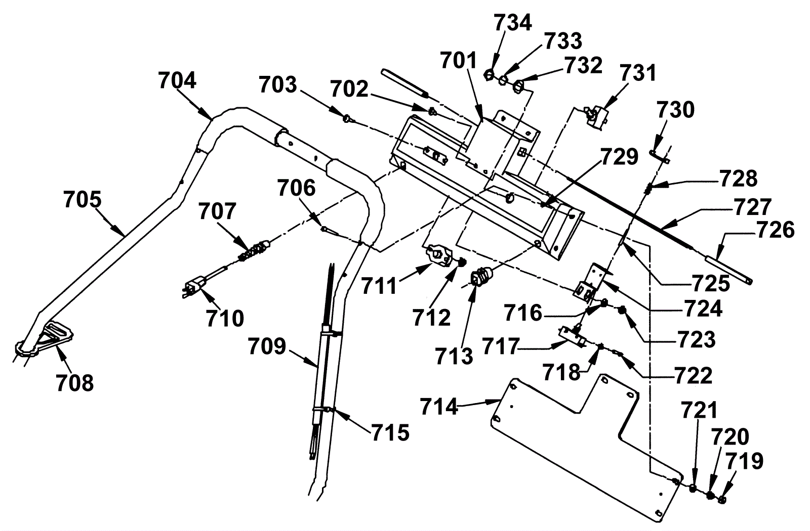
| # | Part | Description | Price | Req | Notes | Availability |
701 |
164-2924
|
Control panel, pacer 30 - black |
$205.46
|
1 |
|
usually ships 19-25 days |
702 |
999-0454
|
Screw 10-24 x 1/2 truss head phillips zinc plated |
$0.99
|
2 |
|
ships same day |
703 |
999-0159
|
Screw 10-24 x 7/8 round head slotted zinc plated |
$0.99
|
2 |
|
ships same day |
704 |
164-2910
|
Handle grip - black, pacer 30 |
$20.90
|
2 |
|
usually ships 19-25 days |
705 |
164-8345
|
Handle |
$102.77
|
1 |
|
usually ships 19-25 days |
706 |
999-0314
|
Screw 10-24 x 3/4 round head phillips zinc plated |
$0.99
|
6 |
|
ships same day |
707 |
164-4502
|
Strain relief |
$17.38
|
1 |
|
usually ships 19-25 days |
708 |
164-4500
|
Strain relief |
$12.56
|
1 |
|
usually ships 19-25 days |
709 |
164-2967
|
Handle cord |
$43.85
|
1 |
|
usually ships 19-25 days |
710a |
164-2933
|
Power cord 75 foot |
$199.18
|
1 |
(OEM) |
usually ships 19-25 days |
710b |
991-5005
|
14/3 replacement power cord 50 foot (yellow) |
$108.51
|
1 |
(NON-OEM) (does not include strain relief) |
ships same day |
710c |
991-5001
|
14/3 extension cord 50 foot (yellow) |
$103.23
|
1 |
(NON-OEM) |
ships same day |
711 |
164-0791
|
17 1/2 amp circuit breaker |
$100.46
|
1 |
|
ships same day |
712 |
999-0004
|
Nut 10-24 k-lock zinc plated |
$0.99
|
2 |
|
ships same day |
713 |
164-2927
|
Strain relief non-flexible |
$15.26
|
1 |
|
usually ships 19-25 days |
714 |
164-2925
|
Control panel plate, pacer 30 |
$38.53
|
1 |
|
usually ships 19-25 days |
715 |
164-2942
|
Cable tie, pacer 30 |
$2.82
|
2 |
|
usually ships 19-25 days |
716 |
999-0998
|
Washer #10 flat stainless steel |
$0.99
|
2 |
|
ships same day |
717 |
164-0015
|
Switch |
$34.66
|
1 |
|
ships same day |
718 |
999-0364
|
Washer #6 internal star lock zinc plated |
$0.99
|
2 |
|
ships same day |
719 |
999-9006
|
Screw 5/16-18 x 3/4 pan head phillips stainless steel |
$1.44
|
6 |
|
usually ships 16-20 days |
720 |
999-0004
|
Nut 10-24 k-lock zinc plated |
$0.99
|
6 |
|
ships same day |
721 |
999-0998
|
Washer #10 flat stainless steel |
$0.99
|
6 |
|
ships same day |
722 |
999-0656
|
Screw #6-32 x 7/8 pan head phillips zinc plated |
$0.99
|
2 |
|
ships same day |
723 |
999-0004
|
Nut 10-24 k-lock zinc plated |
$0.99
|
2 |
|
ships same day |
724 |
164-2922
|
Switch bracket - plated, pacer 30 |
$24.31
|
1 |
|
usually ships 19-25 days |
725 |
164-8369
|
Roll pin (pkg of 5) |
$7.38
|
2 |
|
usually ships 19-25 days |
726 |
164-5054
|
Switch lever grip |
$2.31
|
2 |
|
usually ships 19-25 days |
727 |
164-2921
|
Switch lever - painted, pacer 30 |
$56.49
|
1 |
|
usually ships 19-25 days |
728 |
164-5052
|
Spring |
$2.70
|
2 |
|
usually ships 19-25 days |
729 |
164-8371
|
Decal |
$47.91
|
1 |
|
usually ships 19-25 days |
730 |
164-2936
|
Roll pin guide, pacer 30 |
$15.20
|
1 |
|
usually ships 19-25 days |
731 |
164-0023
|
Toggle switch |
$24.95
|
1 |
|
usually ships 19-25 days |
732 |
164-0289
|
Washer flat stainless steel |
$7.38
|
1 |
|
ships same day |
733 |
164-8372
|
Lock washer (pkg of 5) |
$7.38
|
1 |
|
usually ships 19-25 days |
734 |
999-0186
|
Nut 5/8-11 nylon insert lock zinc plated |
$1.12
|
1 |
|
ships same day |