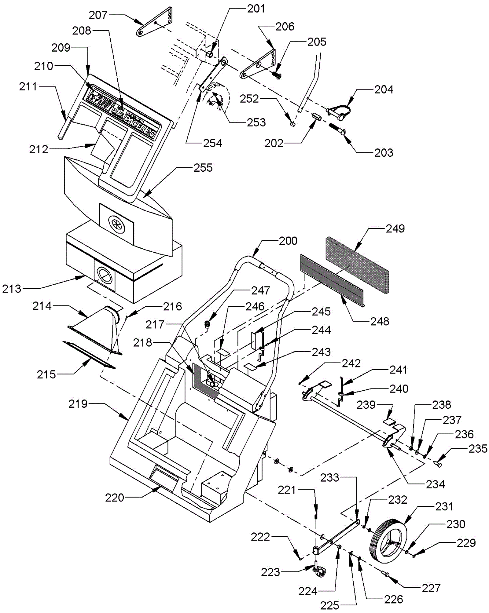
| # | Part | Description | Price | Req | Notes | Availability |
200a |
164-8345
|
Handle |
$102.77
|
1 |
|
usually ships 19-25 days |
200b |
164-2994
|
Handle adjustment retro kit |
$22.83
|
1 |
(includes 200a, 202, 204, 206, 207, 252, N/S 164-2910, 164-4500, and 164-2942) |
usually ships 1-5 days |
201 |
164-2919
|
Handle and lid pivot |
$6.41
|
2 |
|
usually ships 19-25 days |
201 |
164-2994
|
Handle adjustment retro kit |
$22.83
|
2 |
|
usually ships 1-5 days |
202 |
164-1937
|
Plated Pivot Spacer |
$9.69
|
2 |
|
usually ships 19-25 days |
203 |
164-7465
|
Screw 3/8-16 x 2 1/4 flat round head slotted |
$8.15
|
2 |
|
usually ships 19-25 days |
204 |
164-0823
|
Clevis pin with retainer |
$11.67
|
2 |
|
ships same day |
205 |
164-7466
|
Screw 3/8-16 x 1 oval head phillips |
$5.84
|
2 |
|
usually ships 19-25 days |
206 |
164-7468
|
Left hand handle adjustment bracket |
$62.95
|
1 |
|
usually ships 19-25 days |
207 |
164-7467
|
Right hand handle adjustment bracket |
$62.95
|
1 |
|
usually ships 19-25 days |
208 |
164-8337
|
Decal |
$26.93
|
1 |
|
usually ships 19-25 days |
209 |
164-2905
|
Lid pacer 30 - black |
$293.98
|
1 |
|
usually ships 1-5 days |
210 |
164-7483
|
NSS decal (OBSOLETE) |
Call for price
|
1 |
|
usually ships 1-5 days |
212 |
164-3219
|
(FSO) Decal , 115V wire diagram |
$16.36
|
1 |
|
usually ships 1-5 days |
213 |
164-3226
|
Filter bag |
$317.46
|
1 |
|
usually ships 19-25 days |
214 |
164-2906
|
Intake, pacer 30 |
$123.02
|
1 |
|
usually ships 19-25 days |
215 |
164-2930
|
Gasket set, neoprene - pacer 30 |
$26.54
|
1 |
|
usually ships 19-25 days |
216 |
999-0013
|
Screw 10 x 5/8 pan head phillips sheet metal |
$0.99
|
8 |
|
ships same day |
217 |
999-0569
|
Screw 10 x 1/2 pan head phillips sheet metal |
$0.99
|
4 |
|
ships same day |
218 |
164-8338
|
Felt (sold by the foot) |
$19.49
|
7 |
|
usually ships 19-25 days |
219 |
164-2904
|
Body, Pacer 30 - black |
$1,441.87
|
1 |
|
usually ships 1-5 days |
221a |
164-2934
|
Spring, Left caster - pacer 30 |
$8.07
|
1 |
|
usually ships 19-25 days |
221b |
164-2935
|
Spring, right caster pacer - 30 |
$8.07
|
1 |
|
usually ships 19-25 days |
222 |
999-0095
|
Screw 1/4-20 x 3/8 cup point socket set alloy plain finish |
$0.99
|
1 |
|
ships same day |
223 |
164-2926
|
Caster, pacer 30 |
$22.83
|
2 |
|
usually ships 19-25 days |
224 |
164-0841
|
Bushing |
$6.41
|
2 |
|
usually ships 19-25 days |
225 |
999-0114
|
Washer 1/2 SAE flat |
$0.99
|
4 |
|
ships same day |
226 |
999-0126
|
Washer 1/2 split lock |
$1.28
|
2 |
|
ships same day |
227 |
999-0200
|
Bolt 1/2-13 x 1 1/4 hex head |
$3.45
|
2 |
|
ships same day |
229 |
164-0106
|
Retaining ring |
$2.96
|
2 |
|
ships same day |
230 |
164-0289
|
Washer flat stainless steel |
$7.38
|
4 |
|
ships same day |
231 |
164-4592
|
10 inch plastic wheel (white) |
$67.13
|
2 |
|
ships same day |
232 |
164-5035
|
Spring |
$3.72
|
2 |
|
usually ships 19-25 days |
233a |
164-2908
|
Left pivot assembly |
$63.34
|
1 |
|
usually ships 19-25 days |
233b |
164-2909
|
Right pivot assembly |
$63.34
|
1 |
|
usually ships 19-25 days |
234 |
164-2918
|
Axle assy- complete, pacer 30 |
$271.74
|
1 |
|
usually ships 1-5 days |
235 |
999-0200
|
Bolt 1/2-13 x 1 1/4 hex head |
$3.45
|
1 |
|
ships same day |
236 |
999-0126
|
Washer 1/2 split lock |
$1.28
|
2 |
|
ships same day |
237 |
999-0114
|
Washer 1/2 SAE flat |
$0.99
|
2 |
|
ships same day |
238 |
164-0841
|
Bushing |
$6.41
|
4 |
|
usually ships 19-25 days |
239 |
164-2937
|
Foot pedal grip - pacer 30 |
$4.18
|
2 |
|
usually ships 1-5 days |
240 |
164-1067
|
P Clamp |
$1.79
|
1 |
|
usually ships 1-5 days |
241 |
164-2931
|
Height indicator rod, pacer 30 |
$15.47
|
1 |
|
usually ships 1-5 days |
242 |
164-8339
|
Retaining ring |
$7.38
|
1 |
|
usually ships 19-25 days |
243 |
164-3162
|
Electrical caution label |
$7.05
|
1 |
|
usually ships 19-25 days |
244 |
999-0159
|
Screw 10-24 x 7/8 round head slotted zinc plated |
$0.99
|
3 |
|
ships same day |
245 |
164-2929
|
DCL, brush height-pacer 30 |
$22.56
|
1 |
|
usually ships 1-5 days |
246 |
164-3162
|
Electrical caution label |
$7.05
|
1 |
|
usually ships 19-25 days |
247 |
164-8338
|
Felt (sold by the foot) |
$19.49
|
7 |
|
usually ships 19-25 days |
248 |
164-2907
|
Baffle plate - painted, pacer 30 |
$37.90
|
1 |
|
usually ships 19-25 days |
249 |
164-2923
|
Foam filter, pacer 30 |
$24.82
|
1 |
|
ships same day |
252 |
164-0222
|
Plug |
$5.51
|
2 |
|
usually ships 19-25 days |
253 |
999-0569
|
Screw 10 x 1/2 pan head phillips sheet metal |
$0.99
|
4 |
|
ships same day |
254 |
164-2920
|
Lid hinger, pacer 30 |
$10.59
|
2 |
|
usually ships 1-5 days |
255 |
164-1573
|
Paper bag (pkg of 6) |
$111.85
|
1 |
|
usually ships 19-25 days |
N/S |
164-2910
|
Handle grip - black, pacer 30 |
$20.90
|
1 |
|
usually ships 19-25 days |
N/S |
164-4500
|
Strain relief |
$12.56
|
1 |
|
usually ships 19-25 days |
N/S |
164-2942
|
Cable tie, pacer 30 |
$2.82
|
1 |
|
usually ships 19-25 days |