| # | Part | Description | Price | Req | Notes | Availability |
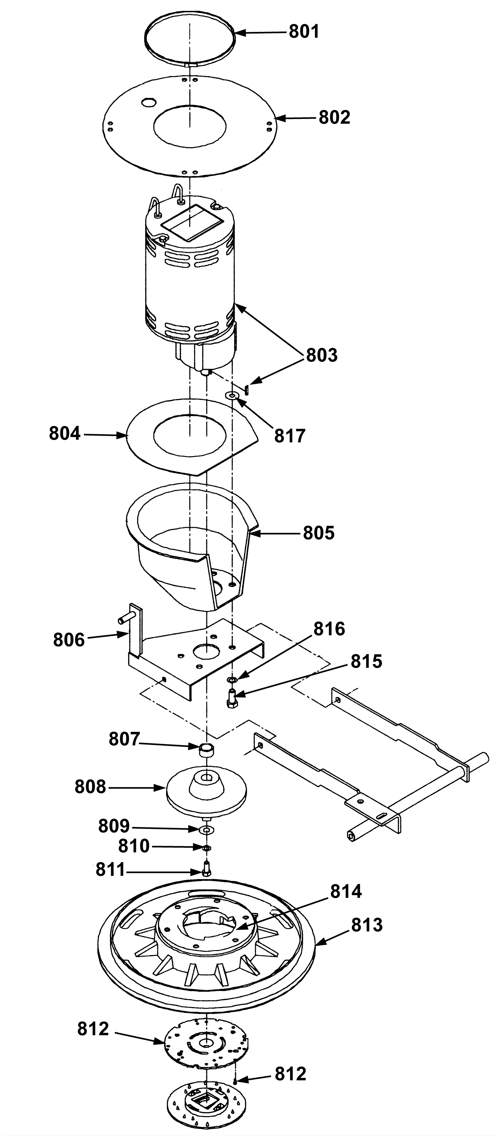
801 |
164-2250
|
Tie wrap |
$3.85
|
1 |
|
usually ships 1-5 days |
802 |
164-2248
|
Brush motor upper drip cap |
$30.07
|
1 |
|
usually ships 1-5 days |
803a |
164-7932
|
24V brush gear motor assembly |
$1,698.80
|
1 |
(includes 803b and 803c) (battery model) |
ships same day |
803b |
164-0132
|
Square keyway 1/4 x 1/4 |
$4.82
|
1 |
(battery model) |
ships same day |
803c |
991-1505
|
Carbon brush (sold individually) |
$10.81
|
1 |
(battery model) |
ships same day |
803d |
164-2440
|
Gear mtr. imp. 3/4Hp 120Vac - W20 |
$2,141.54
|
1 |
(120V) (electric model) |
usually ships 1-5 days |
803e |
164-2454
|
Carbon brush (sold individually) |
$37.57
|
4 |
(120V) (electric model) |
usually ships 19-25 days |
803f |
164-2442
|
Gear mtr. imp. 3/4Hp 240Vac - W20 |
$1,649.29
|
1 |
(240V) (electric model) |
usually ships 1-5 days |
803g |
164-2454
|
Carbon brush (sold individually) |
$37.57
|
4 |
(240V) (electric model) |
usually ships 19-25 days |
804 |
164-2249
|
Brush motor lower drip cap |
$8.59
|
1 |
|
usually ships 19-25 days |
805 |
164-2220
|
Brush motor splash guard |
$111.05
|
1 |
|
usually ships 19-25 days |
806 |
164-2228
|
Brush motor tilt base |
$131.10
|
1 |
|
usually ships 19-25 days |
807 |
164-2445
|
Spacer |
$12.06
|
1 |
|
usually ships 19-25 days |
808 |
164-2444
|
Clutch casting |
$161.74
|
1 |
|
usually ships 19-25 days |
809 |
999-0024
|
Washer 5/16 flat stainless steel |
$1.34
|
1 |
|
ships same day |
810 |
999-0028
|
Washer 5/16 split lock plain finish |
$0.99
|
1 |
|
ships same day |
811 |
999-0031
|
Bolt 5/16-18 x 1 hex head grade 5 zinc plated |
$0.99
|
1 |
|
ships same day |
812a |
NOTE
|
Please See Batteries, Brushes, Pad Holders and Charger Pages |
Call for price
|
1 |
|
usually ships 3-26 days |
812b |
164-0510
|
Mounting screws (pad holder base) |
$4.70
|
3 |
|
usually ships 19-25 days |
813 |
NOTE
|
Please See Batteries, Brushes, Pad Holders and Charger Pages |
Call for price
|
1 |
|
usually ships 3-26 days |
814 |
NOTE
|
Please See Batteries, Brushes, Pad Holders and Charger Pages |
Call for price
|
1 |
|
usually ships 3-26 days |
815 |
999-0119
|
Bolt 3/8-16 x 3/4 hex head grade 5 zinc plated |
$1.01
|
4 |
|
ships same day |
816 |
999-0034
|
Washer 3/8 split lock plain finish |
$1.82
|
4 |
|
ships same day |
817 |
164-0941
|
Washer 13/32 x 13/16 |
$7.38
|
2 |
|
ships same day |