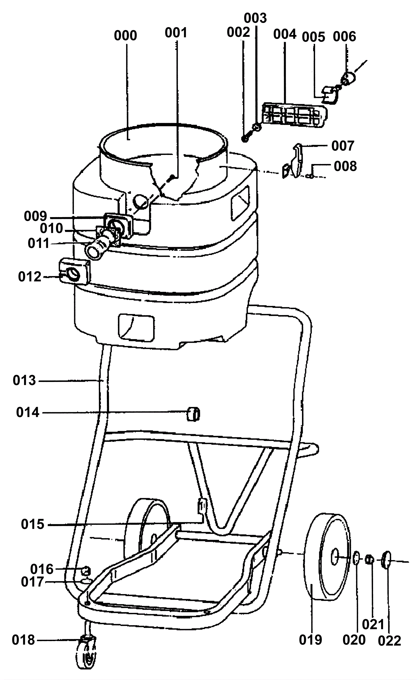
| # | Part | Description | Price | Req | Notes | Availability |
000 |
N/A
|
Not available |
Call for price
|
1 |
Not available - Foam container D20-F |
usually ships 3-26 days |
001 |
164-4835
|
Screw M5 x 35mm self tapping intake |
$1.62
|
4 |
|
usually ships 1-5 days |
002 |
164-4834
|
Screw 5 x 25 self tapping |
$2.39
|
4 |
|
usually ships 1-5 days |
003 |
N/A
|
Not available |
Call for price
|
4 |
Not available - Hinge D20-F plastic washer |
usually ships 3-26 days |
004 |
164-4930
|
Tank hinge plate (OBSOLETE) |
$2.90
|
1 |
|
usually ships 1-5 days |
005 |
164-4931
|
Hinge clamp (OBSOLETE) |
$1.65
|
2 |
|
usually ships 1-5 days |
006 |
164-4932
|
Rubber stop, hinge (OBSOLETE) |
$0.99
|
2 |
|
usually ships 1-5 days |
007 |
164-4828
|
Lid clamp (Designer) |
$18.46
|
2 |
|
usually ships 19-25 days |
008 |
164-4837
|
Lid clamp rivet |
$6.92
|
4 |
|
usually ships 19-25 days |
009 |
164-4908
|
Plastic intake |
$17.82
|
1 |
|
usually ships 19-25 days |
010 |
164-4913
|
Intake deflector |
$4.82
|
1 |
|
usually ships 1-5 days |
011 |
164-4907
|
Intake gasket |
$9.04
|
1 |
|
usually ships 19-25 days |
012 |
164-4933
|
Intake support |
$6.49
|
1 |
|
usually ships 19-25 days |
013 |
164-4934
|
Tip handle and base |
Call for price
|
1 |
|
usually ships 1-5 days |
014 |
N/A
|
Not available |
Call for price
|
2 |
Not available - Tip handle D20-F spacer ring |
usually ships 3-26 days |
015 |
N/A
|
Not available |
Call for price
|
1 |
Not available - Tip base D20-F plastic cap |
usually ships 3-26 days |
016 |
164-4844
|
Nut cap (OBSOLETE) |
$6.71
|
2 |
|
usually ships 1-5 days |
017 |
164-4846
|
Washer M10 caster (OBSOLETE) |
$0.99
|
2 |
|
usually ships 1-5 days |
018 |
164-4843
|
Threaded stem caster |
$38.20
|
2 |
|
usually ships 1-5 days |
019 |
164-4935
|
Rear wheel |
$62.30
|
2 |
|
usually ships 1-5 days |
020 |
164-4845
|
Washer 10 x 30 wheel (OBSOLETE) |
$1.45
|
2 |
|
usually ships 1-5 days |
021 |
164-4844
|
Nut cap (OBSOLETE) |
$6.71
|
2 |
|
usually ships 1-5 days |
022 |
164-4936
|
Wheel cap (OBSOLETE) |
$2.11
|
2 |
|
usually ships 1-5 days |