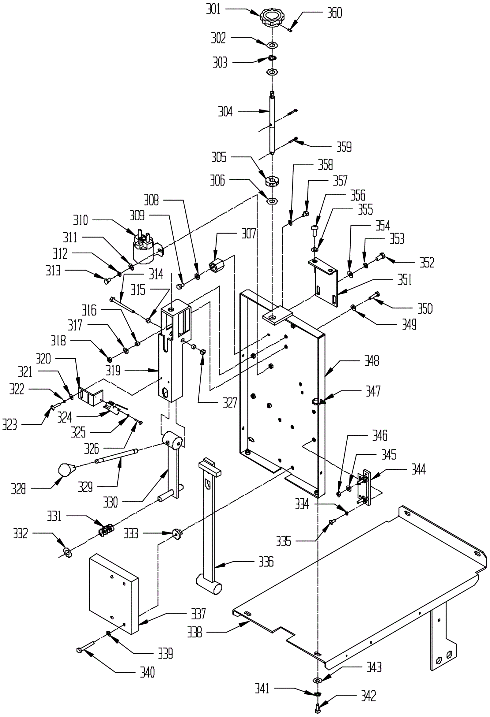
# | Part | Description | Price | Req | Notes | Availability |
301 |
164-3025
|
Knob |
$22.66
|
1 |
(includes set screw) |
usually ships 19-25 days |
302 |
164-9072
|
Flat washer (pkg of 5) |
$6.33
|
2 |
|
usually ships 19-25 days |
303 |
164-5182
|
Washer 1/2 bowed |
$7.38
|
1 |
|
usually ships 19-25 days |
304 |
164-6278
|
Adjustment rod |
$72.44
|
1 |
|
usually ships 1-5 days |
305 |
164-6280
|
Collar |
$21.62
|
1 |
|
usually ships 1-5 days |
306 |
164-0941
|
Washer 13/32 x 13/16 |
$7.38
|
1 |
|
ships same day |
307 |
164-0310
|
Insulated stand off |
$13.66
|
1 |
|
usually ships 19-25 days |
308 |
999-0017
|
Washer 1/4 external star lock |
$0.99
|
1 |
|
usually ships 16-20 days |
309 |
999-0019
|
Bolt 1/4-20 x 5/8 hex head grade 5 zinc plated |
$0.99
|
1 |
|
ships same day |
310 |
164-0027
|
36V solenoid contactor |
$248.92
|
1 |
|
usually ships 19-25 days |
311 |
999-0335
|
Washer 1/4 x 5/8 SAE flat stainless steel |
$0.99
|
2 |
|
ships same day |
312 |
999-0060
|
Washer 1/4 split lock plain finish |
$0.99
|
2 |
|
ships same day |
313 |
999-0018
|
Bolt 1/4-20 x 1/2 hex cap grade 5 zinc plated |
$0.99
|
2 |
|
ships same day |
314 |
999-1187
|
Bolt 1/4-20 x 2 1/2 hex head stainless steel |
$2.22
|
1 |
|
ships same day |
315 |
164-0136
|
Bushing |
$3.20
|
2 |
|
ships same day |
316 |
164-0136
|
Bushing |
$3.20
|
2 |
|
ships same day |
317 |
999-0335
|
Washer 1/4 x 5/8 SAE flat stainless steel |
$0.99
|
2 |
|
ships same day |
318 |
999-0152
|
Nut 1/4-20 nylon insert lock zinc plated |
$0.99
|
2 |
|
ships same day |
319 |
164-6276
|
Adjustment bracket |
$210.08
|
1 |
|
usually ships 19-25 days |
320 |
164-3031
|
Switch bracket |
$19.09
|
1 |
|
usually ships 19-25 days |
321 |
164-9190
|
Washer #10-7/32 x 1/2 flat (pkg of 10) |
$5.89
|
2 |
|
usually ships 19-25 days |
322 |
999-0053
|
Washer #10 split lock plain finish |
$0.99
|
2 |
|
ships same day |
323 |
164-9765
|
Screw #10-24 x 1 1/4 inch round head (pkg of 10) |
$5.89
|
2 |
|
usually ships 19-25 days |
324 |
164-0026
|
Snap switch |
$38.20
|
1 |
|
usually ships 19-25 days |
325 |
999-0148
|
Washer #6 external star lock zinc plated |
$0.99
|
2 |
|
ships same day |
326 |
999-0656
|
Screw #6-32 x 7/8 pan head phillips zinc plated |
$0.99
|
2 |
|
ships same day |
327 |
999-0152
|
Nut 1/4-20 nylon insert lock zinc plated |
$0.99
|
2 |
|
ships same day |
328 |
164-3034
|
Knob |
$19.61
|
1 |
|
usually ships 19-25 days |
329 |
164-3093
|
Handle latch |
$23.54
|
1 |
|
usually ships 1-5 days |
330 |
164-6268
|
Latch assembly |
$178.41
|
1 |
|
usually ships 19-25 days |
331 |
164-3022
|
Compression spring |
$8.28
|
1 |
|
usually ships 19-25 days |
332 |
164-9072
|
Flat washer (pkg of 5) |
$6.33
|
2 |
|
usually ships 19-25 days |
333 |
164-3032
|
Spacer guide |
$6.41
|
4 |
|
usually ships 19-25 days |
334 |
999-0053
|
Washer #10 split lock plain finish |
$0.99
|
2 |
|
ships same day |
335 |
999-0231
|
Screw 10-24 x 1/2 round head slotted zinc plated |
$0.99
|
2 |
|
ships same day |
336 |
164-6282
|
Catch assembly |
$249.23
|
1 |
|
usually ships 19-25 days |
337 |
164-6374
|
Panel |
$147.29
|
1 |
|
usually ships 1-5 days |
338 |
164-6363
|
Base- non variable speed (OBSOLETE) |
$130.35
|
1 |
|
usually ships 1-5 days |
339 |
999-0060
|
Washer 1/4 split lock plain finish |
$0.99
|
4 |
|
ships same day |
340 |
999-0258
|
Bolt 1/4-20 x 2 hex head grade 5 zinc plated |
$0.99
|
4 |
|
ships same day |
341 |
999-0028
|
Washer 5/16 split lock plain finish |
$0.99
|
2 |
|
ships same day |
342 |
999-0556
|
Bolt 5/16-18 x 3/4 hex head stainless steel |
$0.99
|
2 |
|
ships same day |
343 |
164-9775
|
Washer (pkg of 10) |
$12.06
|
2 |
|
usually ships 19-25 days |
344 |
164-3029
|
Shunt |
$74.97
|
1 |
|
usually ships 19-25 days |
345 |
999-0017
|
Washer 1/4 external star lock |
$0.99
|
2 |
|
usually ships 16-20 days |
346 |
999-0190
|
Nut 1/4-20 hex plain finish |
$0.99
|
2 |
|
ships same day |
347 |
164-4612
|
Wire tie |
$7.38
|
6 |
|
usually ships 19-25 days |
348 |
164-6461
|
Frame weldment (OBSOLETE) |
$190.47
|
1 |
|
usually ships 19-25 days |
349 |
999-0017
|
Washer 1/4 external star lock |
$0.99
|
2 |
|
usually ships 16-20 days |
350 |
164-9825
|
Bolt 1/4-20 x 1 hex head (pkg of 10) |
$8.09
|
2 |
|
usually ships 19-25 days |
351 |
164-3027
|
Top support bracket (OBSOLETE) |
$25.41
|
1 |
|
usually ships 1-5 days |
352 |
999-0556
|
Bolt 5/16-18 x 3/4 hex head stainless steel |
$0.99
|
2 |
|
ships same day |
353 |
999-0028
|
Washer 5/16 split lock plain finish |
$0.99
|
2 |
|
ships same day |
354 |
164-9775
|
Washer (pkg of 10) |
$12.06
|
2 |
|
usually ships 19-25 days |
355 |
999-0024
|
Washer 5/16 flat stainless steel |
$1.34
|
2 |
|
usually ships 16-20 days |
356 |
999-0655
|
Screw 5/16-18 x 1 round head slotted zinc plated |
$0.99
|
2 |
|
ships same day |
357 |
999-0361
|
Bolt 1/4-20 x 3/8 hex head grade 5 zinc |
$4.17
|
1 |
|
ships same day |
358 |
999-0060
|
Washer 1/4 split lock plain finish |
$0.99
|
4 |
|
ships same day |
359 |
164-0743
|
Cotter pin |
$6.16
|
2 |
|
usually ships 1-5 days |
360 |
164-9087
|
Screw 10-32 x 1/4 set cup point |
$7.38
|
1 |
|
usually ships 19-25 days |