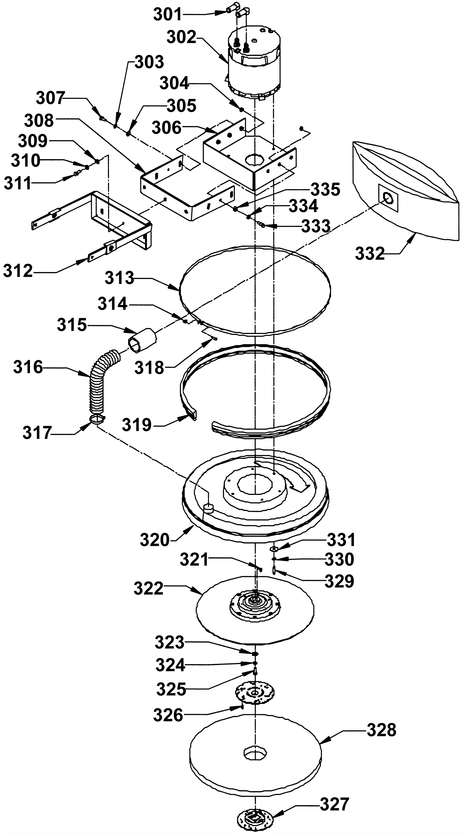
CHARGER 2500BP
Shield and Pad Driver
Click to enlarge
#
Part
Description
Price
Req
Notes
Availability
302
164-6405
36V 2500 rpm imperial motor
$1,279.23
1
usually ships 19-25 days