| # | Part | Description | Price | Req | Notes | Availability |
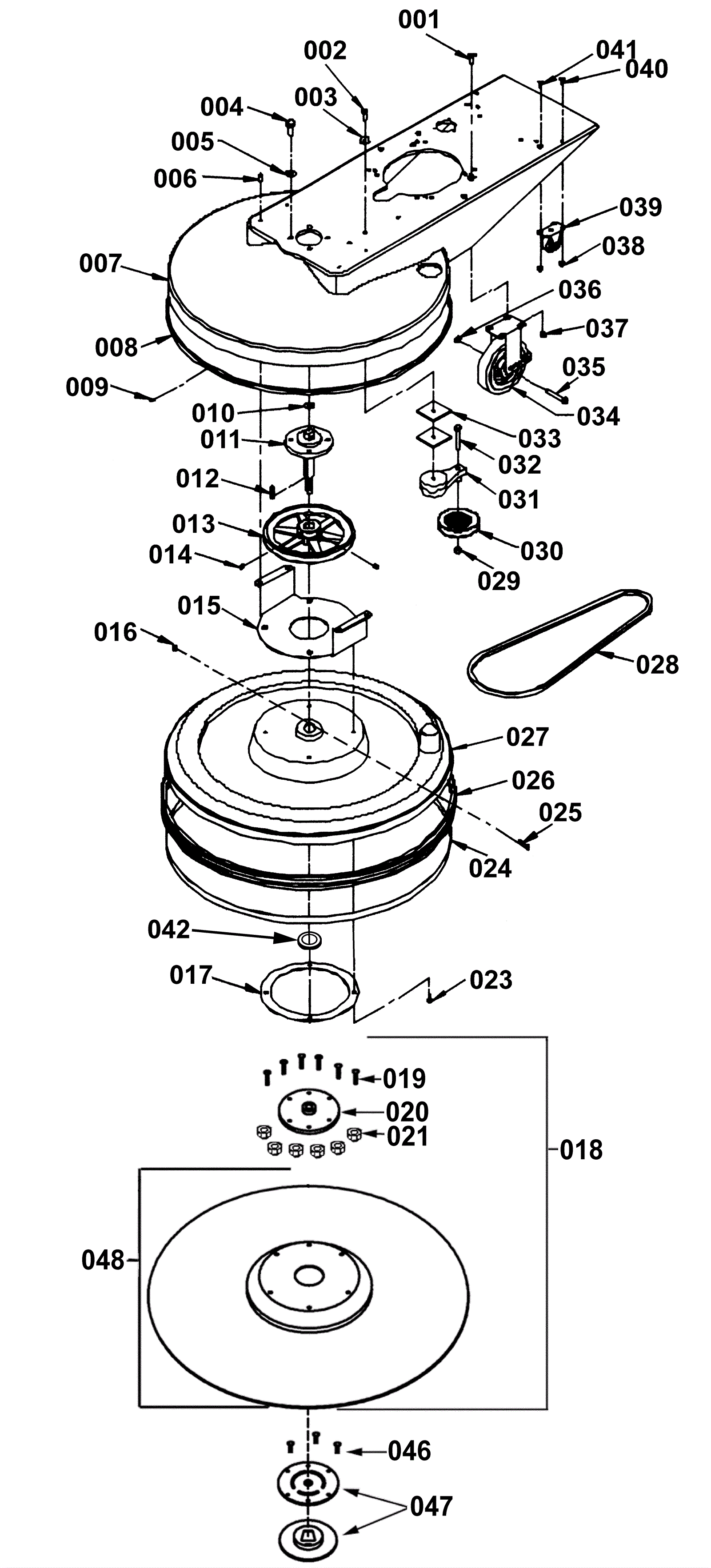
001 |
999-0546
|
Screw 5/16-18 x 1 socket head alloy plain finish |
$0.99
|
4 |
|
ships same day |
002 |
999-0039
|
Bolt 3/8-16 x 1 1/4 hex head grade 5 zinc plated |
$0.99
|
1 |
|
ships same day |
003 |
999-0035
|
Washer 3/8 x 1 1/2 fender |
$0.99
|
1 |
|
ships same day |
004a |
999-0043
|
Bolt 7/16-20 x 1 1/4 hex head grade 5 zinc plated |
$1.14
|
4 |
These bolts can only be used for the original bearing and shaft assembly. |
ships same day |
004b |
999-0397
|
Bolt 7/16-14 x 1 1/4 hex head grade 5 zinc plated |
$1.01
|
4 |
These bolts are needed when replacing the bearing and shaft assembly. The original bolts have a different thread pattern and will not work with the new part. |
ships same day |
005 |
999-0187
|
Washer 1/2 flat plain finish |
$0.99
|
4 |
|
ships same day |
006 |
999-0235
|
Screw 1/4-20 x 3/4 button head socket plain finish |
$0.99
|
4 |
|
ships same day |
007a |
164-1355
|
27 inch deck (standard) (OBSOLETE) |
$3,835.38
|
1 |
(standard) |
usually ships 1-5 days |
007b |
164-1356
|
27 inch deck (Vac-Trac) |
$1,884.80
|
1 |
(Vac-Trac) |
usually ships 1-5 days |
008 |
164-1366
|
Bumper |
$189.64
|
1 |
|
usually ships 1-5 days |
009 |
997-1000
|
Pop rivet 1/8 x 5/8 |
$0.99
|
7 |
|
ships same day |
010 |
999-0187
|
Washer 1/2 flat plain finish |
$0.99
|
1 |
|
ships same day |
011a |
164-1367
|
Front bearing and shaft assembly (standard) (OBSOLETE) |
$806.65
|
1 |
(standard) (includes 011c, 011e, 011f, and 011g) |
usually ships 10-11 days |
011b |
164-1372
|
27 inch front bearing and shaft assembly (Vac-Trac) |
$636.85
|
1 |
(Vac-Trac) (includes 011d, 011e, 011f, and 011g) |
usually ships 10-12 days |
011c |
164-1369
|
27 inch driven shaft (standard) (OBSOLETE) |
$332.68
|
1 |
(standard) |
usually ships 1-5 days |
011d |
164-9024
|
27 inch driven shaft (Vac-Trac) (OBSOLETE) |
$435.66
|
1 |
(Vac-Trac) |
usually ships 19-25 days |
011e |
160-0069
|
Front bearing housing |
$161.04
|
1 |
|
ships same day |
011f |
997-2201
|
1 inch external snap ring |
$0.99
|
2 |
|
ships same day |
011g |
991-1506
|
Sealed ball bearing 6205 |
$29.94
|
2 |
|
usually ships 3-28 days |
011g |
991-2202
|
Big mouth pad holder set (blue) |
$42.60
|
2 |
(NON-OEM) |
ships same day |
011h |
991-8577
|
Pad retainer |
$23.04
|
2 |
(NON-OEM) |
ships same day |
012 |
164-1373
|
Square keyway |
$12.49
|
1 |
|
usually ships 16-20 days |
013 |
164-1776
|
Pulley |
$373.45
|
1 |
|
usually ships 1-5 days |
014 |
999-0668
|
Screw 5/16-18 x 3/8 socket knurled point set plain finish |
$0.99
|
2 |
|
ships same day |
015 |
164-1375
|
Flexiwall shield mount (Vac-Trac) (OBSOLETE) |
$207.94
|
1 |
(Vac-Trac) |
usually ships 1-5 days |
016 |
999-0211
|
Nut 5/16-18 hex nylon insert lock zinc plated |
$0.99
|
1 |
|
ships same day |
017 |
164-1376
|
Flexiwall shield mounting ring (Vac-Trac) |
$173.97
|
1 |
(Vac-Trac) |
usually ships 1-5 days |
018 |
996-5062
|
27 inch complete pad driver assembly for dust control models |
$181.60
|
1 |
(includes 019-021 and 048) |
usually ships 3-26 days |
019 |
999-0031
|
Bolt 5/16-18 x 1 hex head grade 5 zinc plated |
$0.99
|
6 |
|
ships same day |
021 |
999-0069
|
Nut 5/16-18 hex |
$0.99
|
6 |
|
ships same day |
023 |
999-0383
|
Screw 1/4-20 x 1/2 button head socket cap plain finish |
$0.99
|
4 |
|
ships same day |
024 |
164-3105
|
27 inch bumper strap |
$116.67
|
1 |
|
usually ships 19-25 days |
025 |
999-0009
|
Screw 10-24 x 1 round head slotted zinc plated |
$0.99
|
1 |
|
ships same day |
026 |
164-3106
|
27 inch bumper (OBSOLETE) |
$193.22
|
1 |
|
usually ships 19-25 days |
027a |
164-1570
|
27 inch flexiwall shield assembly (Vac-Trac) |
$818.18
|
1 |
(Vac-Trac)(includes 164-3212, 164-3105, and 164-3106) |
usually ships 19-25 days |
027b |
164-3212
|
Flexiwall shield (Vac-Trac) |
$533.72
|
1 |
(Vac-Trac) |
usually ships 1-5 days |
028 |
991-0021
|
BX56 belt |
$56.86
|
1 |
|
ships same day |
029 |
999-0188
|
Nut 3/8-16 nylon insert lock zinc plated |
$0.99
|
1 |
|
ships same day |
030 |
160-0030
|
Idler pulley with belt tensioner |
$168.81
|
1 |
|
ships same day |
031 |
160-0030
|
Idler pulley with belt tensioner |
$168.81
|
1 |
|
ships same day |
032 |
999-0390
|
Bolt 3/8-16 x 2 1/2 hex hd grade 5 zinc plated |
$1.19
|
1 |
|
ships same day |
033 |
N/A
|
Not available |
Call for price
|
2 |
Tensioner arm spacer |
usually ships 3-26 days |
034a |
160-0062
|
6 inch caster wheel with bracket (standard) |
$143.87
|
2 |
(standard) (includes 034c, 035a, 035b, and 036) |
ships same day |
034b |
164-1389
|
6 inch caster wheel with bracket (Vac-Trac) (OBSOLETE) |
$543.86
|
2 |
(Vac-Trac) (includes 034c, 035a, 035b, and 036) |
usually ships 3-26 days |
034c |
164-1389
|
6 inch caster wheel with bracket (Vac-Trac) (OBSOLETE) |
$543.86
|
2 |
|
usually ships 3-26 days |
034d |
164-7988
|
VAC-TRAC wheel bracket |
$196.56
|
2 |
|
usually ships 1-5 days |
034e |
991-7004
|
Thread guard |
$1.73
|
2 |
|
usually ships 14-20 days |
035a |
991-7005
|
Axle |
$6.86
|
2 |
|
usually ships 14-20 days |
035b |
164-1388
|
Wheel bearing kit |
$31.16
|
2 |
|
usually ships 14-20 days |
036 |
999-0247
|
Nut 3/8-16 hex jam plain finish |
$0.99
|
2 |
|
ships same day |
037 |
999-0211
|
Nut 5/16-18 hex nylon insert lock zinc plated |
$0.99
|
4 |
|
ships same day |
038 |
999-0152
|
Nut 1/4-20 nylon insert lock zinc plated |
$0.99
|
4 |
|
ships same day |
039 |
181-1282
|
2 inch caster wheel (OBSOLETE) |
$31.14
|
2 |
|
usually ships 10-12 days |
040 |
999-0235
|
Screw 1/4-20 x 3/4 button head socket plain finish |
$0.99
|
2 |
|
ships same day |
041 |
999-0326
|
Screw 1/4-20 x 3/4 flat head phillips zinc plated |
$0.99
|
2 |
|
ships same day |
042 |
N/A
|
Not available |
Call for price
|
1 |
Spacer |
usually ships 3-26 days |
046 |
999-1296
|
Screw 12 x 5/8 pan head phillips |
$0.99
|
3 |
|
ships same day |
047 |
991-2201
|
Center-Lok II pad holder - right hand thread (black) |
$39.08
|
1 |
|
ships same day |
048a |
996-5059
|
27 inch flex and riser assembly |
$163.44
|
1 |
|
ships same day |
048b |
264-0305
|
27 inch pad driver complete (OBSOLETE) |
$675.87
|
1 |
|
usually ships 19-25 days |
N/S |
164-1380
|
Flange (OBSOLETE) |
$91.58
|
1 |
|
usually ships 19-25 days |